Bonjour,
Je recherche un schéma d"un ampli à 2 lampes type batterie.
Merci d’avance pour votre aide.
Bonne soirée.
Anciennes ou modernes les lampes batterie ?
ampli BF ou HF ?
quelle puissance ?
Bonjour à vous Blanco,
Sur CFP radio, il y a un récepteur 2 lampes batterie type knock-out de 1924, je n’ai pas réussi à copier le lien direct.
https://www.cfp-radio.com rubrique réalisations
Rectif, mince pas vu le mot ampli dans la demande…
A+
Bonjour,
Merci pour votre aide.
Il s’agit d’un ampli avec deux tubes type A410 pour de la BF.
Bonne journée.
En liaison par transformateurs je suppose ?
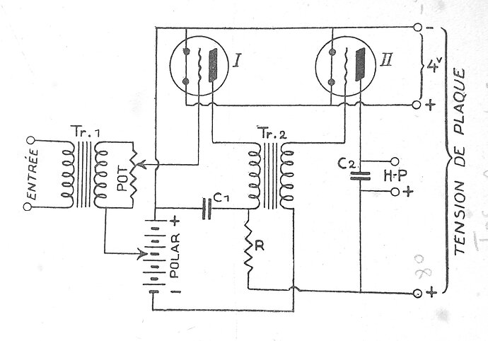
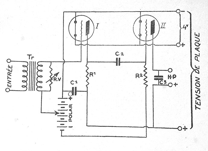
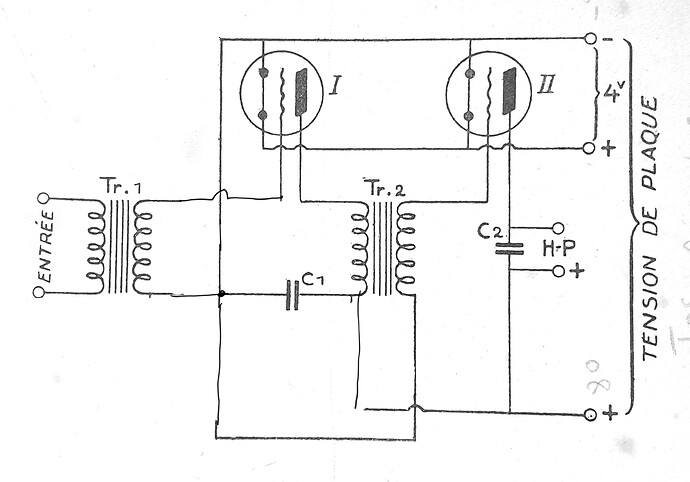
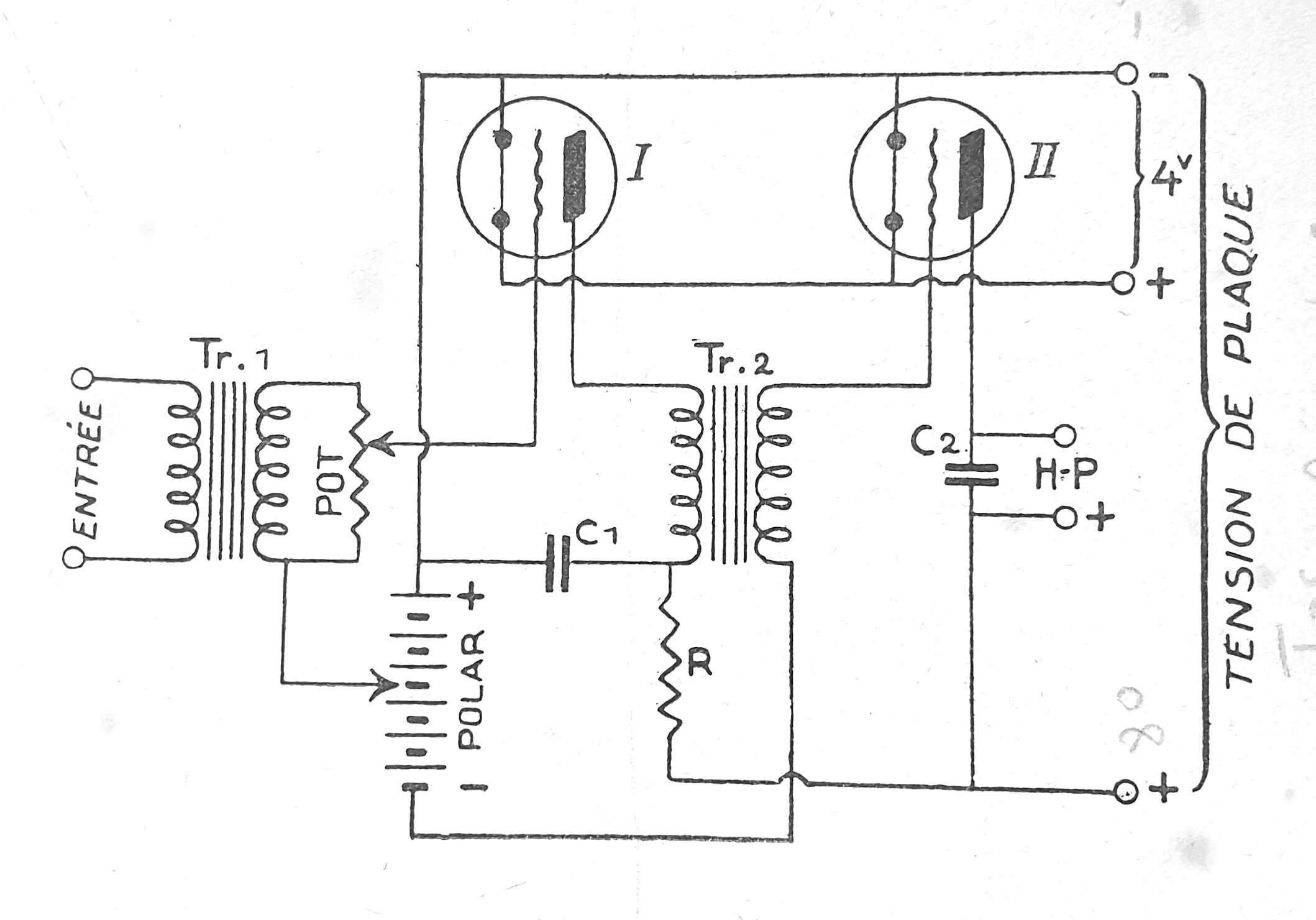
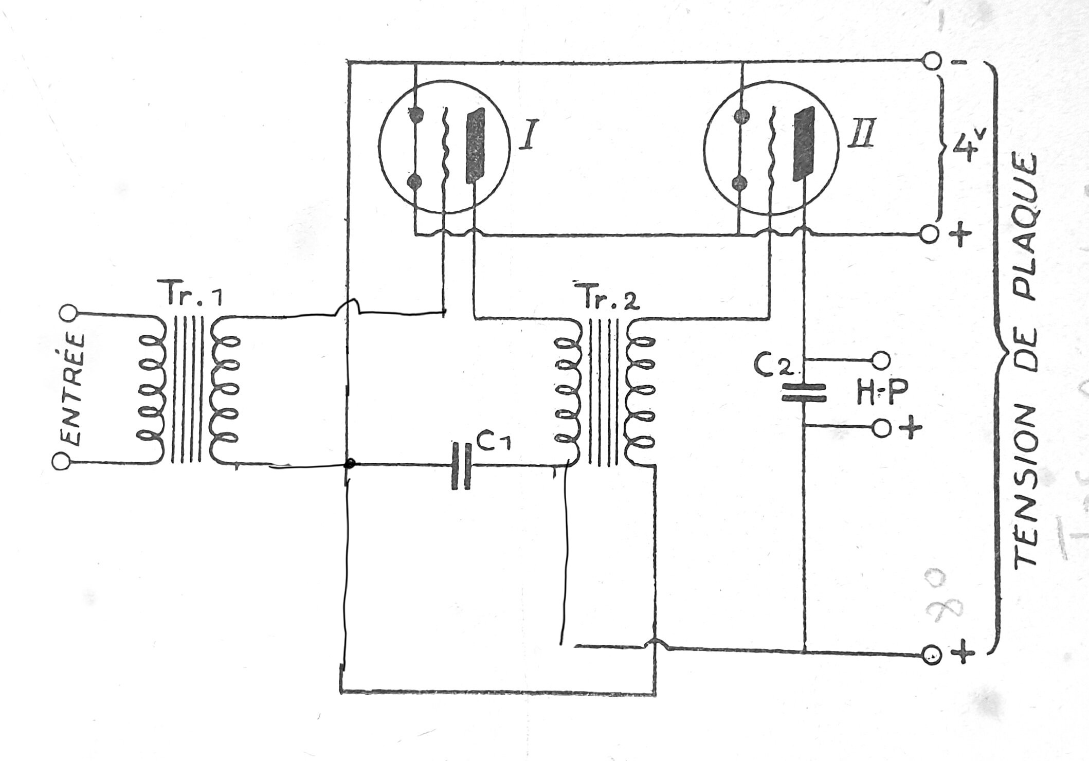
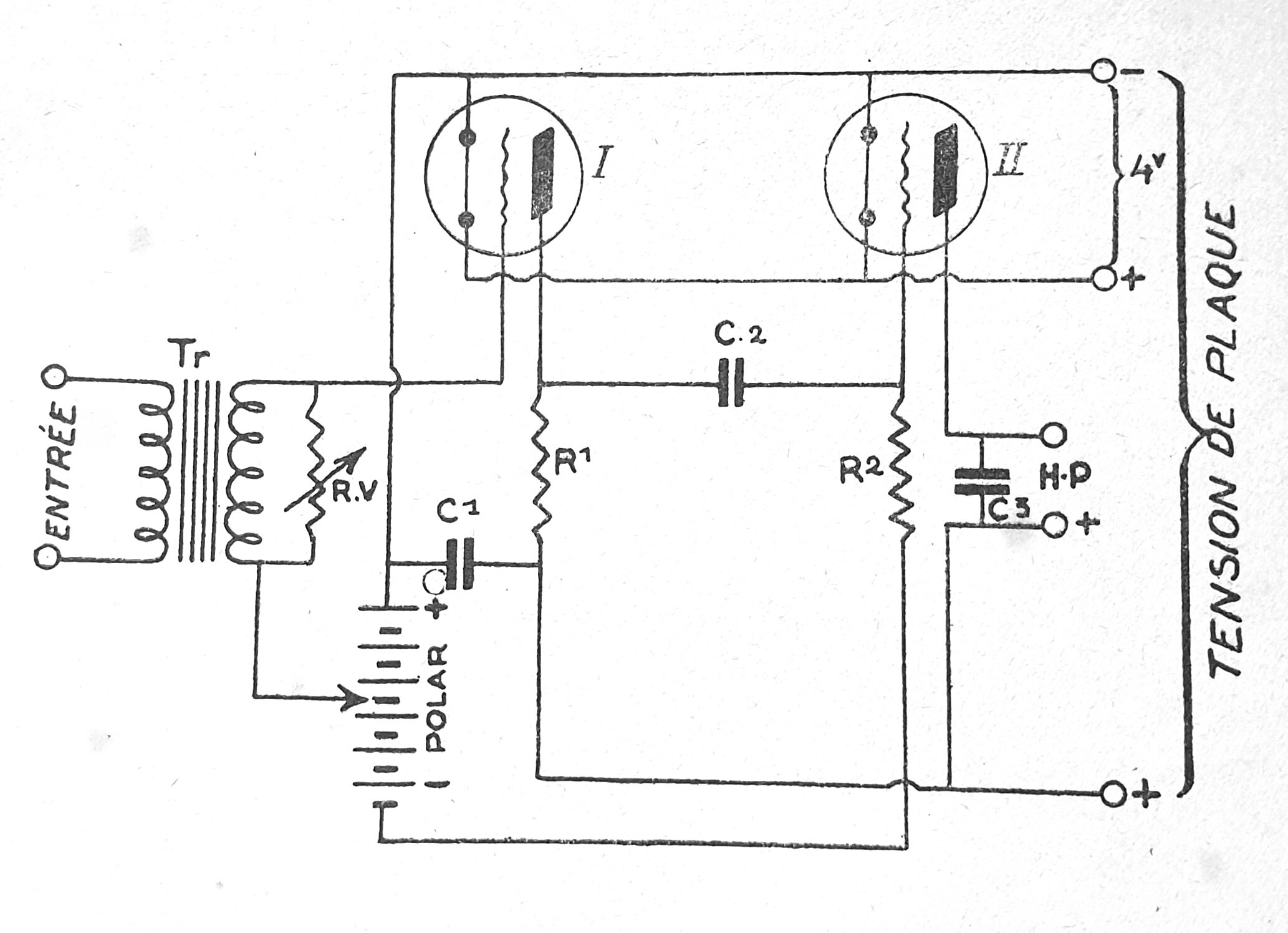
Voici deux schémas :
- Avec liaisons par transformateurs :
- Avec liaisons par résistances et capacités :
La polarisation n’est pas nécessaire si on utilise des A410, il suffit de faire le retour de la connexion grille au (-) du filament comme les schémas mais en supprimant la pile de polarisation.
Les A410 ne conviennent pas bien pour une liaison RC, il serait mieux de choisir des A425 ou A435 dans ce cas comme conseillé dans la description.
Le potentiomètre n’est pas indispensable non plus.
Bonjour de bon matin,
Un petit coup d’œil sur la puissance pour compléter les options de schéma avec triode(s).
Les fiches disponibles pour les lampes A410, A409 ne donnent pas la puissance maxi de l’anode.
Quant aux courbes, en extrapolant un peu, si 160V en alim comme préconisé, avec Vg -8V, on tombe sur 8mA, soit 1,2-1,5W en puissance plaque au repos pour les A409-A410. C’est l’ordre de grandeur à respecter? Avec ça, la puissance au HP, ne pas espérer plus que 20mW…
C’est pour ça que dans les préconisations additionnelles, dans les 2 schémas, la consigne est d’utiliser une lampe de puissance autre que les triodes générales pour l’étage final. Dit autrement, 2 A410, c’est une mauvaise idée…
A suivre
Oui, normalement il faut utiliser une B406 dans l’étage final avec une pile de polarisation de 4,5 volts.
Mais cela fonctionne également avec deux A410 avec moins de « puissance » si on peut appeler cela ainsi avec un montage de cette époque … ![]()
Bonjour,
Merci pour la communication de vos informations.
Pour info, liaisons par transformateurs.
Dans un premier temps, je fais le montage avec 2 A409/410.
Si le résultat n’est pas concluant, je monte une lampe de puissance pour l’étage final avec des adaptations à réaliser pour loger la pile de polarisation.
Bonne journée.
Bonjour .


Bonjour,
Merci pour les renseignements complémentaires.
J’ai fait les essais avec en sortie une lampe type A409 et une de type B406.
Le montage avec la B406, entraîne le montage d’un rhéostat dans le circuit d’alimentation des filaments pour régler la puissance au HP.
Encore merci à vous pour votre aide.
Bonne journée.
Doctsf (Modèles & Marques)
Annonces 



