Bonjour,
On a sur le GL une bonne soixantaine de radio & phonos répertoriés sur une période allant de fin années 20 à fin années 50.
Peu de documentations et aucun téléviseur répertoriés.
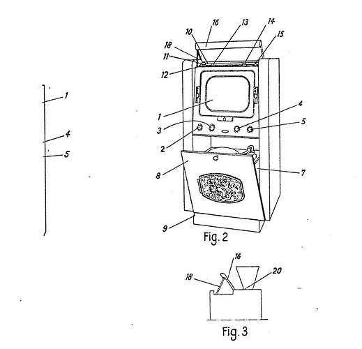
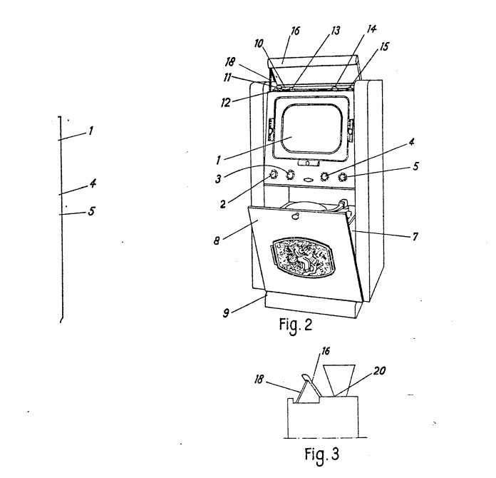
J’ai trouvé le dépôt de brevet qui suit (1953)sur un ensemble Téléviseur-Radio-Phono.
La particularité avancée est le châssis radio sur la partie supérieure à hauteur d’homme.
Peut-être les spécialistes en TV et consoles auront déjà vu cet ensemble quelque part? ![]()
Bonne lecture
Bonne semaine
Cliquer 2x sur les images
Doctsf (Modèles & Marques)
Annonces 



