Pourriez-vous faire des photos d’ensemble depuis la face avant et arrière, avec le capot ?
et la liste exacte des tubes faciliterait les recherches…
Bonjour,
Une recherche par image m’a mené vers cette platine/ampli, mais dont la marque semble erronée.
Cela semble plus proche de la marque « Avialex », fabriquant de platine et autre engins sonores.
Dans le GL, il y a des tuners dont cette face avant ronde ressemble beaucoup:
https://www.doctsf.com/avialex-54-700/f27221
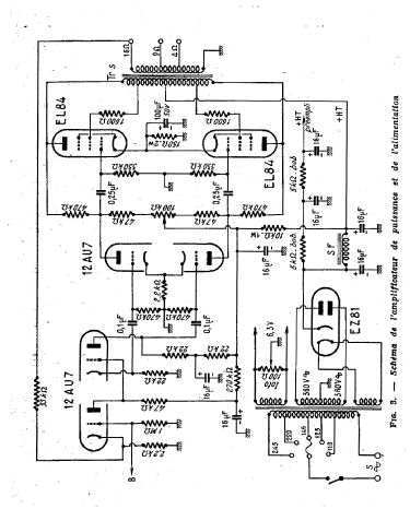
Mais surtout ici on trouve un ampli de la marque qui possède le même étage de puissance (inverseur de phase - PP d’EL84 et transfo de sortie) ainsi qu’un préampli avec toujours cette face avant arrondie, en plus de la même étiquette.
Je pense que l’ampli qu’on a ici est donc de marque Avialex, je n’ai pas réussi à trouver le modèle, il faudra pour ça fouiller dans les archives de magazines de l’époque.
Arthur
C’est bien le mem etiquette
Bonsoir,
oui effectivement la face avant ressemble énormément à un Avialex, ainsi que les transfos, l’étiquette et les ressorts de blocage aussi des lampes. Je n’ai trouvé aucune information Avialex sur les parties de carter. Je n’ai pas trouvé non plus de modèle d’ampli Avialex correspondant exactement au mien.
Vous trouverez des photos du dessous de l’ampli : circuit propre…
Pour les lampes, il y en a bien 6 : 2 12AU7, 1 EZ81 et 2 EL84. La dernière est protégée par un cache que je n’ai pas réussi a enlever sans trop forcer…
Dommage aussi pour les transfos, aucune information sur les 3.
A cette époque(50-60), on pouvait se faire des kits d’ampli à monter. il y avait des informations dans les revues de l’époque pour ca.
Les dimensions du carter, les lampes, le fait qu’il n y ait pas de marque, vont dans ce sens.
Millerioux(Merci Americanradio), proposait des kits avec ses transfos (Williamson, Mullard et Loyez). Vous trouverez la doc Millerioux Voir Millerioux divers BF.
Il y a certaines similitudes à l’ampli H5 de Beaumarchais.
A cette epoque , tous les amplis en kit se ressemblaient , on a pratiquement les memes chez Recta , Teral et bien d’autres
Merci pour les photos mais elles sont floues
Le TS serait un LIE-Belin plutôt , à cause des 4 trous au dessus , les Millerioux n’étaient pas percés ainsi …
Les dimensions de la platine : L=380 x l=115 x h=30 mm.
Le capot a 3 vis de chaque coté. La platine est fixée sur le carter par 3 vis aussi.
Doctsf (Modèles & Marques)
Annonces 










