Multimètre METRIX MX462 - [REGLE]

Bonsoir,

Ayant un Métrix 462 dans mon stock, j'ai vu qu'il n'a plus son connecteur de piles, mais juste la petite trappe.

j'ai cherché et vu sur internet qu'il devrait y avoir une pile de (15 V ?), et 1,5 V, puis un post avec 1 pile de 9 V ?

(Les photos ne sont pas du mien. le mien a des prises protégées, en puits, et doit être plus récent).

Avez-vous connu ce cas ? et surtout pu modifier si besoin ?

Merci de votre aide,   Bonne soirée,  Domi

Bonjour ou bonsoir selon,

sauf erreur de ma part il existe au moins trois versions du Metrix 462:

  • Le 462 E (noir) qui utilise une pile de 15V et une autre de 1,5V

  • Le 462 BM (gris) qui réclame les mêmes piles de 15V et de 1,5V

  • Le 462 H (noir) qui utilise une pile de 9V à la place de celle de 15V + une autre de 1,5V

A part l’étiquette du constructeur et l’inscription sur le fond du galva la connectique typique de la pile 9V à boutons pressions permet de les différencier à coup sûr :slight_smile:

Salutations

P.S: Pour le mien qui est un BM plutot que le modifier (j’ai horreur de faire ce genre d’hérésies) je me suis fait un empilage de piles bouton, la conso est tellement faible que ça dure une vie ou presque, celle des piles au moins :wink:

php

php2

Une petite remarque : le titre de ce sujet davrait être Metrix MX462, le M462 ça n'existe pas !

Bonjourà tous,

Le controleur Métrix 462 a été commercialisé en 8 versions du 462 au 462H de 1958 à 1978

Dans les dernières versions , la pile 15v a été remplacée par une pile 9v

Les controleurs se sont appelé MX,après le rachat de Métrix par le groupe ITT en 1964

jean louis

Bonjour, J’ai encore quelques multimètres Métrix à aiguille :

  • Un (gros) MX205A

  • Un VX213B

  • Un VX313C

  • Un MX111

J’ai aussi une pince ampèremètrique, plusieurs digitaux de table de la même marque…

S’il y a des intéressés, m’écrire en MP.

Seul le VX213B ne fonctionne pas, mais le galva est bon il n’y a sans doute pas grand chose.

Cdlt,

Gérard

php

Bonsoir

 Ces appareils sont tous de la période ITT-METRIX

jean louis

Bonsoir Jean Louis

Une question à l'ancien de chez Métrix je possède le MT 215 qui ressemble comme 2 goutes d'eau au MX205, c'est  un 100KΩ/V,,C/C  ils ne sont pas marqué ITT ni l'un ni l'autre ??, c'était le plus sensible des multimètres analogiques sans ampli avec un cadre mobile à double sensibilité pour une seule échelle C/C,C/A ;;

Bonne nuit à+ 

Roger 

    

Bonsoir à tous, merci de l’aide qui nous pousse à aller plus loin;

J’ai bien suivi le post et monté une 9V sur les deux fils volants, et une 1,5 V à la bonne place. Fusible ok. Impeccable et précis en mesure de tension (même sans pile 9V), j’essaye les mesures d’intensités demain. Donc, il est post 1964, plus jeune que moi.

En Ohmmètre, il ne fonctionne pas; rien ne “pousse” l’aiguille à droite dans cette position, donc je crains devoir passer à l’ouverture… Au fait, c’est quoi le ‘gros triangle rouge’ sur le bouton gauche ?

(j’ai aussi un MT 205 ou MX 205 qui fonctionne très bien; mais je m’en sert pas, je veux pas le griller; vu l’électronique et les étages de circuits à l’intérieur)

à suivre donc; Domi

Decobert a écrit :

Bonsoir à tous, .........

............ monté une 9V sur les deux fils volants, et une 1,5 V à la bonne place. Fusible ok. Impeccable et précis en mesure de tension (même sans pile 9V), j'essaye les mesures d'intensités demain. ............

Ca fonctionnera très probablement sauf si une des résistances shunt a été grillée par une mesure incongrue dans une des vies antérieures de l'appareil. Piles inutilisées en voltmètre et ampèremètre.

En Ohmmètre, il ne fonctionne pas; rien ne "pousse" l'aiguille à droite dans cette position, ........

Je crois comprendre que le logement à pile rectangulaire possède un contact à chaque extrémité puisque vous nous dites avoir raccordé la pile 9V avec des fils volants. C'est donc que l'appareil nécessite certainement une pile de 15 Volts ce qui pourrait expliquer le non-fonctionnement en ohmmètre puisque les piles ne sont utilisées QUE dans cette fonction.

Thierry,

Avec 9 V, l'aiguille ne bouge pas en effet, mais même pas un peu. Je vais essayer avec 9 + 4.5 V demain.

Merci

Thierry_S a écrit :

C'est donc que l'appareil nécessite certainement une pile de 15 Volts ce qui pourrait expliquer le non-fonctionnement en ohmmètre puisque les piles ne sont utilisées QUE dans cette fonction.

Il faut savoir que seul le calibre "OHMS X1K" utilise la pile de 15V/9V...

Les 2 autres calibres OHMS n'utilisent que la pile 1,5V type AA.

A mon humble avis TOUS les 462 doivent pouvoir fonctionner avec 9V seulement, car aucune valeur du schéma n'est modifiée sur les modèles à pile 9V.

Donc à vérifier !

Quant à votre MX462, il semble avoir une petite panne...

Pierrot du 82 a écrit :

Il faut savoir que seul le calibre "OHMS X1K" utilise la pile de 15V/9V...

Les 2 autres calibres OHMS n'utilisent que la pile 1,5V type AA.

A mon humble avis TOUS les 462 doivent pouvoir fonctionner avec 9V seulement, car aucune valeur du schéma n'est modifiée sur les modèles à pile 9V.

Donc à vérifier !

Quant à votre MX462, il semble avoir une petite panne...

Je plussoie! Tôt ce matin j'ai tenté de poster un message qui allait dans le même sens disant qu'il me semblait bizarre qu'il n'y ait aucune déviation du galva avec une pile 9V et que ça devait révéler un petit souci mais en ignorant toutefois qu'il n'y a eu aucune modification entre les modèles à piles 15 et 9V. Le message s'est visiblement égaré dans les tuyaux d'internet.

Merci de l'info Pierrot je suis donc moins bête qu'il y a 1/4 d'heure ;)

J'y disais aussi que de toute façon une aide précieuse se trouve en principe dans le boitier sous forme du schéma du multimètre Pom-pom

Bonsoir à tous,

je commence à cerner l'affaire des piles <<Il faut savoir que seul le calibre "OHMS X1K" utilise la pile de 15V/9V... Les 2 autres calibres OHMS n'utilisent que la pile 1,5V type AA>>.  Le MX sera démonté ce weekend, je verrai ce qu'il y a au bout des fils !

En bougeant la pile 1,5 V, l'ohmètre marche pour les deux calibres.

Merci, j'avance...grace à vous

j’ai pas su attendre, la panne en photo; une trace noire sur cette résistance (bricolage précédent) qui a cassé facilement…

Le reste semble visuellement correct, dépannage dès que possible.

(à droite sur la seconde photo : 2 résistances mises en série, 100 + 10 ohms). Il n’y a pas de schéma à l’intérieur, je vais bien trouver le schéma pour vérifier cette valeur.

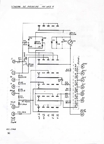
ouf !

J’ai trouvé ce schéma :

Rapidité, efficacité, merci : C'est la 113 ohms en effet. je fouille mon stock (1 Watt).

Sicoire a écrit :

Bonsoir Jean Louis

Une question à l'ancien de chez Métrix je possède le MT 215 qui ressemble comme 2 goutes d'eau au MX205, c'est  un 100KΩ/V,,C/C  ils ne sont pas marqué ITT ni l'un ni l'autre ??, c'était le plus sensible des multimètres analogiques sans ampli avec un cadre mobile à double sensibilité pour une seule échelle C/C,C/A ;;

Bonne nuit à+ 

Roger 

 

 

BonsoirRoger,

Ce sujet a déjà été débattu en 2014,

 Regarde ici :    http://www.doctsf.com/forum/viewtopic.php?f=7&t=7472&start=0

Bonne nuit Roger

jean louis

Bonjour,

j'ai une épave de 462H,j'ai déjà dépanné une personne avec des résistances.

Si besoin je peux regarder ce qui me reste.

J'ai un MT215 (origine Armée) ,il est identique au MX205,il a seulement des blindages en plus (usage militaire).

Olivier

 

Bonsoir

 Le MX462 , nest pas un 462H non

jean louis

Bien sur, puisque c'est un MX 462 H... Ange