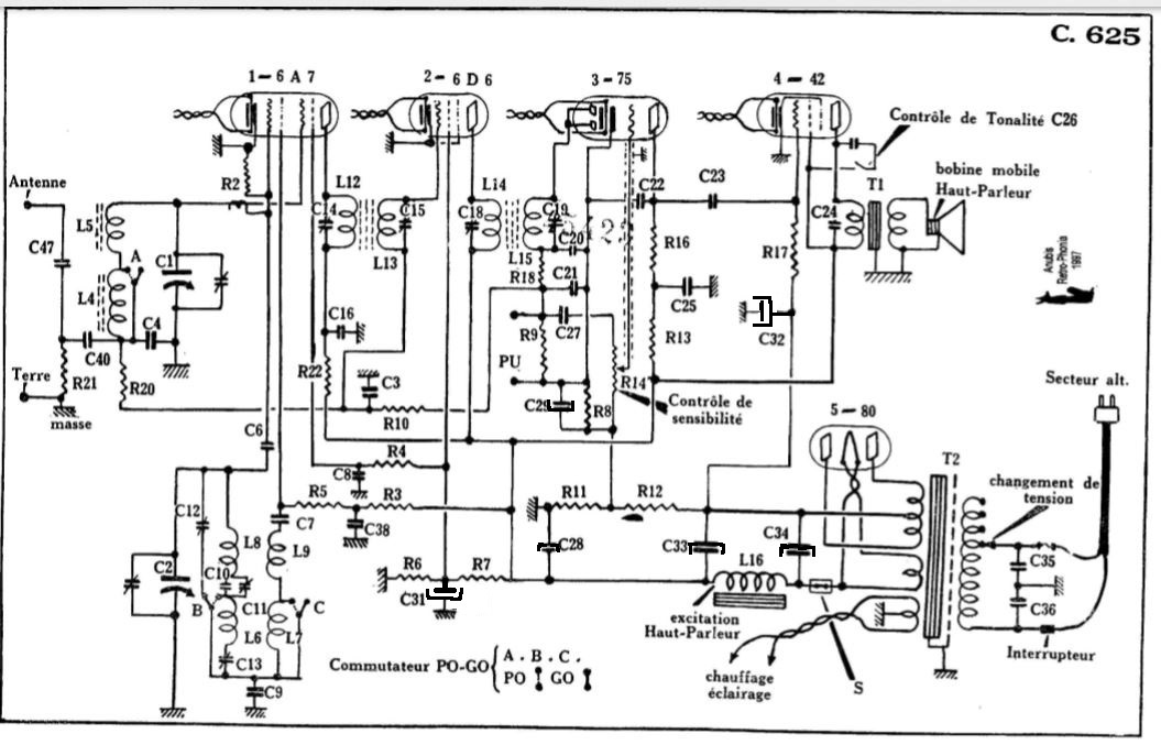
Schéma Ducretet C625 ;connexion des condensateurs chimiques

Bonjour,

Je trouve que mon C625 à une petite ronflette résiduelle indépendante du volume alors,pourriez-vous me confirmer le sens de branchement des condensateurs polarisés C29,31,32,33,34 car ce n’est pas indiqué sur le schéma de la fiche 540.

Merci d’avance.

Patrick.

a mon avis C32 n’est pas un polarisé sa valeur doit etre de 0.1µF
pour le reste je les ai indiques sur le schema
par contre attention dur ce poste la masse de la prise PU n’est pas a zero volts par rapport au chassis mais a moins qq chose

Bonjour
Plus de renseignements sur la deuxième partie du schéma : c’est un 10uF 25V avec bien sur le plus à la masse
On peut remarquer que par rapport à d’autres Ducretet de la même veine il semble y avoir eu simplification , d’habitude il est plus prudent de placer une cellule de filtrage supplémentaire pour polariser la grille de la finale et si l’on regarde le schéma il manque … R15

Bonjour,

Merci beaucoup pour vos réponnses.

D’après la liste des composants, C28 =0,1 mf 1500V; C29 = 10 mf 20V ; C32=10 mf 25V;C33=8 mf 550V;C34= 8mf 550V; pour C31, je me suis trompé car il n’est pas polarisé c’est un 0,1 mf 1500V.

Cordialement.

Patrick.

Bonjour,

J’ai vérifié mes connexions des condensateurs chimiques;tout est OK.Cependant j’ai toujours cette légère ronflette que d’ailleurs je dois avoir depuis longtemps mais que je n’avais pas remarquée à l’époque (2013) de la révision du poste C’est vrai que R15 n’est pas sur le schéma ni d’ailleurs sur la liste des composants.

Comme il s’agit d’une ronflette résiduelle indépendante du volume, je me demande en quoi consiste cette cellule de filtrage supplémentaire pour polariser le grille de la finale qui existe sur d’autres Ducretet et que je pourrais éventuellement essayer sur ce 625C?

Je viens de constater que le transformateur d’alimentation n’est pas d’origine et que le chauffage des lampes ne comporte pas de point milieu relié à la masse comme sur celui qui est indiqué sur le schéma.

Cordialement.

Patrick.

Bonjour
Vous pouvez essayer d’insérer une résistance de 47k dans la liaison entre C32 et C33 ca peut aider , on peut l’appeler R15 !
Sur un autre forum JCJ avait fait une étude sur la place du condensateur de découplage de la polar et ses conséquences sur la ronflette cela avait été decrit également par Aisberg dans un numéro de « toute la radio » mais je ne me souviens plus duquel

pour relier a la masse le point milieu de l’enroulement chauffage il suffit de créer in point milieu ficif .
2 résistances de 47 ohms connectées chacune a un des fils du chauffage et on les met a le masse de l’autre cote. ( valeur non critique en 33 et 100 c’est bon)

Bonne nouvelle,il n’y a plus de ronflette.La création de “R15” n’a rien donné mais c’est la création du point milieu fictif du circuit de chauffage des lampes qui a éliminé complètement ce ronflement .J’avais lu il y a longtemps dans “La radio mais c’est très simple” un chapitre consacré aux problèmes d’équilibre du chauffage des filaments des lampes surtout en ce qui concerne les redresseurs à chauffage direct;je ne sais pas si cela a un rapport avec mon ancien ronflement.

J’ai mis deux résistances de 47 Ohms de 1 WATT qui ne chauffent pas;je pense que leur puissance est suffisante;j’ai laissé “R15” de 47K.

Merci encore messieurs pour vos réponses qui m’ont permis de résoudre ce problème…

Patrick.

piussance dissipée dans les résistances
calcul du courant dans les résistances I =U/R = 6.3/( 47+47) = 0.067A
puissance dissipée dans les deux résistances P=U*I = 6.3* 0.067 = 0.422 W

comme les deux résistances sont egales elle se partagent équitablement la dissipation soit
: 0.422/2 = 0.211 W

des 1/4 W aurait suffi

Merci pour cette précision.Dans le livre “La radio mais c’est très simple” la tension “U” est exprimée par la lettre “E”;à l’école nous avons appris la loi d’ Ohm avec également la lettre “U”…

C’est surtout sur des postes très anciens que l’on rencontre ces enroulements de chauffage avec un point milieu;cela a donc une sacrée importance de pouvoir simuler cet équilibre le cas échéant.

E est l’ancienne notation et comme le livre a un age certain………

Merci pour cette indication.
Autant dans cette loi “R” signifie résistance ou résistor ;“I” intensité ou intensity mais le “E” puis le “U” pour la tension je ne vois pas …

E était la designation d’Electromoteur
seulement cela risquait d’etre confondu avec E designation de l’energie et on ne pouvait pas retenir V deja utilise pour la vitesse ……
lors du passage du système CGS au système SI MKSA il a été decidé de revoir la codification de certaines abréviations pouvant preter a confusion surtout dans les équations aux dimensions

Merci pour cette réponse.