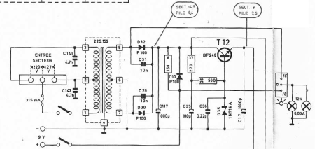
Schéma SCHNEIDER SR 800 - 1186

Bonsoir à tous,

j’ai trouvé un magnifique poste à transistors SCHNEIDER SR 800-1186 dans un bel état, très propre dans sa sacoche cuir. 4 gammes, PO GO OC et FM, transistors genre BF 233 et AC 181, résistance ajustable noire MATERA “crête de coq”, certains se souviennent certainement !!!

En FM le CAF décale l’accord, et en AM très peu de sensibilité. Avant de chercher à le réaligner j’aurais bien voulu trouver un schéma. Alors si l’un de vous a çà sous la main ???

Merci et bonne soirée.

bonsoir
le schéma du SR800 de schneider est sur le CD N°7 du club " radiofil"
donc postez voir sur le site de '" radiofil ", p’têt ben qu’une bonne âme le partagera en doc jointe .

sinon ici
schemas-technique.com/schneider_vintage.htm
mais pas gentil le monsieur , partage pas

bonne soirée

christian

Bonsoir,

Si adresse mail par mp, j’envoie le schéma + doc. du Schneider SR 800 2.37 Mo 4 pages.
Cordialement,

François rfl 4728

Bonsoir,
Je suis nouveau sur ce forum. Je viens de ressortir mon schneider sr 800 acheté en 1972 et je suis intéressé par cette doc. Votre offre est-elle encore valable?
Cordialement

Bonjour et bienvenue chez les fans d’antiquités électronique
Le schéma du SR800 est disponible sur Doctsf (appelé aussi le Grand Livre ou GL )

Merci infiniment pour ces éléments et pour avoir répondu aussi rapidement. Par ailleurs, savez-vous où trouver le câble d’alimentation car il a cette particularité d’avoir une position 110V et 220V? ou existe-t-il une astuce en remplacement de cette prise?
Cordialement

Je ne pense pas que l’on puisse trouver de nos jours ce cordon d’alimentation.
Il faudra bricoler un cordon en se fiant au schéma

J’aurais dû mieux regarder le schéma. Je me ferai ça cet été. Merci encore pour votre aide.
Bien cordialement

1 « J'aime »