Bonjour a tous recherche du brochage du transistor de puissance BY1-1 et son équivalence
Cordialement F6GGZ
En cherchant BYI-1, on trouve le bon résultat.
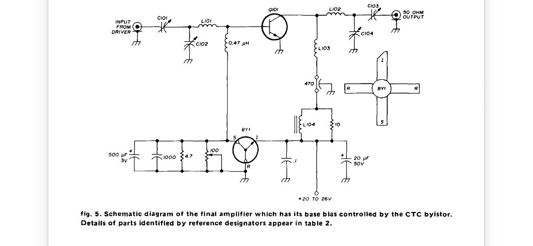
Manifestement, c’est un circuit de régulation thermique pour un transistor RF de puissance.
La polarisation du transistor ampli RF est ajustée en fonction de sa température de boitier.
Bonjour a tous
Merci Blaireau pour la doc mais le remplacé par quoi ? il est placé dans un ampli hf d’un transceiver FT301D
F6ggz
Par lui-même!
Difficile de mettre autre chose…
La diode interne a les mêmes caractéristiques thermiques que le transistor qu’elle protège.
D’autre part, ce composant est assez particulier, et prévu pour éviter la montée en température du transistor qui suit.
Dans le temps, on utilisait une diode en contact avec la céramique du PA, laquelle en chauffant voyait son seuil de conduction se réduire, abaissant par la même occasion la tension de polar du transistor HF.
Dans mon dernier bricolage, une CTN 10 KΩ en version CMS, est soudée directement sur le collecteur du transistor PA, à ras la céramique du boitier, et un transistor annexe suit le courant de la CTN pour asservir la polar du PA, d’après la mesure de température.
La protection thermique est efficace.
Le schéma n’a pas encore été mis au propre.
Je le relèverai si besoin.
Mais, je pense que le plus sage, dans votre cas, serait de rechercher la pièce d’origine.
Merci pour la réponse Alain mais je pense pas facile a trouver !!!
Cordialement
jean-jacques
Effectivement, c’est pas gagné!
On arrive à en trouver à ce que j’ai vu, mais évidemment à l’étranger et évidemment (bis) ça pique niveau prix…
Doctsf (Modèles & Marques)
Annonces 

