Bonjour,
je m’adresse aux techniciens radio
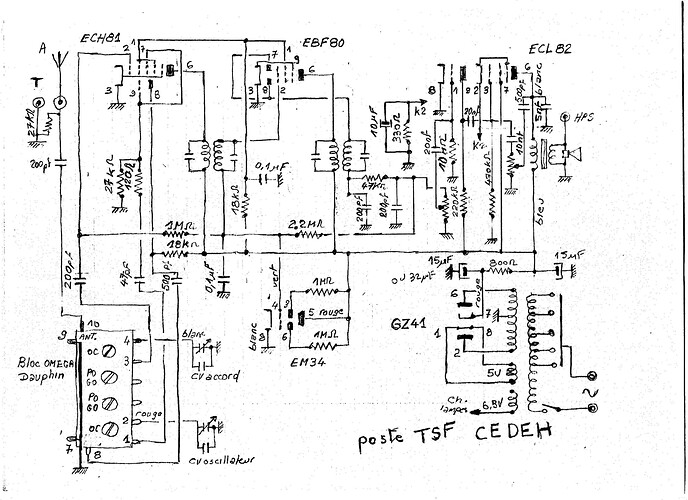
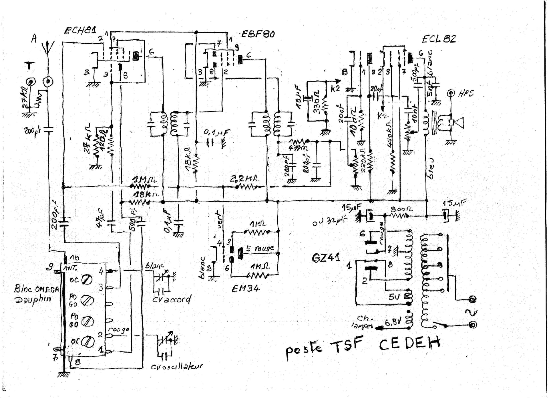
Pouvez me dire si ce schema reconstitué comporte des anomalies
s’il vous plait
A vous lire !
Bonjour,
bien que non technicien
je suggèrerais d’indiquer ce qui a été modifié par rapport au(x) schéma(s) originaux, pour gagner du temps…
Bonjour.Aprés un ( très ) rapide examen, peut-être relier la douille Terre à la masse du chassis.
Bonjour
Il manque la valeur de la résistance entre les deux filtrage : 1 w !
Salutations Jean-Luc
Bonjour,
Curieux les 3 résistances séries sur la contre-réaction qui part du HP (1k + 22k + 2,2k). Il manque peut-être d’autres composants autour de ces résistances.
Cordialement : jcj
Bjr
Le 50 nF est relie entre les deux resistances de 2,2k non? Il faut grossir l image…
C’est le jeu des 7 erreurs ?
Bon OK 
curieux mélange, il n’est pas sûr qu’une contre-réaction calculée pour une ECL82 fonctionne pour une EL84…
j’ai oublié un condo de 0,1m en parallele sur la 22k , et un condo de 2500pf en parallele sur les deux 2,2k
pour la contre réaction BF
la resistance de filtrage est une 1k
Doctsf (Modèles & Marques)
Annonces 

