Câblage d’un ancien téléphone U43

Pas la peine d’embrouiller le demandeur qui n’est pas spécialiste de la téléphonie.
On ne peut raccorder que des équipements analogiques sur la ligne en sortie de box.

Sinon les SFR supportent la numérotation par impulsions, donc le téléphone va fonctionner en appel.

Normalement la ligne doit se trouver en 1 et 3 sur la prise gigogne. ( Prise en T )
La photo de cette prise dans le sujet montre les couleurs bleu et blanc.
Est- ce une question de date, plus tard les couleurs sont devenues gris (1) et blanc (3)
Deux broches suffisent. Les autres broches ont d’autres utilités.

J’ai trouvé une discussion ici : Installer Rotatone sur téléphone U43 - #17 par Tonio

@le_vieux_parleur : il me semble que j’ai fait le test comme vous le dessinez, que ce soit en coupant le fil bleu entre la box et le téléphone ou en debranchant ce fil bleu sur le téléphone et en mettant l’ampèremètre entre la borne du téléphone et le fil bleu ça fait pareil ? Non ?
@simon32 : il me semble donc que mon branchement est bon ? Non ?
@Bruno : merci pour votre synthétisation
Je confirme que sur ma box SFR on peut brancher un U43 sans rien modifier
Voilà la photo de celui qui fonctionne

Tu fais la même manip du multimètre sur les fils blanc et bleu pour vérifier le branchement à la ligne

oui, les deux façons sont identiques. Et ça donne quoi? Y’a un courant qui circule quand vous décrochez le combiné ?

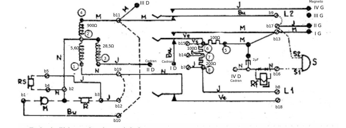
Je pense que le schéma que j’ai indiqué n’est pas bon, la ligne (fils blanc et bleu) doit être branchée sur bornes 8 et 9 (L1 et L2). Vérifie en faisant la même manip du multimètre sur les bornes 8 et 9.

Désolé mais il n’y a rien sur la borne 8
Et que signifie L1 et L2 ?
Merci

On trouve plusieurs schémas ou les points ne sont pas aux mêmes endroits.
Ici, ce serait plutôt ce branchement.
Les fils L1 et L2 sont les 2 fils de la ligne ( Broches 1 et 3 ) de la prise gigogne
Ils vont bien sur les broches 9 et 10 du U43.

A noter que L1 est en bleu, mais on le trouve plutôt en gris dans la norme actuelle.

L1 et L2 signifie la ligne sur les schémas dans les postes. Tu dois l’avoir dans le tien. J’ai copié le schéma du site L2L1.COM, qui est intéressant pour l’histoire des téléphones mais pas exact pour le schéma. Il faut repérer les lignes L1 et L2 sur ton schéma et mettre les fils blanc et bleu dessus et vérifier avec le multimètre pour la présence du condensateur.

Ce n’est pas le cas sur le mien.

Mais ça correspond à la 1ère photo de Natrop, non ?
Amusant, l’image que j’ai posté vient du site dont tu parles.

[Ajout] Broches 9 et 10, cela correspond au schéma publié par anon20609521 , sur :

Il y a des différences selon les fabricants ce qui induit des erreurs partout. Il vaut mieux se fier au schéma dans le poste et vérifier le branchement au multimètre. C’est plus compliqué encore pour les postes plus anciens sans ronfleur/condensateur dedans.

Là oui, 3 schémas différents selon le modèle …

Une bonne photo du schéma devrait éclaircir la discussion.

et au final, il tire du courant quand on le connecte ou pas ? S’il n’en tire pas il est soit défectueux, soit mal connecté. Si il en tire mais pas de tonalité, soit la capsule est HS, soit il est défectueux, une fois encore.