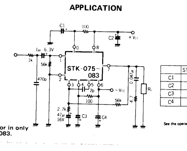
sur la data sheet il ne semble pas y avoir de reglage de la polarisation il donnent simplement un debit max de 100mA
STK080.PDF (146,8 Ko)
Sur les broches 5 et 9 j’ai une grosse déformation, alors que sur le STK qui est bon le signal est correct.
manque de gain dans l’etage de sortie
soit dans le STK s’il est utilise seul ou dans les transistors exterieurs si le STK est utilise en tant que driver
J’ai isolé les transistors extérieurs, pas d’amélioration, ça doit venir de l’intérieur
a mon avis les totors de sortie sont pas les bons dans le module
on peut facilement en relever le schema
Ca sent le AKAI AM2350 ! J’ai trouvé des STK082 en Allemagne chez un vendeur qui débite, avec de très bons avis utilisateurs … De toutes façons ils sont tous ch de nos jours .
Bien vu pour le AKAI
Grâce @TruVox, on a au moins confirmation que les STK chinois sont des copies à base de CMS. Ça aurait été étonnant qu’ils continuent à fabriquer des circuits hybrides.
que ce soit hybride ou CMS si la copie est parfaite cela fonctionne pareil
Personne ne dit le contraire.
Tout dépend du « si ».
Ce qui est plus gênant, c’est "le terme « module d’origine » ou « module original » qui prête à confusion dans les annonces.
Bonjour
Étant donné que TR5 et les deux résistances constituent déjà un multiplicateur de VBE, ceux qui ont reproduit ce module on peut-être jugé les diodes superflues. D’ailleurs, la mauvaise polar vient peut-être de là car si le rapport des résistances est le même, on a une polarisation plus faible sans les diodes, ça pourrait expliquer la distorsion de croisement.
Mais puisque le phénomène est semble-t-il limité aux fréquences élevées, il peut être judicieux de placer en parallèle de ce multiplicateur de Vbe un condensateur d’une valeur de l’ordre de 50nF.
Je vais déjà insérer deux diodes, demain.
Si ce n’est pas suffisant je mettrai le condensateur, faudra juste me dire où exactement.
En tout cas chapeau pour l’analyse, merci.
sans corriger R6 ou R7 la mise en place de deux diode va enormement augmenter la courant de polar de l’etage de sortie et sans precautions on risque de le cramer
normalement un X de Vbe se suffit a lui meme
essayer plutot la capa c’est moins risqué
si vous voulez toucher au courant de polar il faut d’abord mesurer l’existant pour savoir ou on en est, le Ipolar ou Ibias max est donné pour 100mA le depasser serait suicidaire pour l’etage de sortie
Bien d’accord avec Radiolo, mieux vaut commencer par une capa, et si vraiment ça ne s’améliore pas augmenter -un peu- la valeur de la résistance supérieure. Avec deux diodes ça va flancher
Je la mets où exactement la capa ?
Entre les bornes 5 et 9, ou directement le collecteur et l’émetteur de TR5 sur le STK
Doctsf (Modèles & Marques)
Annonces 





