Bonjour je veux savoir comment injecté Signal vidéo sur ef 80 si je me trompe pas ,sur quelle pin je doit greffé le câble RCA ?
normalement sur sa grille 1 ( qui d’ailleurs est marquée grille de commande sur le brochage )
mais pour etre plus precis il faudrait un schema
Bonjour
Quels sont la marque et et le modéle de ce téléviseur ?
En général sur les anciens TV , l’ EF80 est une lampe d’ étage FI , donc c’ est pas là qu’ on peut injecter un signal vidéo bande de base .
C’ est plutôt sur la lampe ampli video qui se trouve après détection , et qui est souvent une EL83 ou une EL183
Bonjour le téléviseur c’est Pathé Marconi t1038
Noir et Blanc ? Couleurs ? quelle année ?
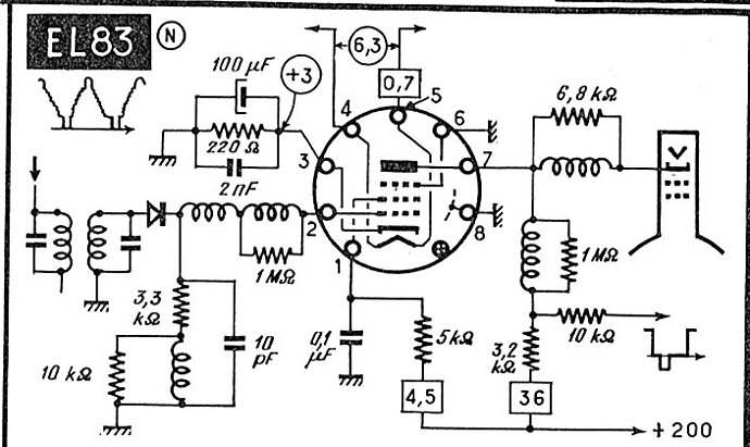
sa fiche est là avec son schéma
Donc c’ est bien comme d’ ordinaire une EL83 !
donc sur la grille de l’ EL83 , en intercalant un condensateur d’ au moins 10µF ?
Mais ce n’est pas forcément si simple ! pb d’ alignement du niveau de noir …
Ben non, apparemment sur le schéma c’est une EL 84 ! ![]()
sur le schéma d’ implantation il y a une EL83 qui ne figure pas sur le schéma synoptique ! une " gourance " sur le schéma ?
Oui , je n’ avais regardé que le schéma d’ implantation et pas l’ autre
il y a une prise test qui rentre ( ou sort ! ) sur une 1/2 lampe préampli video … ça peut remplir le rôle d’ entrée … à tenter
mais c’ est quand même bien en finale une EL83 mentionnée sur le schéma d’implantation !

et aussi sur le chassis
il y avait déjà un fil ouvert en juin au sujet de ce TV , pourquoi en rouvrir un nouveau ?
Monsieur le fusionneur SVP ! ![]()
Oui mais si c’est un TV pour la France (modulation vidéo positive) vu le sens de la diode de détection la vidéo est négative à cet endroit. Donc si on injecte une vidéo standard (positive, 1 V càc) la vidéo sera inversée et l’image ne synchronisera pas.
Sur la grille de l’EL84 la vidéo serait positive mais l’amplitude de 1 V càc serait certainement insuffisante.
Si c’est un TV CCIR, cela devrait fonctionner au point test mais il faudrait déconnecter la détection (par exemple en déconnectant L22 et la résistance en parallèle et en reliant la grille de l’ECF80 à la masse par une résistance de 75 à 200 ohms).
comme Pathé a mis une lampe préampli video , ce qui n’ est guère commun , mais avec un étage de plus inverseur , il a donc dû inverser le sens de la diode de détection , normal .
pour savoir où injecter la video extérieure il faut donc savoir ce que sort le générateur extérieur d’ image .
nota : il a bien existé des téléviseurs N et B avec une EL84 en ampli vidéo , mais certes pas très courants .
J’ ai sous les yeux le plan d’ un " Clarville " ainsi conçu : modèle DS59 ( sans doute écran de 59cm ), plan d’ origine constructeur datant de nov 1962 .
J’ai réussi à injecter le signal vidéo maintenant il me reste à changé beaucoup de condos et après c’est reparti pour plusieurs décennies.
merci infiniment pour votre précieuse aide ![]()
Tous les générateurs de vidéo standards sortent une vidéo positive de 1 V càc sous 75 ohms.
En augmentant la charge on peut jusqu’à doubler cette tension mais elle restera positive.
Il faudrait connaître l’amplitude du signal à la détection et sur la grille de l’EL84 pour imaginer l’étage amplificateur (inverseur ou pas) à intercaler.
Doctsf (Modèles & Marques)
Annonces 





