Dictaphone shaving machine

Bonjour,

tout est dit dans l’appellation du modèle : shaving machine (machine à raser).


C’est un model 10 type « S » peut-être S pour shaving ?

Il servait à effacer les cylindres enregistrés.

Le système est simple et efficace : une lame style cutter rectifie le cylindre avec un réglage fin de profondeur pour utiliser un maximum de fois les cylindres pour de nouveaux enregistrements.



La marque DICTAPHONE est dans le GL, il n’y a pas de fiche pour ce modèle.

2 « J'aime »

C’est génial ce truc et de l’humour « sharing » pour effacer.

Bonsoir,

Pas mal de littérature sur cette machine. :hugs:
Il y avait même une épreuve de dictaphone au Championnat d’Europe de dactylographie! :face_with_open_eyes_and_hand_over_mouth:


Revue_de_procédure 1 janvier 1935

Recueil_notarial_des_jurisclasseurs 5 octobre 1933

7-10-28, championnat d’Europe de dactylographie, épreuve de dictaphone par Mlle Petit - Photo Agence Rol

2 « J'aime »

« format C: » (C pour cylindre, bien sûr) :sweat_smile:

1 « J'aime »

Bonsoir,

Il serait peut-être intéressant de joindre les documentations fournies par Ladere_Jean-Pierre au niveau de la marque ou du modèle enregistreur déjà répertorié dans le GL.

je vais essayer de faire une fiche pour ce modèle :

Marque : Dictaphone corporation

Modèle : TYPE S SHAVING MACHINE MODEL 10

Année : ? (1922 année de commercialisation au canada) début de fabrication U.S.A. ?

Fonction : magnétophone

Caractéristiques générales : aucune

Alimentation : impossible de dire , le moteur a disparu sur mon appareil

Commentaires publics : Appareil qui servait à effacer les cylindres de cire pour les réutiliser en enregistrement. L’ancêtre de la tête d’effacement du magnétophone.

Je mettrai les photos qui sont en début de sujet.

Je vous soumets cette description avant de créer la fiche, merci.

@Martel_Dominique Bonsoir,

J’ai mis les 2 publicités dans la fiche marque du GL

Concernant la Dictaphone Corporation elle a déposé des dizaines de brevets en France :clipperton_island:. De 1923 à 2013.
Ci-joint pour exemples quelques Pdf de brevets. Source INPI

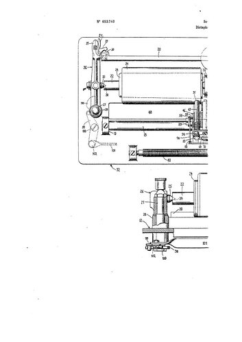
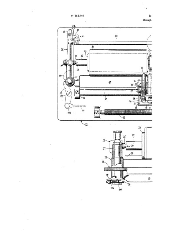
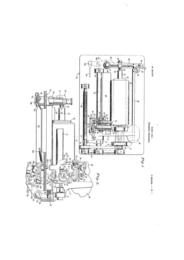
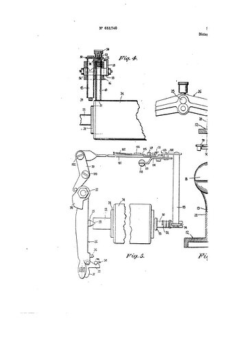
Je pense que le Pdf N° FR 653740 A 1928 Perfectionnements dans les machines destinées à reformer la surface d’un cylindre enregistré utilisé dans les machines à dicter Correspond à votre machine. (dans les dépôts de brevets il n’apparaît pas bien sur le nom commercial, type ou modèle)

FR 653740 A.pdf (1,1 Mo)

D’autres brevets dont le premier déposé en 1923
FR 564069 A.pdf (481,1 Ko)
FR 845594 A.pdf (428,4 Ko)
FR 774843 A.pdf (422,0 Ko)

1 « J'aime »

Bonjour,

un grand merci pour ce gros travail de documentaliste pointu !

Je vais étudier toutes ces données tranquillement, à première vue les éclatés ressemblent beaucoup au modèle que je possède.

Encore merci et chapeau !

Bonjour, ça y est j’ai créé la fiche.

Merci pour la doc qui correspond bien à mon modèle après vérification.

1 « J'aime »

@Martel_Dominique Bonjour,

Merci pour votre retour et d’avoir créé une fiche au GL pour cet appareil de collection. :+1: