Les régulateurs de tension pour téléviseurs

Bonjour,

Disons que c’étais un compromis , rien d’idéal, mais un effet régulateur un peu meilleur , et moins de pertes (ceci dit , ça dois être guère mieux qu’une lampe d’éclairage tungstène sous argon normale, du type pour éclairage industriel , et sousvoltée …)

L 'avantage de l 'engin:on gardait une belle sinusoide .

On a vu 2 sortes de régulation . Y en a t-il eu d’autres?

Bonjour,

Oui, au moins, ces régulateur à lampe avaient le mérite de ne pas générer d"harmoniques, de ne pas « écraser » ou « distordre » la sinusoïde du courant délivré ( le courant reste « pur », mais au prix d’une efficacité assz réduite et une grosse lenteur de réaction)

Les régulateurs a fer saturé avaient le mérite de réguler dans de larges proportions, de ne pas comporter de filaments fragiles, et d’une grande rapidité de réaction ( mais ils déforment le courant produit et la valeur efficace des tensions et courants s’en trouve plus réduite, plus stable certes mais plus réduite )

Merci. Cet échange nocturne ,à défaut d’être matutinal , éclaire un mystère de 60 ans.

Et, oui, il existe d’autres modes de régulation

-La régulation mécanique : la plus ancienne, un moteur électrique, asservi, entrainant un variac (avec l’inconvénient de l’inertie des pièces en mouvement, et de l’entretien de la mécanique et des balais )
-La régulation tout electronique, de type inverter , la plus récente, et basé sur un redresseur suivi d’ onduleur asservi comme dans les pompes à chaleur (sauf que l’asservissement est fait pour réguler une tension, au lieu de la température de chauffage, avec l’avantage de grandes performances et grande rapidité de réaction , et l’inconvénient d’une grande complexité et d’inévitables parasites radioélectriques … )

un régulateur à boules sur le moteur et une came couplée au variac ?

Non, c’étais pas basé sur un régulateur de watt, a boules , mais là, il se fait un peu trop tard pour chercher, et expliquer …

bonne nuit !

Certes , bonne nuit .

Bonjour

Une documentation explicative sur les régulations de tensions automatiques avec variacs :

Et plus général sur les variacs :

Cordialement
Thierry

Merci Thierry

Tout à fait Thierry…

Patrick.

Villemomble faisait partie de l’ancien département de la Seine (75), juste à la limite de la Seine et Oise (78).
https://fr.geneawiki.com/wiki/Liste_des_communes_de_l’ancienne_Seine
La Seine et Oise faisait tout le tour du département de la Seine et s’intercalait, à l’Est, entre la Seine (75) et la Seine et Marne (77).
Lors de la modification des départements d"Ile de France décidée en 1964 la Seine et Oise est devenue Yvelines (en gardant le N°78) après amputation de ce qui correspond à peu près aujourd’hui aux départements 91 à 95.

Oui , la « Seine » seule , (ma mémoire m 'a trahi ).

Je confirme ayant été écolier dans le département de la Seine (75) dans la commune de Villemomble. A l’époque j’habitai en Seine et Oise (78) à Gagny, commune limitrophe de Villemomble. Quand sans déménager j’ai habité à Gagny en Seine Saint Denis (93) je n’allais plus à l’école dans le 93 mais dans le 75 mais cette fois à Paris dans le département de la Ville de Paris.

Bonjour à tous ,
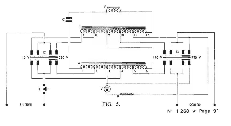
Je reprends le fil car je recherche le schéma de ce régulateur.
Merci


jamais vu de schema de regulateur edites par le fabriquant du regulateur
qq fois un schema de principe dans une revue style le haut parleur

on trouve des schemas de principe et l’etude génerale des regulateurs a fer sature ou a ferrorésonance ou a fer hydrogene

Merci Radiolo . Oui ,ça semble bien rare .

une etude theorique ici
https://www.researchgate.net/publication/304933051_Saturated_core_voltage_regulators_Parameterization_computational_models_and_performance_studies

Bonjour à tous,
j’ai qq part un régulateur à fer saturé, mais avec contrôle électronique par tube (pentode de mémoire- peut-être EL81?)
Je vais voir si je peux remettre la main dessus…