le point de polar est bon pour la 75
re verifie la tension G1 /masse de la 42 tu doit trouver zero V
maintenant reste plus que le HP a mettre en doute
prends un HP a aimant permanent ( n’importe lequel en 4 et 8 ohms) tu déconnecte la bobine mobile de celui du poste et met ton HP a la place
G1 42/masse : 0,02V
Pour le hp je déconnecte les sorties secondaires du HP du poste et à la place je connecte un HP de n os jours ?
C’est ça!
exactement
on saura si c’est un defaut de bobine mobile qui touche les pièces polaires
voilà c’est fait et y a pas photo !
reste plus qu’à démonter le HP de sur le poste et voir ce qui est coincé dans l’entrefer et si on peut l’enlever sans désosser le HP
il me faudra des photos pour t’aider si tu n’as jamais pratiqué
photo de l’avant du HP pour voir ou est placé le spider et l’entrefer
vérifie que l’entrefer E est bien égal tout au tout du pole central
- que tu ne remarques pas un corps étranger dans l’entrefer , aller à la pèche avec un petit fil de
cuivre de 0.1mm ( un fil de câble multibrin) on peut aussi utiliser un bout de papier adhésif - que le spider S n’a pas une branche cassée ou a son pourtour décolle de la membrane
attention pièce fragile se casse facilement
pour le moment on ne touche pas à la vis centrale on observe
J’ai passé une languette de papier abrasif très fin pour carrossier et le résultat est vraiment étonnant le son n’est plus nasillard !
Le son est un peu aigu à mon gout …(oreilles de chaudronnier
) mais il n’y a pas de correction grave/ aigu.
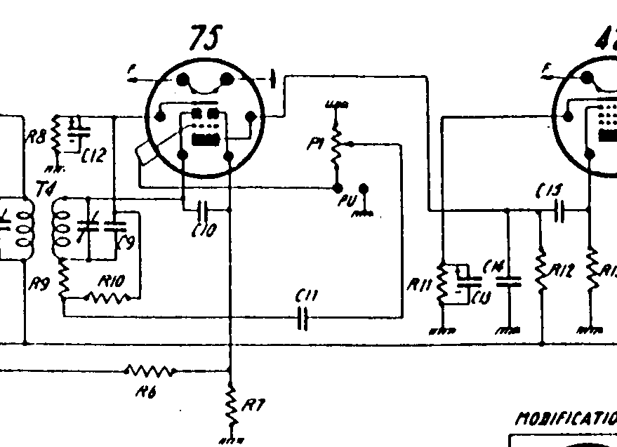
Demain je regarderai si la chaine MF est bien accordée et si il n’y a pas de un problème de commutation de gammes car en PU ce n’est pas silencieux et le potard ne joue pas sur le volume pourtant la g1 de la 75 arrive sur le point milieu du potard ?
bien non la G1 arrive a une extremite du pot , pas a son point milieu
C’est un vieux montage qui nécessitait un réglage de volume sur la platine PU
regarde bien le montage
pour couper le sont du poste on mettait son pot de volume a zero ( car il n’y a pas d’autre moyen de couper la reception)et ne volume du PU était réglé avec le pot sur la platine
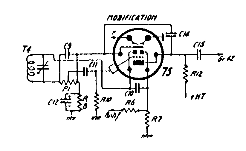
Le montage sur le poste correspond à la partie « Modification »
Un fil part du téton de la g1 de la 75 en passant par le trou du rivet qui fixe le support lampe va sur la borne du PU puis repart sur le point milieu du potard en passant par C11
et le PU se raccorde ou ? je ne l’ai pas repéré sur ce schéma
En fait, c’est R 10 qui est la polar de grille et devrait être un potentiomètre avec son curseur sur la prise PU …
On peut alors avoir un ajustable à la place du potentiomètre en circuit à mettre en remplacement
comme a l’époque cela restera plus ou moins M…dique comme c’était dèjà le cas a l’époque
tant qu’il n’y a pas une position PU sur le bloc ou une commutation PU difficile de séparer réception radio de PU
on conseillait a l’époque de mettre l’aiguille du cadran dans un position ou on ne recevait rien et de débrancher l’antenne , mais les parasites réseau étaient toujours là…
Pourtant sur le bouton il y a une position PU
donc il doit y avoir une commutation pour passer en PU
mais elle ne semble pas être faite sur la partie BF, peut être un simple arrêt de l’OL
Doctsf (Modèles & Marques)
Annonces






