pose la question a free il me semble que comme pour le tel, il savent reprendre les adresses mail
Je vais aller les voir
Bon, pour revenir au Pb de téléchargement, j’ai solutionné une partie des échecs en changeant de navigateur.
Malgré cela, il ne me reste plus que les deux pages du dernier fichier « manuel de service » qui sont malheureusement très grosses à télécharger, aussi le chargement s’arrête vers les 85 Mo chargés en indiquant « erreur réseau ».
A mon avis, le site reste trop longtemps ouvert en attente d’une info de retour, et coupe la communication. C’est ce que je pense, car vu que je n’ai pas encore la fibre, cela augmente considérablement les délais d’ouverture !
La fibre est en train de s’installer dans ma campagne, mais de là à être opérationnelle… tout est possible aujourd’hui !
Les deux plus gros font 85 Mo et 50 Mo je crois, il faudra les récupérer… des fois en redémarrant la box internet elle se resynchronise et ça peut aider, sinon clef et une personne avec l’accès qui va bien ?
C’est bon, j’ai enfin tout récupéré.
C’était rageant de planter comme ça à 1 Mo de la fin ![]()
Encore merci à vous pour ce travail.
Il n’y a plus qu’à…
Cdt
Super Alain ! Merci, je ne suis pas encore près pour étudier cette remise en route, mais je partagerai ici avec vous quand ce sera près, cdlt Eric
Bonjour à tous,
Je ne suis pas un assidu de ce site mais il y a des marques qui interpellent et SARAM-OMERA m’a attiré jusqu’ici ! J’ai remis en route ou restauré des VHF aviation et venant d’hériter d’un ER-76-A VHF ainsi que de sa télécommande, mais pas d’alim, câble de liaison ou schémas, j’aimerais faire de même avec ce SARAM. Avez-vous remis en route cet appareil ER-76 décrit dans la fiche qui est un UHF mais ressemble extérieurement au VHF ? Merci et bonne journée.
73 F4IBE Francis
Bonjour Francis , hélas non je n’ai pas encore commencé cette remise en route, pas de doc pas de schéma pour celui la, si vous trouvez des infos de votre côté je serai intéressé également bien sur, bonne journée à vous, 73 Eric / F4JRG
[quote=« Stef86, post:70, topic:102651 »]
Bonsoir Eric,
J’ai déjà connu quelques galères pour la restauration et remise en route de VHF militaires SOCRAT comme l’ER-3-B et l’ER-74 (TR-AP-31 et TR-AP-26). Toujours pour les mêmes raisons, documentation et connecteurs manquants mais quelque fois cela vaut le coup d’être très patient dans les recherches lorsqu’on arrive enfin à faire un QSO en 144 MHz AM avec ces vieux appareils ! Je ne manquerai pas de vous tenir au courant si j’ai une info supplémentaire.
73 Francis F4IBE
Bonjour,
Pour alimentation de VHF militaires, j’ai une alimentation SARAM BRONZAVIA qui attend qu’on veuille bien s’occuper d’elle, je suis dans la région de Rouen.
Bonjour,
C’est super de la posséder. Par s’occuper d’elle, que doit-on comprendre, est-elle en panne ou elle demande simplement à fonctionner un peu voire peut-être à être cédée ?
Serait-il possible d’avoir une photo de la bête avec son étiquette, cela serait bien intéressant.
Merci ![]()
Voir plus d’informations ici, elle n’a toujours pas été contrôlée.
Bonsoir , c’est l’alimentation du 3-10
Bonjour,
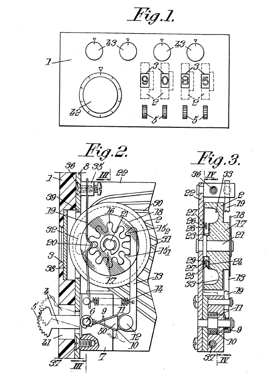
Curiosité…
Ce brevet de S.A.R.A.M d’un combiné radio déposé le 20/05/1947
Export_Portail_Data_Appareil_de_radio_combine_Du_15-09-2025.pdf (59,9 Ko)
Source INPI
A savoir si ce dernier a été commercialisé?
Mystère ![]()
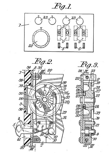
Plus récent (1972) ce brevet de commutateur avec afficheur
FR 2166261 A1.pdf (543,5 Ko)
Source INPI
Concernant BRONZAVIA , beaucoup de brevets + de 250, dont quelques uns concernant la T.S.F. ![]()
Aucun mystère, on a la mémoire courte Jean-Pierre …
@Jeanmonod_Henri-Louis Bonsoir,
C’est toujours bon d’en remettre une couche pour ceusses qui n’ont pas regardé la première fois
![]()
Même si c’est le genre de sujet qui n’intéresse pas grand monde… ![]()
Doctsf (Modèles & Marques)
Annonces 

