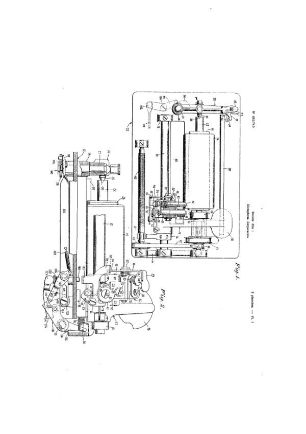
Je suis en train de remettre en etat un phono dont le bras a été changé pour " l’electrifier "
Le bras est un modele la voix de son maitre qui n’a rien a voir avec le phono qui était un modele purement acoustique
la question que je me pose ;
sur ce type de bras quel type d’aiguille
un aiguille de phono est deux fois trop grosse en diametre et il n’y a aucun moyen de la fixer
juste un trou lisse ( aucun filetage)
la tete est un modele classique a bobine , aimant et palette mobile pour lecture des disques a gravure laterale
aiguille speciale saphir ?
si qq’un a déjà vu ce système et ce bras ?
Bonjour Radiolo,
En effet les aiguilles pour ce genre de tête sont identiques aux aiguilles de phono, mais beaucoup plus fines. J’ ai une quarantaine de boîtes d’ aiguilles pour phono et je pense qu’ il doit m’ en rester de ce modèle….il faut que je regarde.
Par contre je suis surpris que la tête ne soit plus pourvue d’ une vis de fixation !!!J’ ai déjà eu ce genre de bras (en Teppaz) et il était muni d’ une vis de fixation de l’ aiguille. Regardez bien à l’ avant de la tête s’ il n’ y a pas un trou permettant le passage d’ une vis.
Michel
j’ai démonté la palette mobile car les caoutchouc support avait fondus avec l’âge et elle touchait un pole de l’aimant en permanence
pas de trace de la moindre vis de fixation par contre le trou ou s’insère l’aiguille est découpé de telle façon qu’il présente une partie élastique serrant l’aiguille
je trouve que comme fixation cela fait " bricolo " on verra a l’usage, je vais rectifier qq aiguilles au bon diamètre on verra bien
Ces pickups HMV très courants dans les années 1940 utilisaient des aiguilles non standard fines et courtes pas faciles à mettre en place, même si la tête peut pivoter. Il y avait aussi des « aiguilles saphir » compatibles dont l’avantage était de ne pas avoir à changer l’aiguille, mais dont l’inconvénient était de « manger » les disques, vu que l’usager pensait (à tort) qu’elles étaient inusables ! Il n’y avait pas de vis de fixation vu qu’elles s’inséraient sans aucun jeu et ne risquaient donc pas de choir.
Et évidemment, les caoutchoucs de la palette n’avaient pas été prévus pour être opérationnels jusqu’au XXI è siècle ! 
Bon amusement
Jean-Luc
bonsoir jean Luc
Dans un autre ordre de sujet , c’ est un peu comme nos freins de voitures. Depuis qu’ il n’ y a plus de plaquettes à l’ amiante , qui s’ usaient sans trop manger les disques , maintenant les nouvelles plaquettes sans amiante , nettement plus dures, s’ usent nettement moins vite mais bouffent les disques plus vite ![]()
Peut être pourrais t’on réduire les aiguilles de phonos mécanique, au diamètre adéquat , comme on réduit des queue de gros forêts CM pour les monter sur une petite perceuse électrique a main de bricoleur ! Ceci en se servant d’ un tour ? (mais là, il faudra un tout petit tour, genre Lorch, Boley, Leinien…avec des pinces … )
Et il faudra sans doute refaire les caoutchoucs de palette mobile (qui doivent être secs comme les couilles à taupin !)
ben non ils ne sont pas secs mais plutôt coulants comme un fromage bien fait ![]()
je regarde s’il y a la place de refaire une palette avec le trou idoine et une vis pour les aiguilles standard
Bonjour,
à propos de ce pick-up ( tête + bras ), voici quelques informations trouvées dans la réédition ( en mars 1961 ) d’un document interne de la BBC de mai 1951, intitulé " TECHNICAL INSTRUCTION R.5 Disk Reproducing Equipment ", le remplaçant d’un précédent document intitulé " INSTRUCTION RC.4 " ( daté ? ).
Il y est indiqué que ce type de tête de lecture à aiguille miniature ( ou du moins d’un type professionnel très approchant ), dénommé " E.M.I. Type 12 Reproducing Head ", équiperait la BBC depuis 1941 semble-t-il, initialement ses services ( ses studios ) d’enregistrement.
Selon d’autres sources, ce type de pick-up, dénommé " Hyper-Sensitive ", serait apparu dès 1938, pensé et produit par le service de recherche de la société britannique " The Gramophone Company " ( E.M.I.)
(EMI Group — Wikipédia).
Un stylet ( Stylus ) avec saphir, du type " RS/8 " pour la BBC, a notamment été utilisé par ses services, ainsi que par les marques commerciales de la société britannique " E.M.I." ( " Electric and Musical Industries " ), " His Master’s Voice " ( " H.M.V." ), " Marconiphone ", " Columbia ", et en France, par les marques de la société " Les industries musicales et électriques Pathé-Marconi " ( " I.M.E. Pathé-Marconi ", associée à E.M.I.), " La Voix de son maître ", " Pathé ", " G Marconi "
(Pathé-Marconi — Wikipédia).
[TI_R5_Disk Reproducing Equipment.pdf - TECHNICAL INSTRUCTION R.5 Disk Reproducing Equipment BRITISH BROADCASTING CORPORATION ENGINEERING DIVISION May 1951 - E.M.I. Type-12 Reproducing Head - pages 1 à 3 - index 5 à 7/140 - bbceng.info]
Un autre document du service de recherche de la BBC, daté du lundi 18 janvier 1943, relatif à un ajustement possible de la tête de lecture E.M.I. Type 12 :
[R&D Report 1943-01 - RESEARCH REPORT C. 034 Serial No.1943/1 - ADJUSTMENT OF EMI TYPE 12 PICK-UPS - J Wardley Smith - downloads.bbc.co.uk]
[BBC - Research & Development - Adjustment of EMI Type 12 pick-ups - Report 1943-01 - J Wardley Smith - Abstract
This report describes a simple method of adjusting the resonant frequency of the EMI type 12 pick-up. - www.bbc.co.uk]
Un document du service de recherche de la BBC, daté du mercredi 7 mars 1945, relatif à la conception d’un égaliseur pour la tête de lecture E.M.I. Type 12 modifiée :
[R&D Report 1945-10 - Research Department - REPORT NO. C.049 - Serial No.1945/10 - EQUALISER DESIGN FOR E.M.I. TYPE 12 (MODIFIED) DISC REPRODUCING HEAD - 7th March 1945 - Work carried out by: G.V. Buckley - Figs. Nos. C.049.1 to C.049.17. - downloads.bbc.co.uk]
[BBC - Research & Development - Equaliser design for E.M.I. Type 12 (modified) disc reproducing head - Report 1945-10 - G.V. Buckley - Abstract
The design of equalisers for Disc Reproducing Heads (D.R.H.) at the present time has to fulfil the following requirements:
(a) The D.R.H. to be used is the E.M.I. Type 12, which has been modified by clipping the armature blade to raise its natural resonant frequency to above 10 kc/s.,
(b) There are three recording characteristics to be reproduced, namely: BBC, American Standard Lateral (A.S.L.), and Gramophone Records.,
(c) There are six reproducing chains, namely: TD/3702E Desks, Recorder Playback Desks, and the new BBC Reproducing Desks.
As the outcome of discussions with D. & I.D., it was decided that, where possible, equalisers should be placed between two amplifiers, rather than between a D.R.H. and an amplifier. The main reason for this is one of levels, but there are other advantages, as will be seen later. Having decided on the position of the equalisers it followed that they must be of the constant impedance type, and in order to standardise impedances the characteristic impedance was made 600 ehms. It is hoped that in the near future all amplifiers, desks, etc., will have 600-ohm input and output impedances.
In this report the terms low and high frequency response correspond to frequencies below and above 1 kc/s respectively. - www.bbc.com]
[PREAMPLIFIER and UNIVERSAL DISC EQUALISER - www.amplitudemodulation.com.au]
Un document intéressant du service de recherche de la BBC, daté du mois d’avril 1949, relatif aux tests d’usure réalisés sur les stylets ( les aiguilles ) de lecture munis de saphir ( du type " RS/12 " ( R.M.U. stores ) ), montés sur la tête de lecture " British Thomson-Houston " ou sur un changeur de disques courant :
[R&D Report 1949-13 - 1/7 - PRIVATE & CONFIDENTIAL - RESEARCH DEPARTMENT - WEAR TESTS ON REPRODUCING SAPPHIRE STYLI - Report No. C.073 - Serial No. 1949/13 - PRIVATE AND CONFIDENTIAL - Research Department - April, 1949. - H. L. Kirke - Investigation: A. B. Wess. - Report: H. Davies - downloads.bbc.co.uk]
[BBC - Research & Development - Wear tests on sapphire reproducing styli. - Report 1949-13 - H. Davies - Abstract
A brief series of tests has shown that when RS/12 (sapphire) styli are used for reproducing gramophone records, they sometimes fail in the first few minutes. Early failure is not necessarily due to maltreatment, and in fact, some styli will sustain very rough handling indeed without damage. - www.bbc.com]
Un article intéressant de la revue britannique " The Wireless World ", publié le jeudi 27 octobre 1938, présentant le nouvel ensemble pick-up His Master’s Voice ( H.M.V. ) " Hyper-sensitive "
( Pick-up Design CONSIDERATIONS LEADING TO THE DEVELOPMENT OF THE LATEST H.M.V. " HYPER-SENSITIVE " MODEL ) :
(https://www.vintage-radio.net/forum/attachment.php?attachmentid=29868&d=1257355118)
(https://www.vintage-radio.net/forum/attachment.php?attachmentid=29869&d=1257355118)
(https://www.vintage-radio.net/forum/attachment.php?attachmentid=29870&d=1257355118)
Un autre document du service de recherche de la BBC, daté du lundi 27 février 1939, décrivant les résultats de tests effectués sur le nouvel ensemble H.M.V. " HYPER-SENSITIVE " PICK-UP :
BBC Research & Development - H.M.V. « Hyper-Sensitive » pick-up Report 1939-08 - www.bbc.com
Ce nouveau type de tête de lecture à aiguille, légère, rotative pour le changement aisé de l’aiguille, équipait certains tourne-disques distribués par les marques britanniques " His Master’s Voice ", " Marconiphone " ou " Columbia " ( groupe " Electric and Musical Industries " " E.M.I. " ).
Un exemple de cet ensemble bras et tête légère H.M.V. / E.M.I., installé tardivement, en première ou seconde monte (?), sur un changeur automatique de disques " His Masters Voice " / " Marconiphone " ( " K3 autochanger " ), dont les premières fabrications semblent remonter aux années 1930 / 1931 ou 1933 ( un changeur de disques équipé à l’origine avec d’autres bras et têtes de lecture, plus volumineux, plus lourds ) :
( un changeur K3 d’origine, installé dans un meuble radio-électrophone H.M.V. 800 )
(https://www.vintage-radio.net/forum/attachment.php?attachmentid=159262&d=1521107974)
UK Vintage Radio Repair and Restoration Discussion Forum - Specific Vintage Equipment - Vintage Audio (record players, hi-fi etc) - HMV 800 Radiogram restoration. - 15th Mar 2018, 7:51 am - www.vintage-radio.net
( une vidéo montrant ce type de meuble en état de marche :
https://www.youtube.com/watch?v=JHVF8zVmwc4
Ambrose Orchestra - The Continental / HMV 800 RADIOGRAM - Victor Silvester - 19 avr. 2018 - www.youtube.com )
(https://www.radiomuseum.org/images/radio/his_master_s_voice/plattenwechsler_unbekannt_2931779.jpg)
le boiter de la tête légère " Hyper-Sensitive ", ici siglé " G. Marconi " :
(https://www.radiomuseum.org/images/radio/his_master_s_voice/plattenwechsler_unbekannt_2931785.jpg)
(https://www.radiomuseum.org/images/radio/his_master_s_voice/plattenwechsler_unbekannt_2931784.jpg)
(https://www.radiomuseum.org/images/radio/his_master_s_voice/plattenwechsler_unbekannt_2931782.jpg)
(https://www.radiomuseum.org/images/radio/his_master_s_voice/plattenwechsler_unbekannt_2931783.jpg)
Automatic Record Changer HMV (Brand), His Masters Voice, The Gramophone Company Ltd.; Middlesex - www.radiomuseum.org
Navigation - Album List - Marconi - www.electricgramophone.nl
( GB: Modèles du fabricant HMV (Brand), His Masters Voice, The Gramophone Company Ltd.; Middlesex - www.radiomuseum.org
GB: Modèles du fabricant Marconi Co. (Marconiphone, Marconi’s Wireless Telegraph Co. Ltd.), GB (not tubes - see also HMV His Master’s Voice) - www.radiomuseum.org )
Ce changeur de disques " K3 ", équipé du nouveau pick-up léger His Master’s Voice / H.M.V. " Hyper-Sensitive ", installé dans un meuble radio-gramophone-télévision " Marconiphone Model 703 " :
(https://www.vintage-radio.net/forum/attachment.php?attachmentid=29867&d=1257348660)
UK Vintage Radio Repair and Restoration Discussion Forum - Specific Vintage Equipment - Vintage Audio (record players, hi-fi etc) - Record Deck on Marconiphone 703 - 4th Nov 2009, 3:32 pm - www.vintage-radio.net
Une vidéo britannique présentant ce meuble radio-gramophone-télévision et sa propriétaire, probablement lors d’une vente aux enchères :
https://www.youtube.com/watch?v=jQPTAyjZChU
Marconiphone 703 - Early Television Museum - 30 juin 2015 - " Marconiphone Model 703 prewar television on Antiques Roadshow (UK) " - www.youtube.com
The Complete Range of EMI First Generation Television Sets - www.nostalgiatech.co.uk
Une publicité pour le meuble radio-électrophone " H.M.V. " Model 660, disposant d’un changeur automatique à huit disques " K3 ", équipé du nouveau pick-up léger H.M.V. ( His Master’s Voice ) " Hyper-sensitive ", un encart publicitaire paru le 28 septembre 1938, dans le magazine humoristique britannique " PUNCH or The London Charivari " :
(https://i.ebayimg.com/images/g/MpIAAOSwdzZe3Wx~/s-l1600.webp)
All-World Autoradiogram 660 - HMV (Brand), His Masters Voice, The Gramophone Company Ltd.; Middlesex - www.radiomuseum.org
Le feuillet publicitaire, en français,
pour ce " COMBINÉ RADIO PICK-UP à Changeur Automatique de Disques Modèle N° 660 ", vendu en France sous la marque " G. Marconi ",
et pour le " RÉCEPTEUR ’ Toutes Ondes ’ 10 Lampes Modèle N° 561 " :
Un feuillet publicitaire présentant les productions des " Industries Musicales et Electriques Pathé-Marconi " ( peut-être début 1939 ), vendues sous les marques " G. Marconi " et " La Voix de son Maître ", dont certains modèles sont équipés du tout nouveau pick-up léger, muni d’une aiguille ( miniature ) permettant une centaine d’auditions :
Modèle FR : 30362-003 - Appareil amplificateur - Date de dépôt 02/02/1939 - Date de publication 17/02/1939 - data.inpi.fr
Une vidéo captivante, en anglais, à propos de la restauration d’une tête de lecture électrifiée His Master’s Voice " Type11 ", précédant la tête de lecture H.M.V. ( His Master’s Voice ) " Hyper-Sensitive " / E.M.I. " Reproducing Head Type 12 " :
https://www.youtube.com/watch?v=s9Eu-1e2Uls
HMV No 11 Gramophone Pick-up Restoration - Mend It Mark - 19 mai 2022 - www.youtube.com
Une autre vidéo présentant un pick-up identique restauré :
https://www.youtube.com/watch?v=IBIxKDUwch4
H.M.V No. 11 Gramophone pickup circa 1930-40 - Martin h - 14 nov. 2020 - www.youtube.com
Ce type de pick-up en état de marche :
https://www.youtube.com/watch?v=7NvP3GQC2KU
HMV Pickup No. 11 first test - hammondmania - 20 nov. 2012 - /www.youtube.com
Une publicité française pour ce pick-up adaptable, parue le samedi 21 mai 1932 :
https://archives.doctsf.com/documents/feuilleter_document.php?num_doc=123531
.
Le brevet d’invention, demandé ( en France ) par les Industries musicales et électriques Pathé-Marconi le 17 novembre 1942 à Paris, délivré le 23 août 1943, publié le 29 novembre 1943, concernant un équipage mobile léger pour pick-up :
Brevet : FR887969 - équipage mobile léger pour pick-up - data.inpi.fr
Le modèle de ce pick-up léger est déposé ( en France ) auprès du Service de la propriété industrielle le 14 décembre 1943 ( seulement ), publié le 19 février 1944, mais équipait déjà, depuis plusieurs années, certains appareils proposés par la société I.M.E. Pathé-Marconi ( de facture britannique ou française ) :
Modèle FR : 33474-001 - Pick-up - data.inpi.fr
Un comparatif des tailles d’aiguilles, commercialisées par l’entreprise française BOHIN, dont le modèle miniature " P. 13 " destiné aux pick-up légers
( Bohin France
Bohin : de fil en aiguille - Le Point - 10 mars 2014 - www.youtube.com
Bohin : Fabricant d’aiguilles en Normandie depuis 1833 | Témoignage Client | FedEx - FedEx - France - 10 mai 2018 - www.youtube.com
Bohin France - L’art de l’aiguille - BOHIN - 16 mai 2019 - www.youtube.com
Bohin France, la dernière manufacture française d’aiguilles et d’épingles - La rédaction de TF1info - Publié le 9 novembre 2019 - www.tf1info.fr
Reportage France 2 sur notre belle manufacture d’aiguilles et d’épingles dans l’Orne (61) - BOHIN - 30 janv. 2020 - www.youtube.com ) :
Une publicité de 1952 pour les aiguilles " Bohin " :
10 aiguilles spéciales pick-up léger " LA VOIX DE SON MAITRE " 25 auditions :
AIGUILLES 15 Auditions POUR PICK-UP LÉGER " La Voix de son Maître " :
(https://www.ebay.fr/itm/326728138403)
Un saphir installé sur le pick-up léger " La Voix de son maître " :
Une pointe / aiguille saphir miniature pour pick-up léger, à tige rouge ( que signifient les deux couleurs rouge et verte ? saphir et diamant ? ), distribuée sous la marque " La Voix de son maître " :
Quelques aiguilles réalisées en fibres naturelles ( en bois, en bambou, peut-être de marque française " Regnault " ? ) :
L’aiguille saphir ( à tige rouge ) présentée dans un autre type de conditionnement :
visible avec deux aiguilles en fibre naturelle, peut-être de marque française " Regnault " et / ou " Super-Voxia " ( Horace Hurm ), et / ou de fabrication sud-africaine B.C.N. ( Burmese Colour Needles ) ? :
Une aiguille miniature saphir pourvue, semble-t-il, d’une tige verte :
(PATHE MARCONI platine de phonographe électrique (circa 1940) / antique-marcbea.com)
Un emballage ( de couleur vert ) pour l’aiguille SAPHIR " LA VOIX DE SON MAITRE " Pour PICK-UP - P.F.P 1001 :
Une aiguille saphir miniature à tige rouge retirée du service, tordue et ayant perdu son saphir :
Une tête de lecture légère " La Voix de son maître " dégradée :
(https://forum.retrotechnique.org/uploads/default/original/4X/2/5/9/25979ebeeedd39a3fcdd228529f23e87b7f2b075.jpeg)
(https://forum.retrotechnique.org/uploads/default/original/4X/e/a/a/eaa627689a5609beb4b8879ee86545c51950c008.jpeg)
Modèles/marques - Magnétophone à fil ER 51 La Voix de son Maître - 09 sept. 2022 - forum.retrotechnique.org
Le tourne-disques Pathé Type 351 Modèle 46, proposé en France par la société I.M.E. Pathé-Marconi ( en 1946 ) :
(https://i.ebayimg.com/images/g/rvsAAOSwSZJnT1Ht/s-l1600.webp)
(https://i.ebayimg.com/images/g/hEgAAOSwO4ZnT1H0/s-l1600.webp)
https://www.doctsf.com/pathe-46-351p/f83483
Le tourne-disques similaire La Voix de son maître Type 351 Modèle 46, également proposé par la société I.M.E. Pathé-Marconi :
(https://i.ebayimg.com/images/g/ifIAAOSwJbNiNvl4/s-l1600.webp)
(https://i.ebayimg.com/images/g/qdAAAOSw~5RiNvlx/s-l1600.webp)
https://www.doctsf.com/la-voix-de-son-maitre-6-type-351/f38041
La mise en place de l’aiguille miniature à l’aide de l’extracteur, expliquée dans la notice d’emploi du tourne-disques " La Voix de son maître 251 " :
La tête de lecture " E.M.I. Type 12 " équipait aussi les tables de lecture de la BBC " TD/7 ", à bras ( court ) " tangentiel " ( au sillon ), monté sur " l’unité de localisation du / de sillon " ( " Groove-Locating Unit " ) " GLU/9B " :
[Old BBC Radio Broadcasting Equipment and Memories - Cue Grams The TD/7 - www.orbem.co.uk]
Composite ten-minute programme for Woman’s Hour is build up by interviewer Richard Burwood, of Recorded Mobile Unit. Integrating selections from line of “discs” is programme assistant Mary McLaren - Calling 4,000,000 Women A Day - AUTHOR: Rosemary Sands - 12 June 2023 tbs.pm/77680 - transdiffusion.org
[UK Vintage Radio Repair and Restoration Discussion Forum - BBC Turntable - possible to use at home ? - 22nd Nov 2020, 11:33 am - www.vintage-radio.net]
[BECG – The Broadcast Engineering Conservation Group - becg.org.uk]
le tourne-disques professionnel " modèle 201 " proposé par la marque britannique " Garrard " ( différentes versions ont été fabriquées ), choisi par la BBC depuis les années 1930’, afin d’équiper ses différents studios, puis transformé ( adapté, modifié ) plusieurs fois, pour s’intégrer sur ses doubles tables de lecture " TD/7 ",
notamment par l’adjonction tardive d’un flector de transmission entre le plateau et le moteur ( réduisant ainsi les vibrations parasites ),
une amélioration destinée à la double table de lecture " TD/7 " équipée de l’unité de localisation de sillon " GLU/9B ",
mais également au lecteur de disque transportable " DESK DRT/2 " ( " Desk Disk Reproducer Transportable / 2 " ),
munis de la nouvelle tête de lecture légère E.M.I. " Type 12 ", fonctionnant avec des aiguilles miniatures :
deux moteurs " Garrard 201B ", équipant les double tables de lecture TD/7 munies de l’unité " GLU/9B " :
les différentes versions 1,2 et 3 du tourne-disques " Garrard 201B ", 78 ou 78 et 33 tours, avec ou sans extension du châssis et des commandes de régulation de vitesse, pour la lecture de disques de 16 pouces ( 40,64 cm ) :
la version tardive 201B/5 à trois vitesses 78/33/45 t/m, également disponible pour les disques de 16 pouces :
un article du magazine britannique " The Gramophone ", de mars 1931, concernant le nouveau moteur électrique à induction " Garrard Model 201 ", pour gramophone :
le modèle 201A, disposant de deux vitesses, 78 et 33 (33 1/3) tours :
[GRAMOPHONE MUSEUM - Garrard 201: Customized for the BBC - www.gramophonemuseum.com]
Machine asynchrone - fr.wikipedia.org
Garrard 201 motors - forum.talkingmachine.info
Turntable broadcast - #90 - 20 Avr 2020 à 18:23 - www.ls3-5a-forum.com
(https://www.visitdroitwichspa.com/media/images/photo-19.max-1920x1920.jpg)
Museum Image Gallery - Photos - Droitwich Spa Heritage & Info Centre - www.visitdroitwichspa.com
BBC (Designs Department) twin-transcription turntable unit - collection.sciencemuseumgroup.org.uk
" Groove-Locating Unit " " GLU/9B " ( " unité de localisation du sillon " )
La tête E.M.I. Type 12 fixée sur ce bras tangentiel était, selon les documents de la BBC, du type démontable, enfichable ou clipsable (?), afin de pouvoir vérifier l’état de l’aiguille saphir sans la sortir de son logement, en veillant ainsi à garder la même position dans la tête de lecture, et ce afin d’éviter de possibles dommages causés aux sillons du disque ( une pointe usée de saphir, repositionnée différemment dans la tête et le sillon, pouvait en effet ’ rogner ', attaquer ses parois latérales, user prématurément le disque ).
(https://rfwilmut.net/broadcast/images/TD7.jpg)
Fragments of an informal History of Broadcasting - Recording at the BBC - 4 DIRECTLY-CUT DISKS - Roger Wilmut - rfwilmut.net
SATURN SOUND Recording Services - Index - B - BBC, Groove locating unit GLU/9B - www.saturn-sound.com
SATURN SOUND Recording Services - The Hi-Fi Section - Instructions & Manuals, Etc. - BBC, Instruction R5, Section C, TD/7 DESKS - General Description, Testing and Maintenance - www.saturn-sound.com
Interviews and Stories - BBC Formal Attire - Roger Wilmut -
C21 on 19th February 1962. No tape machines in the studio, just grams (including a bank of RP/2s out of shot). Note no outriggers on the desk (RSA, etc). The monitor speaker is the classic LSU/10, with a 15 inch Tannoy unit plus a Lorenz tweeter, driven by a 12 watt valve amplifier and capable of producing deafening volume. Very clean sound, reasonably flat to 10kHz. - museumofmagneticsoundrecording.org
Les tables de lecture à bras tangentiel de la BBC " TD/7 ", munies de " l’unité de localisation du sillon " ( Groove-locating Unit ) " Type GLU/3 " ou " Type GLU/2 " ( dont la tête, utilisant une aiguille standard, était fabriquée au Royaume-Uni par la British Thomson-Houston ) ( visibles ici en arrière-plan sur cette photo, équipées de l’unité de localisation " Type GLU/3 " ),
ou plus tardivement, munies de " l’unité de localisation du sillon " ( Groove-locating Unit ) " Type GLU/9B ", équipée de la nouvelle tête de lecture légère " E.M.I. Type 12 " ( la version professionnelle, notamment destinée à la BBC ( semble-t-il à partir de 1941 ? ), de la tête britannique " H.M.V. Hyper-sensitive " ( apparemment mise sur le marché en 1938 ), utilisant une aiguille miniature ) ( visible ici au premier plan à droite ) :
BBC Manchester New disc reproducing room, part of talks discussion suite at Broadcasting House, Manchester, 7th November 1950. (Photo by Manchester Evening News/Mirrorpix via Getty Images - www.gettyimages.co.uk
Visibles en arrière-plan, les tables de lecture " TD/7 ", probablement munies de " l’unité de localisation du sillon " " GLU/9B " :
Beyond London: The North - History of the BBC - www.bbc.com
Visible en 1948 au centre radiophonique de la BBC, installé au Palais des Arts de Wembley pendant les Jeux olympiques de Londres, une double table de lecture " TD/7 " munie probablement de l’unité de localisation de sillon " GLU/3 ", mais transformée tardivement pour y adapter, semble-t-il, la tête de lecture légère HMV " Hyper-Sensitive ", montée sur un bras très fin, différent de ceux portant la tête British Thomson-Houston ou la tête E.M.I. " Type 12 " ( sur l’unité " GLU/9B " ) :
Olympische Spiele - BBC Broadcasting Center für die Olympischen Spiele 1948 in London - Palace of Arts, Wembley. Ansager in einem Studio mit einem Mikrofon vor ihm und einem Grammophon, das im Hintergrund Geräte reproduziert. - PA Images / Alamy Stock Foto - 17. Juli 1948 - London England - Barratts - www.alamy.de
(https://youtu.be/p9-Zuk9HJ-E?t=11)
The radio centre at the 1948 Summer Olympics (1948) - British Pathé - 13 nov. 2020 - GAUMONT BRITISH NEWSREEL (REUTERS) - www.youtube.com
(https://youtu.be/VQrGVzwtFv8?t=4194) ( à partir de l’instant 1:09:54 )
(https://youtu.be/VQrGVzwtFv8?t=4223) ( 1:10:24 un journaliste brésilien proposant un sujet sur le basket, enregistré sur disque à gravure directe, du genre disque " Pyral " )
(https://youtu.be/VQrGVzwtFv8?t=4275) ( 1:11:16 l’interview en direct de l’équipe belge de boxe )
(https://youtu.be/VQrGVzwtFv8?t=4387) ( 1:13:07 )
La double table de lecture " TD/7 ", munie de têtes E.M.I. " Type 12 " ou H.M.V. " Hyper-Sensitive ", peut être aperçue en fonctionnement
à l’instant 6:37, dans un court documentaire de 1953 ( ici, probablement la tête H.M.V. " Hyper-Sensitive " montée tardivement sur l’unité de localisation du sillon " GLU/3 ", équipant une double table, non plus de couleur noire, mais visiblement de couleur claire ),
How BBC News was made: 1950s - Sara Hutchinson - 27 févr. 2017 - 50 BBC NEWS (TV) - Moira Stuart - The BBC Television Newsreel - Edward Halliday - www.youtube.com
à l’instant 5:16, dans un court documentaire de 1963 ( ici, la tête E.M.I. " Type 12 " montée sur l’unité " GLU/9B "),
How BBC News was made - 1960s - Sara Hutchinson - 27 févr. 2017 - 50 BBC NEWS (TV) - Anna Ford - BBC Television News - Michael Aspel - www.youtube.com
Deux tables de lecture " TD/7 ", équipées de " l’unité de localisation du sillon " " GLU/9B " :
BBC Effects - 28th October 1955: A man at work in the BBC Radio Sound Effects Department. (Photo by BIPS/Getty Images) - www.gettyimages.fr
Quelques vues de la tête EMI " Type 12 ", montée sur bras tangentiel, équipant un autre type de table de lecture de la BBC, dans un reportage de 1953 ( à partir de l’instant 2:19 ), réalisé lors de la venue de la reine sur un plateau de télévision :
Queen Visits BBC Tv Studio (1953) - British Pathé - 13 avr. 2014 - www.youtube.com
QUEEN VISITS BBC TV STUDIO (1953) - www.britishpathe.com, idem
D’autres vues de la tête de lecture EMI Type 12, visible dans le documentaire de 1959 " THIS IS THE BBC ", présentant les services de la BBC sur 24 heures,
montée sur bras tangentiel,
en fonctionnement sur diverses tables de lecture, entre les instants
2:16 et 2:20,
2:26 et 2:34,
2:48 et 2:49,
2:57 et 3:01,
3:09 et 3:12,
5:58 et 6:04,
6:06 et 6:08,
6:33 et 6:41,
dont la table TD7, entre les instants
7:42 et 7:44,
7:51 et 7:58,
50:50 et 51:01,
51:04 et 51:06,
51:24 et 51:34.
On peut aussi y voir, entre les instants 8:43 et 8:48, la table de lecture plus moderne DRD 5 ( Fine-Groove Disk Reproducing Desk 5 - vitesses 33 et 45 tours ), utilisant, non plus la tête de lecture à aiguille EMI Type 12, mais une tête de lecture de type piézoélectrique ACOS Type HGP 39-2 ( " a commercial crystal unit of the Rochelle salt type " ), pour disque microsillon monophonique :
https://youtu.be/k8VpBgxkgsY?t=460
THIS IS THE BBC - Richard Cawston’s epic 1960 documentary - bifilm - 20 mars 2022 - www.youtube.com
https://youtu.be/k8VpBgxkgsY?t=521
La chanson, présentée par l’animateur radio à l’instant 8:41, est interprétée par le groupe vocal français " Les Blue Stars "
Les Blue Stars - www.discogs
dimanche 15 novembre 2020 - Discographie Les Blue Stars / The Blue Stars of France (1954-1959) - vidéo Les Blue Stars : Summertime / C’est l’été (1958, line-up n°5)
Six chanteurs, un seul micro.
Emission TV « Trente-six chansons » du 9 février 1958 - « Summertime / C’est l’été » (Gershwin / adapt. René Rouzaud) (jamais enregistré en disque) - Chant en direct. - Claudine Meunier (soliste), Rita Castel, Mimi Perrin, frère de Jean Liesse, Jean Mercadier (soliste), Jean Liesse + Orchestre - danslombredesstudios.blogspot.com
( ROUZAUD René (1905-1976) - www.landrucimetieres )
Les Blue Stars : Avec ces yeux-là (1956) - Dans l’ombre des studios - 3 novembre 2018 - Les Blue Stars (premier groupe vocal français de jazz, créé par Blossom Dearie quelques années plus tôt) interprétant « Avec ces yeux-là » de Charles Aznavour en décembre 56. - www.facebook.com
( Charles Aznavour est présent, visible sur la vidéo jusqu’à l’instant 0:12 )
la table de lecture plus moderne " DRD 5 ", monophonique, équipée du bras de lecture " Type PUA/5 " et de la tête de lecture " ACOS Type HGP 39-2 " :
Old BBC Radio Broadcasting Equipment and Memories - Cue Grams - The DRD/5 - www.orbem.co.uk
PUA_5.pdf (15,9 Ko)
PUA_5.pdf - October 1970 - PUA/5 - PICKUP ARMS PUA/5 SERIES - www.bbceng.info
têtes de lecture - pick-up heads ACOS HGP 39-1 STD - 39-3 LP - i.ebayimg.com
This is the BBC - www.vtoldboys.com
This Is the BBC - 1959 - 1h 5min - www.imdb.com
Diane Muir-Jones, 1960 - Classic photos from the golden days of the BBC Radiophonic Workshop - By Phil Hebblethwaite - Friday 20th July 2018 -
" Diane Muir-Jones is playing a 45 on a BBC DRD/5, which was based on the Garrard 301 - a very collectable and highly regarded ‹ idler wheel › turntable. " - www.bbc.co.uk
l’évolution des tables de lecture " DRD 5 ", ici semble-t-il équipées du bras de lecture PUA/5B, pour la lecture ( peut-être toujours en mode monophonique ? ) de disques microsillons stéréophoniques et monophoniques, pourvu d’un porte-cellule muni de la cellule " Goldring G800 ", et d’un contrepoids de masse différente
1960s Success in Stereo - G800 - 1967 - www.goldring.co.uk :
la table de lecture " DRD 5 " est visible ( aux instants 10:34 et 11:08 ) dans un reportage de la BBC, filmé en 1959 par le réalisateur John Schlesinger, consacré à l’intérêt croissant porté par les britanniques pour la hifi
( où sont également aperçus, entre autres,
une séance d’enregistrement et de fabrication de disques ( semble-t-il par la maison de disques " London Recordings " ),
un passionné d’appareils hifi ( ayant placé dans sa poubelle extérieure un amplificateur " Decca Beau-Decca " de 1947, aujourd’hui encore fort recherché ( à l’instant 13:01 ) ),
des tourne-disques " His Master’s Voice ", équipés d’un bras de lecture similaire à celui qui portait la tête de lecture légère à aiguille miniature H.M.V. " Hyper-Sensitive « , mais muni tardivement d’une tête plus moderne, piézoélectrique ( " Kristal / Ceramic Type " ), rotative à double stylet pour disque 78 tours et disque microsillon monophonique ( His Masters Voice double ‹ C › cartridge type 91065C - " The pickup is a turn-over twin ceramic unit type 91065C and the styli are HMV Double ‹ C › 78 RPM and HMV Double ‹ C › 33/45 RPM. » ), des appareils disposés en grand nombre chez le grand disquaire londonien " His Master’s Voice ", à partir des instants 3:49 et 4:43 ) :
https://youtu.be/Us6hQLwG1S8?t=632 (10:34)
1959: The AUDIOPHILE’s Quest for PERFECT SOUND | Monitor | Retro Tech | BBC Archive - BBC Archive - 29 avr. 2025 - www.youtube.com
(https://youtu.be/Us6hQLwG1S8?t=664) (11:08)
John Schlesinger - en.wikipedia.org
le disquaire " His Master’s Voice " :
(https://youtu.be/Us6hQLwG1S8?t=228) (3:49)
la façade le mardi 11 juillet 1939
en avril 1949
1950’
jeudi 24 novembre 1955
hmv noir et blanc - www.gettyimages.fr
45 Black and White Photos of HMV Shop in Oxford Street, London in the 1950s - www.vintag.es
(
His Master’s Voice - 1953 - www.grammofoon.com
HMV 91065C ‹ Double C › - www.hupse.eu
Early vintage HMV Record Player - www.vintage-radio.net
HMV 1950s record player - www.vintage-radio.net
Piézoélectricité - fr.wikipedia.org
le kit de conversion tardif ( powerpoint ‹ throwaway › cartridge ), en remplacement de cette cellule rotative :
(ebay - 257306908592) )
La table de lecture " DRD 5 " ( 33 / 45 tours ) sera suivie, entre autres, par la double table de lecture monophonique RP2/1 ( 33 / 45 / 78 tours ) :
The RP2/1 - Cue Grams - www.orbem.co.uk
BBC RP2/1 twin turntable reproducing desk (3-speed, mono), 1956-1970. Based on a modified Garrard 301 turntable. - collection.sciencemuseumgroup.org.uk
.
Quelques vues de la tête de lecture " E.M.I. Type 12 ", montée sur bras tangentiel ( court ) dans les studios :
The Light Programme ‘continuity’ suite in Broadcasting House, London, 1949: In the BBC’s ‘continuity’ system, introduced during the war, an announcer and a technical operator link all the items broadcast by a particular network into a smooth-running sequence - Broadcasting in Britain: War-time Broadcasting - AUTHOR: Keith Geddes - 16 December 2022 tbs.pm/76328 - transdiffusion.org
(https://www.orbem.co.uk/mr/images/cr3.jpg) Franklin Engelmann
Sir Adrian Boult puts on his tails again - bbc25.transdiffusion.uk
SVH-005 – Radio, radar, télévision.pdf - Science et Vie, avril 1948, " LA RADIODIFFUSION ", page 76, index 94 du fichier - blary.com
ROYAL BIRTH (1948) - BBC broadcaster Franklin Engelman announces the birth of Prince Charles. London. - www.britishpathe.com
Franklin Engelmann - Desert Island Discs - www.bbc.co.uk
Franklin Engelmann - www.bbc.co.uk
Franklin Engelmann - en.wikipedia.org
(https://c8.alamy.com/compfr/2y720w0/jean-metcalfe-annonceur-de-l-emission-de-disques-family-favourites-de-la-bbc-est-fiance-pour-etre-marie-a-m-cliff-michelmore-de-la-bbc-photo-montre-le-couple-dans-le-studio-gramophone-de-la-bbc-26-janvier-1950-2y720w0.jpg)
1395444 - Jean Metcalfe , announcer on the BBC Family Favourites record programme is engaged to be married to Mr Cliff Michelmore of the BBC . Picture shows the couple in the gramophone studio of the BBC 26 January 1950 - www.topfoto.co.uk
Family Favourites 1 August 1945 - www.bbc.com
BBC Archive - 1 août 2022 - www.facebook.com
Jean Metcalfe: The Forces’ Favourite - Saturday, 29 January, 2000 - news.bbc.co.uk
BBC presenter Cliff Michelmore dies, aged 96 - Thu 17 Mar 2016 - www.theguardian.com
Cliff Michelmore obituary - Thu 17 Mar 2016 - www.theguardian.com
.
.
Ci-dessous, le bras de lecture long " Tracking Arm PUA/3 ", muni de la tête de lecture " E.M.I. Type 12 ", installé sur la table de lecture transportable " DESK DRT/1 " ( " Desk Disk Reproducer Transportable / 1 " ) de la BBC ( comprenant du matériel de la société britannique " M.S.S. ’ MARGUERITE SOUND STUDIOS ’ Recording Company Limited " ),
BBC DRT/1 disc reproducer. Two speeds (78 and 33.1/3 rpm) coarse groove transportable disc reproducer. Plays large discs. - collection.sciencemuseumgroup.org.uk
ainsi que sur les tables de lecture de la chaîne de reproduction par disque " Disk Reproducing Channel Type B2 - Aldenham 1949 " ( comprenant du matériel américain de marque " Presto " ),
visibles sur la figure 18 du document " R5 " (TI_R5_Disk Reproducing Equipment.pdf), index 114/140 du fichier,
et dans le manuel de formation à l’enregistrement " BBC Recording Training Manual " de 1950, PLATE 6, pages 106 et 107, index 123/254 du fichier
( ce bras long " Tracking Arm PUA/3 " était également présent sur les tables de gravure " Type D " de la BBC,
ainsi que sur la table de gravure " CB/E ", proposée en 1951 par la société M.S.S. ’ MARGUERITE SOUND STUDIOS ’ Recording Company Limited, établie à Poyle Close, Colnbrook, near Slough ) :
(https://coimages.sciencemuseumgroup.org.uk/373/568/medium_smg00176380.jpg)
E.M.I. Type 12 gramophone pick-up (long-arm version produced for use with 17 inch discs), c. 1945 - E.M.I - Science Museum Group - © The Board of Trustees of the Science Museum - collection.sciencemuseumgroup.org.uk
(https://i.ebayimg.com/images/g/jXAAAOSwtF9nkxjP/s-l1600.webp)
(Ebay fr n°267134187388 [Marconiphone 11 inch Vintage Pick-up Tonearm Type 12 - Circa 1940’s RARE])
Le bras long " PUA/3 " et la tête de lecture " E.M.I. Type 12 ",
installés sur la table de gravure à large plateau de marque américaine " Presto ", utilisée par la BBC ( visible dans un reportage des actualités cinématographiques British Pathé de 1943, à partir de l’instant 2:02 ) :
Museum Of Sound (1943) - British Pathé - 13 avr. 2014 - www.youtube.com
(https://www.flickr.com/photos/rfwilmut/431315709/)
Olympia - BBC Broadcasting Centre für 1948 London Olympia - Palast der Künste, Wembley - www.alamy.de
(https://youtu.be/p9-Zuk9HJ-E?t=15)
The radio centre at the 1948 Summer Olympics (1948) - British Pathé - 13 nov. 2020 - GAUMONT BRITISH NEWSREEL (REUTERS) - www.youtube.com
(https://youtu.be/VQrGVzwtFv8?t=2882) ( 48:04 )
(https://youtu.be/VQrGVzwtFv8?t=4140) ( 1:09:01 )
Le même type d’équipement installé dans les stations régionales de la BBC, ici dans les studios décentrés de l’ouest de l’Angleterre :
( " ‘THE PROGRAMME WAS RECORDED’ – But the fact shouldn’t be noticed. High quality reproduction is vital in broadcasting, and the recording engineers work to exacting standards. " )
The show goes on - First Published 1949 by BBC West - whiteladies.televault.rocks
et sur les tables de gravure de la chaîne ( du système ) d’enregistrement sur disque " Type D " de la BBC :
Fragments of an informal History of Broadcasting - Recording at the BBC - 4 DIRECTLY-CUT DISKS - Roger Wilmut - rfwilmut.net
Around the World In 80 Lathes, Part 27 - December 2, 2022 - Issue 177 - Revolutions Per Minute - Written by J.I. Agnew - www.psaudio.com
BBC Recording desk with microphone amplifier - (description from Bristol list). Early recording desk -photo in Pawley. - collection.sciencemuseumgroup.org.uk
L’article " Recorders and reproducers - recording media and techniques employed by the BBC - description of latest english lightweight pickups - by James Moir ",
de la revue américaine " FM - TV, the JOURNAL of RADIO COMMUNICATION ", de janvier 1951, pages 14/15/28, rapportant les dernières techniques d’enregistrement sur disque mises en œuvre à la BBC ( la chaîne d’enregistrement " Type D Recording Channel " ), ainsi que les dernières réalisations anglaises en matière de pick-up léger ( têtes de lecture " E.M.I. Type 12 " et " Decca XMS " ) :
Le manuel technique concernant le système de gravure sur disque " Type D ", d’octobre 1949 :
Un autre document fort instructif de la BBC, daté de 1950 : le manuel de formation à l’enregistrement " BBC Recording Training Manual ",
sur disque
( MSS ’ MARGUERITE SOUND STUDIOS ’ Disk Recorder / BBC Portable Disk Recording Equipment Type C / Presto Disk Recording Equipment Type 8N / BBC Disk Recording Equipment Type D ),
sur bande magnétique
( Marconi-Stille ’ Blattnerphone ’ / Magnetophon / E.M.I. Magnetic Recorder ’ British Tape Recorder BTR/1 ’ )
et sur film photographique
( Philips-Miller ).
Il décrit notamment la tête de lecture E.M.I. Type 12 ( à partir de la page 91, index 105/254 du fichier ), montée sur bras tangentiel, court ou long, et sur bras long plus classique ( radial, classique, pivotant ).
Il contient de nombreuses informations sur l’enregistrement monophonique et la reproduction sur disque, en usage à l’époque, la description des tables de lecture Disc Reproducing Desk " Type DRD/1 " ( équipée de l’unité de localisation du sillon " GLU/10A " ) et " Type DRD/1A " ( " équipée d’un simple bras tangentiel, sans vernier de réglage et sans abaissement du bras de lecture automatique / commandable à distance " ), à large plateau et long bras tangentiel ( index 115 à 121/254 du fichier, pages 101 à 107 PLATE 4 et 5 ), de préamplificateurs phonographiques créés par les services de la BBC, etc…:
BBC Recording Training Manual.pdf - 1950 - www.worldradiohistory.com
Index of /UK/BBC/BBC-Books - www.worldradiohistory.com
- Élément
La table de lecture à large plateau Disc Reproducing Desk " Type DRD/1A " ( à priori incomplète, sans le système de lecture d’origine à bras tangentiel long, remplacé semble-t-il ici, tardivement, par d’autres bras de lecture ) :
BBC DRD/1A single turntable disk reproducing desk c.1948. This was suitable for either 78 rpm or 33 1/3 rpm standard groove recordings on disks up to the maximum size then used (17 1/4 inches diameter). This 1A version is fitted with two pickup arms. The original looks like EMI type, the later one looks like a modified SME. - collection.sciencemuseumgroup.org.uk
Le manuel similaire " BBC ENGINEERING TRAINING MANUALS - SOUND RECORDING AND REPRODUCTION ", sous la forme d’une réédition de 1952 pour la revue britannique " Wireless World " :
BBC-Engineering-Training-Manual-Sound-Recording-and-Reproduction-Wireless-World-Publication-1952.pdf - 1/275 - www.worldradiohistory.com
Index of /UK/BBC/BBC-Technical/BBC-Training - www.worldradiohistory.com
La table de gravure ( pour les disques à enregistrement et lecture directs ) de l’inventeur britannique ( ’ British inventor ’ ) Cecil Watts, fabriquée par sa société " M.S.S. ’ MARGUERITE SOUND STUDIOS ’ RECORDING CO. LTD. ", utilisée par les services de la BBC avant-guerre, est décrite dans le document " DISC RECORDING MACHINE - Technical Instructions - Item 6.2. - September, 1938 - ‹ WATTS › DISC RECORDING MACHINE " :
DISC RECORDING MACHINE - Technical Instructions - Item 6.2. - September, 1938 - ‹ WATTS › DISC RECORDING MACHINE - www.bbceng.info
Ce type de table de gravure est visible, en fonctionnement, dans un film d’actualités British Pathé de 1943, à partir de l’instant 2:25 :
Museum Of Sound (1943) - British Pathé - 13 avr. 2014 - www.youtube.com
La table de gravure " CB/E ", proposée en 1951 par la société M.S.S. ’ THE MASTER SOUND SYSTEM ’ ( anciennement ’ MARGUERITE SOUND STUDIOS ’ ) Recording Company Limited, équipée de la tête de lecture E.M.I. Type 12 sur bras long ( du type " PUA/3 " ) :
(https://graces-guide-s3-live.s3.amazonaws.com/gracesguide/0/02/Im195112WW-MSS.jpg)
Une publicité parue dans la revue britannique " WIRELESS WORLD " d’avril 1952, page 37, concernant les différents types de disques à graver proposés par la société " M.S.S. ’ THE MASTER SOUND SYSTEM ’ ( ex ’ MARGUERITE SOUND STUDIOS ’ ) RECORDING COMPANY LIMITED " :
L’enregistrement d’un office religieux catholique en Angleterre, retransmis par la BBC le lundi 19 juillet 1937, réalisé ( à l’émission ? ou à la réception ? ) sur quatre disques à enregistrement direct ( de 30 cm, du genre disque " Pyral " français, " 4 auto-coupling 12" metal coated transcription acetates " ) de la société " M.S.S. Recording Company Ltd. ", probablement sur l’une de leurs machines et peut-être par leurs services (?) :
M.S.S Recording Company Ltd - The Master Sound System’ - 78rpm & LP records - Colnbrook -
" MSS originally stood for Marguerite Sounds Studios (later Master Sound System) and was founded in 1933 by Cecil Watts and named after his partner, Marguerite, whom he later married. " - recordedchurchmusic.org
Earliest surviving radio broadcast in the Archive : 1937 - St Edmund’s Roman Catholic College Chapel, Ware - directed by Revd Wilfrid Purney - organist, Revd Hugh Thompson - Listed in Radio Times as ‹ A Religious Service › consisting of Vespers and Benediction - Broadcast on BBC radio, 19 July 1937 -
Electrical acetate transcription disc - recordedchurchmusic.org
St Edmund’s College, Ware - en.wikipedia.org
( à propos des disques français " Pyral " de l’entreprise " Pyrolac " :
" Dans le numéro d’aout 1939 de la revue Radio-Ref, il y a un article sur les disques Pyral. C’est lisible en ligne ici page 494 :
https://adherents.r-e-f.org/radioref/get.php?annee=1939&edition=08-09 "
Recherche Documentation sur Entreprise Pyral - #3 par f1tay
" Le brevet déposé en 1946 délivré en 1951 au nom d’Albert Barbier Saint-Hilaire
FR 1001269 A Perfectionnements à la fabrication des disques de phonographes.pdf (1,1 Mo)
L’extrait de l’article " Moyens d’enregistrement utilisés en radiodiffusion en France et survol de quelques étapes technologiques " par Jacques Van den Driessche, paru dans la revue " radiofil magazine " n°59, " Numéro SPECIAL AUDIO " de novembre-décembre 2013, concernant notamment la gravure sur disque souple ( et lecture directe ) :
)
Un autre exemple d’enregistrement effectué avec le matériel de la société " M.S.S. Recording Company Ltd. ", en août 1938 :
Recording discovered of 1938 world premiere performance of Britten Piano Concerto - 10 July 2015 - blogs.bl.uk
(https://britishlibrary.typepad.co.uk/files/end-of-third-movement-1938.mp3)
Une table de gravure différente, probablement conçue par cette même société " M.S.S. Recording Company Limited ", munie du pick-up léger H.M.V. " Hyper-Sensitive " ( ici de longueur et pour un plateau de taille standard ), visible sur un cliché de mai 1946, réalisé dans les studios His Master’s Voice, lors de l’enregistrement de la musique du film " Spring Song " (1946 ) :
Spring Song - May 1946: Mr J Lovelock checking a new disc at the HMV recording studios during the recording of music for the film ‹ Spring Song ›. (Photo by George Konig)
Spring Song - 1946 - 1h 20min - www.imdb.com
(https://www.rarefilmposters.com/wp-content/uploads/Spring-Song-TA-scaled.jpg)
Cette société et la BBC avaient conjointement développé un graveur de disque portable, le " BBC ’ Midget ’ disc recorder, type RDP/1A ", pour reportage sur le front :
BBC ‹ Midget › disc recorder, type RDP/1A/161, 1944 - collection.sciencemuseumgroup.org.uk
BBC ‹ midget › portable disc recorder RDP/1A/139, made by the BBC and the Marguerite Sound Studios (MSS) Company, c.1944 - collection.sciencemuseumgroup.org.uk
( " Using a midget recorder in the front line " )
Category: World War II - bbc25.transdiffusion.uk
For the Forces - www.bbc.com
( " Robin Duff, BBC War Correspondent assigned to the U.S Forces.
Using a specially developed midget recorders for front-line reporting. "
" Robin Duff, correspondant de guerre de la BBC, réalise un enregistrement lors du débarquement en Normandie, le 6 juin 1944. " )
A BBC reporter describes paratroops landing in Normandy on D-Day. - www.bbc.co.uk
C.D Adamson, engineer correspondent of the BBC War Reporting Unit, with a midget Recorder - Midget recorders, weighing only 35 Ibs, were developed by the BBC for the front-lines. - www.bbc.co.uk
Midget recorder - canvas-story.bbcrewind.co.uk
Le correspondant / reporter de guerre de la BBC, Frank Gillard :
(https://www.spectator.co.uk/wp-content/uploads/2022/01/Frank-Gillard-Getty.jpg)
Frank Gillard - en.wikipedia.org
Frank Gillard - www.bbc.com
Le pick-up H.M.V. " Hyper-sensitive " / E.M.I. Reproducing Head Type 12, utilisant les aiguilles miniatures, dans une version démontable, interchangeable avec le bras ( brosse ) de ramassage des copeaux de gravure, équipait également la table de gravure transportable de la BBC " Type C ", fabriquée entre 1939 et 1944 :
Old BBC Radio Broadcasting Equipment and Memories - The War Years: 1939-1945 - BBC Type C Disc Recorders - www.orbem.co.uk
Fragments of an informal History of Broadcasting - Recording at the BBC - 4 DIRECTLY-CUT DISKS - Roger Wilmut - rfwilmut.net
Ce type d’enregistreur utilisé dans une voiture de reportage de la BBC, le lendemain de la victoire de 1945 :
ID: 408741 - Description: Victory Report - Picture shows interior of the BBC Recording car with unidentified BBC staff member, as it records a commentary for the BBC programmes Radio News Reel and Victory Report while Their Majesties The King and Queen and the Two Princesses visit London’s East End. They will be received by Mrs. Harding the Lady Mayor of Ilford on the 2nd VE Day 9th May 1945. - Date Taken: 09/05/1945 - BBC PHOTO ARCHIVE - Back to Curated collections - World War II - World War II: Victory in Europe - bbcphotosales.co.uk
Un autre type de voiture de reportage, similaire, utilisée dans l’ouest ( le sud-ouest ) de l’Angleterre :
( " ‘HOW DID WE SOUND?’ – At Camp in Gloucester an engineer plays back recordings made there for ‘Village on the Air’. Speakers listen anxiously to the sound of their voices, and neighbours comment on their success. " )
Recording Cars - whiteladies.televault.rocks
Deux de ces enregistreurs sur disque " Type C ", en fonction en 1948 au centre radiophonique provisoire de la BBC, installé au Palais des Arts de Wembley pendant les Jeux olympiques de Londres :
Olympische Spiele - BBC Broadcasting Center für die Olympischen Spiele 1948 in London - Palace of Arts, Wembley. Ein Ingenieur bei der Arbeit im Aufnahmeraum - www.alamy.de
Quelques informations sur la tête de lecture " E.M.I. Reproducing Head Type 12 " ( similaire à la tête H.M.V. " Hyper-sensitive ", d’aspect extérieur légèrement différent par l’adjonction d’un doigt de préhension ( doigt lève-bras ) ), index 16 et 17/50 du fichier " TI_R3_BBC Portable Disk Recording Equipment.pdf ", pages 11 et 12 du livret " TECHNICAL INSTRUCTION R3 BBC Portable Disk Recording Equipment " :
TI_R3_BBC Portable Disk Recording Equipment.pdf - www.bbceng.info
( Quelques ressources / documentations sur les appareils utilisés par la BBC :
BBCeng.info - Recollections of BBC engineering from 1922 to 1997 - www.bbceng.info
BBCeng.info - Recollections of BBC engineering from 1922 to 1997 - Technical Instructions - www.bbceng.info
BBCeng.info - Recollections of BBC engineering from 1922 to 1997 - Technical Instructions - pre 1960 - www.bbceng.info
BBCeng.info - Recollections of BBC engineering from 1922 to 1997 - Technical Instructions - post 1949 - www.bbceng.info
Old BBC Radio Broadcasting Equipment and Memories - Site Index - www.orbem.co.uk
BBC - Research & Development - Archives - www.bbc.co.uk
WorldRadioHistory.Com - Index of /UK/BBC - www.worldradiohistory.com
WorldRadioHistory.Com - Index of /UK/BBC/BBC-Books - www.worldradiohistory.com
WorldRadioHistory.Com - www.worldradiohistory.com
collection - BBC - collection.sciencemuseumgroup.org.uk )
Le lecteur de disque portatif ( tranportable ) DESK DRT/2 ( Disk Reproducer Transportable / 2 ) de la BBC, équipé de ce type de tête de lecture :
B.B.C Outside Broadcast - Gram Deck / Record Player - Circa: Late: 1930’s - Mid 1950’s - Used for radio play-outs of Gramophone records and recorded discs. - www.cinephonics.co.uk
Needles? - Sat Jan 15, 2022 6:04 pm - forum.talkingmachine.info
Rebombori 25 avril 2019 - www.facebook.com
Needles? - Sun Jan 16, 2022 5:43 pm - forum.talkingmachine.info
BBC DRT/2 O.B. reproducing desk (turntable & PFL preamp) - Burmese Colour Needles - 30 déc. 2017 - " If It’s News To You " Little Esther ( U.S. Savoy 1516, from 1956 / Roots Of Rock ‹ N › Roll, Vol. 5: Ladies Sing The Blues ) - www.youtube.com ( selon les commentaires laissés avec cette vidéo, l’appareil a été restauré par un spécialiste des systèmes électroniques de la BBC, Dave Tutt
Tutt-technology - tutt-technology.co.uk )
Burmese Colour Needles - www.burmesecolourneedles.com
Burmese Colour Needles - @burmesecolourneedles4680 - Vidéos - www.youtube.com
The Haunted Radiogram - @thehauntedradiogram4976 - www.youtube.com
The Radio Museum, Watchet - www.orbem.co.uk
The Radio Museum Home - www.radiomuseum.uk
Une vidéo britannique présentant un pick-up léger " His Master’s Voice " restauré, muni de la tête de lecture H.M.V. " Hyper Sensitive " ( similaire à la version professionnelle E.M.I. Type 12 ( utilisée par la BBC ), dont l’aspect ( extérieur ) du boitier diffère légèrement par rapport à la version française de Pathé-Marconi ), jouant, muni d’une aiguille miniature de longue durée " Columbia 99 ", " Fat Li’l Fella wid his mammy’s eyes / Shortnin’ Bread " de Paul Robeson ( album Swing Low, Sweet Chariot ) :
H M V lightweight pickup - Martin h - 6 août 2022 - " Fat Li’l Fella wid his mammy’s eyes / Shortnin’ Bread " Paul Robeson ( Swing Low, Sweet Chariot ) - www.youtube.com
.
Une brochure provisoire de la société britannique E.M.I., de sa branche " amplification du son ", concernant la table de lecture à deux plateaux PX. 454, équipée de têtes de lecture " E.M.I. Type 12 " :
[E.M.I. SOUND AMPLIFICATION DIVISION PX. 454 DOUBLE TURNTABLE UNIT PROVISIONAL LEAFLET]
La table de lecture à deux plateaux E.M.I., peut-être dans sa livrée définitive, ici semble-t-il fabriquée pour la société britannique de matériel cinématographique " Western Electric Company Limited " ( ou peut-être " Standard Telephones and Cables Limited. (STC)." ? ) :
(https://www.cinephonics.co.uk/uploads/3E5T9MBH/737x0_390x0/rsz_western_electric_turntable.jpg)
( Une autre table de lecture à deux plateaux britannique, proposée par la société " The British Thomson Houston Company Limited ", équipée de platines et pick-up de marque " Garrard ", munis de têtes enfichables / démontables, fonctionnant peut-être avec des aiguilles de tailles courantes (?) et non pas miniatures (?) ( présence d’une vis de blocage de l’aiguille ) :
( " GARRARD, DECCA. Three-pin plug-in heads are a feature of this set-up. The two top pins are for the signal, the lower pin for the ground (shield) connection. More research is needed here; we’re quite coming out of our usual 1920s -1930s time range! The interchangeable head is mostly associated with microgroove vinyl – i.e. 1949 onwards. But here are such heads which are resolutely for 78s, and therefore strictly 1940s/1950s. Enthusiast Peter Sol saw this page, and kindly reported that the three-pin plug-in format was very possibly an early example of rival companies adopting a standard format, in which they could compete on ‘a level playing field’. The primary compmanies who adopted this 3-pin format seem to have been Decca and Garrard, however, one (or both) of those companies made only the heads, and bought in the arms from BSR (Birmingham Sound Reproducers) of Old Hill, Staffordshire. "
Electric 4 | My Website )
une vidéo présentant ce type de pick-up " Garrard " restauré :
Garrard, Linguaphone, Solophone Gramophone player Circa late 1940’s 1950’s - Martin h - 2 oct. 2023 - " HIT THE DECK " - Sometimes I’m Happy ( Cass Hagan & His Orchestra - Columbia Records CAT No.4612 ) - www.youtube.com
une autre vidéo présentant ce type de pick-up Garrard restauré et ( statiquement ) un pick-up Garrard de taille plus réduite, également enfichable sur le même type de bras en Bakélite, utilisant les aiguilles miniatures pour disque 78 tours ou microsillon monophonique :
GARRARD Early Cartridge type Pickup system for 78’s circa 1940’s - Martin h - 14 août 2025 - " Liebstraum " - Fox-trot ( Tommy Dorsey & His Orchestra - H.M.V Records Cat No. B.8578 ) - www.youtube.com )
Un ensemble double table de lecture similaire, sur socle métallique, " réservé à l’équipement des cabines cinématographiques ", fabriqué par la société française I.M.E. PATHÉ-MARCONI, le lecteur de disques à 2 plateaux LA VOIX DE SON MAITRE Série P.F.T. :
(https://img.leboncoin.fr/api/v1/lbcpb1/images/86/01/1b/86011b25584e4d37a8aee26aa9b6df3a4f6a630d.jpg?rule=ad-thumb)
https://data.inpi.fr/image/dessins_modeles/FR34199?ref=002
Modèle FR : 34199-002 - Tourne-disques - Date de dépôt 22/02/1945 - Date de publication 17/08/1945 - data.inpi.fr
Une version à un seul plateau, le lecteur de disques à 1 plateau LA VOIX DE SON MAITRE Série P.F.T. 7 - " réservé à l’équipement des cabines cinématographiques " :
(https://img.leboncoin.fr/api/v1/lbcpb1/images/b4/41/68/b44168642d55b1d9ed959dd27be9fdad0617b30b.jpg?rule=ad-large)
(https://img.leboncoin.fr/api/v1/lbcpb1/images/ac/72/fd/ac72fd265502411aba8b94d12f70ba22247176db.jpg?rule=ad-large)
Une double table de lecture similaire, portative, proposée par la société française I.M.E. PATHÉ-MARCONI, le lecteur de disques à 2 plateaux LA VOIX DE SON MAITRE Série P.F.T. 4 :
Un modèle légèrement différent ( peut-être un prototype ou une présérie ), ne disposant pas du stroboscope noir et blanc dessiné sur le pourtour des plateaux, ni de son ampoule, équipé de 3 boutons de commande au lieu de 4, et d’un autre type :
Modèle FR : 33634-001 - Tourne-disques - Date de dépôt 09/03/1944 - Date de publication 03/04/1944 - data.inpi.fr
Une version à un seul plateau, le lecteur de disques à 1 plateau LA VOIX DE SON MAITRE Série P.F.T. 5 :
Modèle FR : 35090-001 - Tourne-disques - Date de dépôt 03/04/1946 - Date de publication 18/05/1946 - data.inpi.fr
Une valisette similaire est présentée sur une colonne ( de dos ), sur le stand Pathé-Marconi de la foire de Marseille 1948 ( à gauche sur ce cliché ) :
(https://www.laprovence.com/article/actualites/3052820/marseille-ca-fait-90-ans-que-cest-la-foire.html)
(https://www.picclickimg.com/hyoAAOSwddZlJllJ/electrophone-LA-VOIX-DE-SON-MAITRE-Lecteur-disque.webp)
(https://img.leboncoin.fr/api/v1/lbcpb1/images/28/39/61/283961c1438d55781257f97c2baf00f869f0b76e.jpg?rule=ad-large)
(https://anto291.typepad.com/.a/6a0133f38798fd970b022ad3b6b861200b-800wi)
Jazzin’Nice - 70 anni di amore per il Jazz a Nizza - 10/07/2018 - anto291.typepad.com
Les dessous de ces plateaux sont siglés " ALUVAC " " 3679 ", le nom d’une usine située à Nanterre, une fonderie de précision pratiquant le moulage sous pression, crée par Ferdinand de Vazeilles et M. Croissant, où furent fabriqués les premier jouets de la marque " Solido " ( certains présentaient un stroboscope peint sur leur tranche, d’autres non ) :
aluvac.pdf - Nanterre info - décembre 2002 pages 46 - 47 - Solido : une marque née à Nanterre
Deux plateaux " La Voix de son maître " comparés dans leur taille, siglés " ALUVAC " " 3679 " et " 3680 " pour le petit modèle, de diamètres 30 et 25 cm :
( Quelques années auparavant, la firme française " Pathé " proposait, un peu dans le même esprit que ces appareils de sonorisation portatifs, ses valises tourne-disques, dotées de moteurs mécaniques ou électriques, amplifiées ou avec amplificateur extérieur, présentées dans son catalogue " T.S.F. et PANATONAL " de 1931 :
la valise " PANATONAL type Pathé-Rural ", amplifiée à deux plateaux, moteurs mécaniques et haut-parleur diffuseur portatif séparé :
la valise restaurée avec soin et persévérance, en état de jouer,
#44 RARISSIME Pathé RV2 à Amplification Eléctrique - Théo Micallef (FoliedesPhonos63) - 30 déc. 2022 -
" Where or When " Benny Goodman Trio -
" Sugarfoot Stomp " Benny Goodman ( Stompin’ At the Savoy )
( Théo Micallef (FoliedesPhonos63) - @theomicallef2214 )
la partie électronique, réparée avec passion,
Réparation d’un ampli OTL de phonographe Pathé de 1930 - Paul MACCA - 12 nov. 2022 -
Titre de la Chanson: C’est Pour Raymond
Valse Chantée
Interprété Par M. Galiardin, De l’Empire (Fantaisie avec Accordéon & Banjo)
Disque 78 tours Gramophone K-5773 Matrice 50-652
Enregistré en 1930
( Paul MACCA - @paulmacca3974 )
le modèle de valise amplifiée à un seul plateau,
Accueil > Catalogue général > La Nature > 1931 : Cinquante neuvième année, deuxième semestre : n. 2860-2871 > p.426 PHONOGRAPHES ET RADIOPHONOGRAPHES MODERNES Fig. 8.
la version portable à deux plateaux, avec amplification séparée,
AMPLIFICATEUR PANATONAL type ’ PATHÉ-RURAL ’ :
(https://i.ebayimg.com/images/g/O7UAAOSwlP9djzOs/s-l1600.webp)
Pathé TSF EXTRAIT DU CATALOGUE DES APPAREILS DE T.S.F. ET MACHINES PARLANTES à Amplification électrodynamique et électromagnétique 1929 - 1930 :
(https://img.leboncoin.fr/api/v1/lbcpb1/images/fc/e4/10/fce4106276a5940aee465fe87abaf5c43021a653.jpg?rule=ad-large)
(https://img.leboncoin.fr/api/v1/lbcpb1/images/35/48/f6/3548f65e97a86a79ca7e876f879b3c0213ae5569.jpg?rule=ad-large) )
Parmi les nombreuses références d’appareils utilisant cette tête de lecture légère ( à aiguille miniature ), au catalogue de la société française I.M.E. Pathé-Marconi,
l’appareil enregistreur de son ( sur disque ), transportable ( le bras léger est visible à gauche sur l’appareil ; sur la droite, une tête de lecture " La Voix de son Maître n°11 " ( H.M.V. N°11 ) est peut-être présente, attachée à un bras long ? ) :
Modèle FR : 33634-003 - Appareil enregistreur de son - Date de dépôt 09/03/1944 - Date de publication 03/04/1944 - data.inpi.fr
un appareil approchant par son bras de gravure, proposé en janvier 1949 par la société britannique " His Master’s Voice ", " Portable Disc Recorder Model 2300 ou 2300H ", également équipé de l’un de ses pick-up légers ( fonctionnant aussi au moyen d’aiguilles miniatures ) :
HMV 2350 H and 2351 H ribbon mics His Master’s Voice - Portable Disc Recorder Model 2300H - coutant.org
.
.
l’électrophone portable La Voix de son maître P.F.A. 610 :
Modèle FR : 35938-001 - Amplificateur en deux éléments, l’un avec amplificateur et tourne-disques, l’autre avec haut parleur - Date de dépôt 17/01/1947 - Date de publication 09/04/1947 - data.inpi.fr
(https://forum.retrotechnique.org/uploads/default/original/2X/3/333e3587f7bb965a0c17346cda70c6f40b655c27.jpg)
La Voix De Son Maitre Electrophone Portable Model P.F.A. 610 (France 1957)_2 - flickr.com
(https://hifivintage.eu/11634-large_default/la-voix-de-son-maitre-78t-electrophone-hifi-vintage-repairs.jpg)
(https://forum.retrotechnique.org/uploads/default/original/4X/5/6/a/56aa383d2ea18907536001970580e82f1b9fa968.jpeg)
(https://forum.retrotechnique.org/uploads/default/original/2X/7/7a592ece13473f8722ba9ac70b308549dd313d27.jpg)
Modèles/marques Phono : la Voix de son maître 22 juin 2014 - forum.retrotechnique.org
L’électrophone portatif La Voix de son maître Type 610 A
(https://www.doctsf.com/la-voix-de-son-maitre-610_i17468M3)
(https://www.doctsf.com/la-voix-de-son-maitre-610_i17468M2)
La Voix de Son Maître 610 - doctsf.com
10 juin 2007 ELECTROPHONE A LAMPES LA VOIX DE SON MAITRE TYPE 610A/@ MOV06816 MOV06820 video - lavoixdesonmaitr.canalblog.com
L’électrophone La Voix de son maître Type 3345 :
Modèle FR : 36307-003 - Electrophone - Date de dépôt 25/04/1947 - Date de publication 31/07/1947 - data.inpi.fr
Une publicité parue en avril 1948 :
Le tourne-disques La Voix de son maître Type 254 :
(https://forum.retrotechnique.org/uploads/default/original/3X/6/9/6965f2ca7645187b2cbfdcc57b291526498de62f.jpeg)
(https://forum.retrotechnique.org/uploads/default/original/3X/b/3/b313a7652ab48a3b97de6a8045e2d90a9101d783.jpeg)
Réparation Pick-up La Voix de son Maitre et électrophone Claude juil. 2017 - forum.retrotechnique.org
( Ici, les moteurs " MELODYNE " employés sont de deux types différents, n° 7 et n° ?, pour semble-t-il un même modèle de tourne-disques.
La base du bras de lecture ( le carter, l’enjoliveur ) pouvait aussi varier dans son aspect extérieur, selon les modèles ( à priori, deux finitions différentes ),
ainsi que l’aspect et le diamètre des plateaux utilisés. )
Un tourne disque La Voix de son maître ( avec moteur MELODYNE 7 ), peut-être installé dans un coffret artisanal :
Mélodyne 7 - Phono tiroir - mer. 10 avr. 2013 18:35 - audiovintage.fr - Index du forum -Présentation de vos matériels - TSF - www.audiovintage.fr
Un moteur MELODYNE 7 installé sous une autre platine du groupe I.M.E. :
( l’adresse de la succursale lyonnaise des Industries Musicales et Electriques Pathé Marconi : 134, Rue Boileau, 134 LYON (Rhône) )
(PATHE MARCONI platine de phonographe électrique (circa 1940)/antique-marcbea.com)
Dans un ancien sujet de ce forum, quelques vues d’un moteur démonté " MELODYNE " ( fabriqué par les " Industries Musicales et Electriques Pathé-Marconi " ), installé dans une valise tourne-disques siglée Thomson-Houston ( peut-être une collaboration entre les deux sociétés françaises, pour proposer un pick-up portable sous le marque Thomson-Houston (?) ).
On y aperçoit aussi le démontage d’une tête de pick-up, commercialisée par la " Compagnie Française Thomson-Houston ", le " type T " à haute impédance, un type de tête qui équipait aussi, semble-t-il, la double table de lecture " TD/7 " de la BBC, munie alors de " l’unité de localisation du sillon " ( Groove-locating Unit ) " Type GLU/3 " ou " Type GLU/2 ", à bras tangentiel ( dont la tête était fabriquée au Royaume-Uni par la société British Thomson-Houston / B.T.H. ),
avant l’arrivée de la tête de lecture légère " E.M.I. Type 12 " ( la version professionnelle, notamment destinée à la BBC ( à partir de 1941 ? ), de la tête britannique " H.M.V. Hyper-sensitive " ( 1938 ), fonctionnant avec les nouvelles aiguilles miniatures ) :
Tourne-disques Thomson-Houston: remontage et essais - 19 juil. 2018 - Forum RETROTECHNIQUE - Technique - forum.retrotechnique.org
Thomson VTD ( Valise Tourne-Disques ) - Grammofoons - Nederlands Grammofoon Genootschap - www.grammofoon.com
Marque : Thomson-Houston - Pays d’origine : France - Compagnie Française Thomson-Houston - Modèle : VTD ( Valise Tourne-Disques ) - Année : ? - www.doctsf.com
Marque Thomson - www.doctsf.com
https://fr.wikipedia.org/wiki/Compagnie_française_pour_l’exploitation_des_procédés_Thomson-Houston
( un brevet qui pourrait peut-être correspondre à ce type de pick-up ? :
GB2427831A·1931-08-28 / GB379100A·1932-08-25 / Improvements relating to apparatus for the electrical reproduction of sound / THE BRITISH THOMSON-HOUSTON COMPANY, LIMITED; LEONARD BERTRAM AULT; THOMAS FREDERICK ROBINSON
(https://worldwide.espacenet.com/patent/search/publication/GB379100A)
FR731491DA·1932-02-17 / FR731491A·1932-09-03 / Perfectionnements aux appareils de reproduction des sons / COMPAGNIE FRANCAISE POUR L’EXPLOITATION DES PROCEDES THOMSON-HOUSTON
(https://worldwide.espacenet.com/patent/search/publication/FR731491A)
BE386486DA·1932-02-16 / BE386486A·1932-03-31 /
(https://worldwide.espacenet.com/patent/search/publication/BE386486A)
)
(https://i.ebayimg.com/images/g/SosAAOSwsZRoF5Uh/s-l1600.webp)
https://www.youtube.com/watch?v=92pAY0f_-hU
Tourne-disque Thomson-Houston - 22 juil. 2018 - www.youtube.com
.
.
le pick-up " type T " à haute impédance équipait aussi le Radio-phono Ducretet-Thomson C 852 de 1937 :
son moteur :
(https://forum.retrotechnique.org/t/852-20/124638)
visible en arrière-plan de cette publicité ( issue du catalogue saison 1937-1938 ? ), l’un des trois stands Ducretet-Thomson lors de l’Exposition internationale de 1937, situé sous la Tour Eiffel dans le Pavillon de la Photographie, du Cinéma et de la Phonographie, peut-être dans une salle accessible à droite des escaliers de l’entrée principale :
(https://pop.culture.gouv.fr/notice/memoire/AP71L00760)
Paris 1937, l’exposition internationale des arts et des techniques - Ciné-Archives - 8 déc. 2023 - www.youtube.com ( à partir de l’instant 11:15 )
le Pavillon Ducretet-Thomson sur l’Esplanade des Invalides, situé à côté du Palais de l’Air :
(http://6bm8.lab.free.fr/docs_en_stock_593.htm)
(ebay/376456276163)
aperçu en arrière-plan de cette publicité, le pavillon Ducretet-Thomson, surmonté d’un poste radio stylisé, ressemblant au modèle C862 (?) :
Catalogue - 1937? - Ducretet-Thomson - archives.doctsf.com
(https://www.doctsf.com/ducretet-thomson-c-862/f562)
(ebay/156954391961)
.
.
ainsi que le Radio-phono Ducretet-Thomson C 65 de 1934, semble-t-il :
https://www.youtube.com/watch?v=6PhybK5yi4A
RADIO ELECTROPHONE DUCETET THOMSON - phonogalerie - 4 août 2009 - www.youtube.com
(https://www.doctsf.com/ducretet-thomson-c-65-combine-radio-phono/f7933)
(Radio vintage Ducretet Thomson con giradischi/grandvintage.it)
.
.
l’électrophone Thomson modèle " Lulli " type E.40 équipé de ce pick-up à haute impédance, illustrant une publicité parue le samedi 19 décembre 1936 :
(https://i.ebayimg.com/images/g/0Q0AAOSwhBJbvlZY/s-l1600.webp)
( à propos du disque 78 tours aperçu sur celle-ci, " Giration ",
" Ce ballet a été composé à la demande de la Compagnie THOMSON-HOUSTON, dont les machines parlantes en ont assuré l’exécution lors de sa création au Théâtre des Champs-Elysées, le 22 mars 1934.
Il a été édité phonographiquement le 12 janvier 1934, sur disque COLUMBIA LFX337 ( Grand Prix du Disque 1934 ), par onze solistes des CONCERTS COLONNE, sous la direction de Monsieur Gabriel PIERNÉ. "
Giration - Orchestre des Concerts Colonne - 31 mai 2014 - www.youtube.com
Giration - Philharmonie Luxembourg - 20 janv. 2015 - www.youtube.com )
une autre publicité de 1936 présentant l’électrophone " Lulli " type E.40, probablement parue dans l’hebdomadaire " L’Illustration " :
(https://i.ebayimg.com/images/g/8BUAAOSwkfRbvla8/s-l1600.webp)
.
1936
Thomson-Houston Les Machines Parlantes Thomson Catalogue - archives.doctsf.com
( à propos de cette photo de couverture :
la même photographie de Marianne Ivanoff par Aram Alban, réutilisée dans le catalogue Ducretet-Thomson - Art et Technique saison 1936-1937, pour l’électrophone 615 " Rameau " ( ici présenté dans sa version tardive, équipé d’un bras de pick-up d’origine américaine RCA ( parfois aussi siglé GE / General Electric, Philco…), d’un amplificateur différent de celui de 1930 ( 75 76 2A3 2A3 5Z3 en 1936, mais semble-t-il par la suite 6F5 6C5 6L6G 6L6G 5Y3G, selon un catalogue de 1939-1940 ) et d’un autre type de culasse pour le haut-parleur à excitation ) :
(
( 1938 )
https://www.doctsf.com/ducretet-615-rameau/f16120/o=y ( 1939 )
( 1939/1940 )
https://www.radiomuseum.org/r/ducretet_electrophone_rameau_615.html
) ( AFFICHE de Roger Wild, pour les Conférences Charles Cros.
ROGER WILD, Peintre, dessinateur, artiste du livre français - davedd.free.fr )
[Roger Wild - Lot 638: Roger Wild (1894-?), Danseuse au phonographe, gouache sur
papier, signée, 72x56 cm - Piguet Hôtel des Ventes | Genève - March 13, 2012 - www.invaluable.com]
( collection Serge Lifar
Serge Lifar - fr.wikipedia.org ) ( 1932 )
(ebay/126258338389)
( " LES COULISSES DU DISQUE " vendredi 11 novembre 1932 )
( 1932 )
(ebay/335639788623)
( " LE DISQUE D’ACCOMPAGNEMENT " vendredi 18 novembre 1932 )
( " LE PHONOGRAPHE, AUXILIAIRE DE LA DANSE " Grande Salle Pleyel, Vendredi 9 Décembre 1932 à 17 heures ) ( le livret du Gala des Conférences Charles Cros, tenu le jeudi 22 mars 1934 au Théâtre des Champs-Elysées. )
1934 (22 mars) - Gala des conférences Charles Cros : La machine parlante auxiliaire du spectacle d’art - cadic.cnd.fr
Gabriel Pierné (1863-1937) - 2006-11-09 - musiqueclassique.forumpro.fr
( " Giration écrit pour un enregistrement phonographique est donné sans orchestre au Théâtre des Champs-Elysées en 1934 par Serge Lifar, Mlle Kergrist et Dynalyx aux Concerts Colonne sous la direction de Paul Paray. " )
Giration (Gabriel Pierné) - Ressources numériques autour de la musique romantique française - www.bruzanemediabase.com
Mlle IVANOFF de l’Opéra - Photo Alban - 188.9 - Bailly Pommery - www.flickr.com
PROLOGUE : La Danseuse aux Gants Bleus - Dansé par Mlle Marianne IVANOFF sur la valse : Rose - Mousse - f26.pdf - inventaire.cnd.fr
http://inventaire.cnd.fr/archives-en-ligne/ark:/82083/r7894ztw47kznk/f26.pdf?context=&format=A4&or=auto
George Vintilescu and the Palais de Danse Orchestra, Berlin - Rose Mousse (Bosc) (1911) - Vintage Sounds - 16 mars 2021 - www.youtube.com
Auguste Bosc - Rose Mousse Valse - MrJohannStraussViena - 9 mai 2015 - www.youtube.com
Frédéric Chopin - 3 Ecossaises, No. 1 in D Major, Op. Posth. 72, No. 3 - Chopinist - 7 juil. 2018 - www.youtube.com
(https://www.valueyourmusic.com/items/173175625769-pathe-x-9970)
( 1934 ) ( 1935 )
( Mlle Ivanoff de l’Opéra, un cliché du photographe Aram Alban )
( 1935 )
[L’Électrophone Thomson - 1935 - Printed: Mourlot, Paris. Éditions du Tambourinaire. - postermuseum.com]
( Aram Alban :
Alban, Aram - lusadaran.org
Aram Alban (1883-1961) - www.greategypt.org
Aram Arnavoudian - nl.wikipedia.org
( tenue au Palais des Beaux-Arts de Bruxelles, 10 rue Royale, du samedi 28 novembre au jeudi 10 décembre 1936, l’exposition " LE PHOTOGRAPHE ALBAN - PORTRAITS PAYSAGES ", entrée libre )
Marianne Ivanoff :
Marianne Ivanoff (à gauche) et Solange Schwarz (à droite), danseuses, à l’Opéra de Paris, vers 1937-1938. - www.galerie-roger-viollet.fr
https://www.youtube.com/watch?v=tqrfKj3n_4Q
Ballet de Paris (1946) - British Pathé - 13 avr. 2014 - www.youtube.com
Serge Ivanoff - fr.wikipedia.org )
l’affiche de Roger Wild, pour les Conférences Charles Cros, est exposée dans la vitrine de Pathé-Marconi à Paris, en 1942, lors de l’Exposition du centenaire de Charles Cros, avec le buste en plâtre du poète, oeuvre de son frère Henry :
(https://www.phonorama.fr/le-poete-visionnaire.html)
La Passionnante Histoire du Phonographe - HURM Horace - www.abebooks.fr )
.
.
ce pick-up " type T ", ici présenté dans un " coffret pick-up pour adjonction à un poste de T. S. F. " ( peut-être illustré avec un poste Ducretet C7 ), figure semble-t-il déjà dans une documentation " MACHINES PARLANTES THOMSON " de 1932 (?) :
(1932)
( DUCRETET - LA VOIX DU MONDE - LA SERIE MUSICALE TSF R4 C7 C9 - FALCUCCI ROBERT ( 1900 - 1989 ) )
(https://www.masterposters.fr/data/item/149/i-14986-1.jpg)
( L’ILLUSTRATION samedi 10 décembre 1932 )
le pick-up " type T " est aussi visible dans une documentation DUCRETET - THOMSON, " équipements sonores de toutes puissances - retransmissions microphoniques ", peut-être de 1939 :
l’unité de localisation de sillon " GLU/3 ", munie du pick-up British Thomson-Houston, similaire au pick-up français Thomson-Houston " Type T " :
la double table de lecture TD/7, munie de deux unités de localisation du sillon " GLU/3 ", photographiée dans l’une des stations régionales de la BBC, dans l’ouest de l’Angleterre :
( " ‘BRING IT IN BEFORE THE WHISTLE’ – Reggie Miles plays over a batch of effects discs, and Drama Producer Owen Reed chooses the ones that build up the impression he wants. " )
( " ‹ TAKING NO CHANCES › - One ‹ repeating groove › is remembered when ninety-nine faultless shows are forgotten. ‹ Smithy ›, a West Region maintenance engineer adjusts a gramophone turntable. " ) ( le moteur " Garrard modèle 201 " )
Juste une petite remarque au lieu de compléter votre message 20 fois il aurait mieux fallu faire à chaque ajout un nouveau message cela aurait faciliter la lecture de ce sujet très intéressant.
Bonjour,
ce système limite l’ajout ( la création ) de messages à seulement quatre consécutifs.
Bien à vous et bonne soirée
( Suite )
.
.

( " ‘TWENTY-THREE SECONDS OVER-RUN’ – ‘The Week in the West’ is still a shade too long. Pat Beech studies the stop-watch while editor Peter Maggs considers what to cut out. " ) ( devinée en arrière-plan, la double table de lecture " TD/7 ", probablement munie de l’unité " GLU/3 " )
‘This is the West of England Home Service…’ - FIRST PUBLISHED 1949 BY BBC WEST - whiteladies.televault.rocks
la double table de lecture " TD/7 ", semble-t-il munie de l’unité de localisation du sillon " GLU/3 " et du pick-up British Thomson-Houston, entrevue dans un studio de la BBC pendant la guerre, radiodiffusant les nouvelles vers l’Europe :

( " The news is read to Europe " )
TAG: WORLD WAR II - bbc25.transdiffusion.uk
un cliché probablement pris lors d’une session de formation à l’unité de localisation de ( ou du ) sillon " GLU/3 ", organisée pour les nouvelles opératrices de la BBC, pendant la guerre :

( Old BBC Radio Broadcasting Equipment and Memories - Cue Grams - The TD/7 - Groove-locating Unit GLU/3. - older type GLU/2 - www.orbem.co.uk
Old BBC Radio Broadcasting Equipment and Memories - The War Years: 1939-1945 - The Wartime Women Operators - www.orbem.co.uk
deux tables de lecture, munies semble-t-il de " l’unité de localisation du sillon " type " GLU/2 " et de la tête British Thomson-Houston, sont aperçues en arrière-plan de Winston Churchill, le dimanche 1er octobre 1939 :

Winston Churchill - British First Lord of the Admiralty, Winston Churchill (1874 - 1965) at a BBC studio in London to make his first wartime radio broadcast, 1st October 1939. (Photo by Marshall/Fox Photos/Hulton Archive/Getty Images) - www.gettyimages.fr
( Winston Churchill’s first wartime broadcast - 1 October 1939 - www.bbc.com )

BBC sound mixer, MX/15/1 - collection.sciencemuseumgroup.org.uk
Ci-dessous, photographié en mars 1941, un membre de la station BBC ’ Radio Babeltown ', située à Wood Norton Hall ( au nord-ouest d’Evesham, dans le Worcestershire ), manipulant une " unité de localisation du sillon " munie de la tête British Thomson-Houston, probablement du type " GLU/2 " ( " Groove-locating Unit / 2 " ), semble-t-il le type ancien ayant équipé la double table de lecture " TD/7 "
( les clichés visibles ci-après ont probablement été réalisés, pour un grand nombre d’eux, par le même photographe, Horace Abraham ( photographies en plan rapproché, même style / même ‹ patte › ) ) :
" Main entrance of Wood Norton Hall, December 1939. "


The gramophone for inserting sound effects in plays given during foreign broadcasts. This photo was taken during a play being broadcast to South America. - Cairlinn - www.flickr.com
Un signe mondialement connu est (presque) né à Saint-Gilles - 11 févr. 2022 - www.rtbf.be ( Wood Norton Hall ? ou Londres ? )

A play in Spanish being broadcast to Spain and South America. - Cairlinn - www.flickr.com


Radio Babeltown - A broadcast by a serviceman wearing a French World War I War Merit Cross and a French Morocco commemorative medal at ‹ Radio Babeltown ›, a BBC radio station broadcasting in various languages during World War II, March 1941. - www.gettyimages.fr
Monitor (listener-in to foreign broadcasts) Mohamed Ben Mohamed broadcasting to the Moors and Free French in Africa. - Cairlinn - www.flickr.com
l’une des salles du service d’écoute de la BBC ( " BBC Monitoring Service " ), située dans des baraquements en bois à Wood Norton Hall, peut-être photographiée le mardi 11 mars 1941 ( selon la date indiquée sur le tableau " FLASH " et les informations figurant sur celui-ci ) :

Etablissement d’un emploi du temps pour la permanence à la BBC - Une femme établit les permanences à effectuer pour les moniteurs en charge d’écouter les bulletins radiophoniques étrangers à la BBC au Royaume-Uni. - www.gettyimages.fr
Making up the list of the times at which certain monitors have to listen-in to foreign broadcasts. - Cairlinn - www.flickr.com

(https://www.gettyimages.fr/detail/837228330)
(https://www.flickr.com/photos/kilwirraarchitects/8788073927)
des étagères contenant des cylindres phonographiques des systèmes d’enregistrement " Edison Ediphone ", " Edison Telediphone " et " Dictaphone Telecord " ( des cylindres utilisables indifféremment sur ces trois types de machines, semble-t-il suite à un accord passé entre les sociétés américaines Edison et Dictaphone ) :

One of the few English monitors (listeners-in) employed to listen to broadcasts in English from a foreign country. - Cairlinn - www.flickr.com
Radio Babeltown - BBC radio station broadcasting in various languages during World War II - March 1941 - Horace Abrahams - www.gettyimages.fr
le mardi 11 mars 1941 ?
" A BBC employee, whose job is to monitor intenational radio broadcasts, reports an urgent item to her superiors at a BBC Monitoring Service establishment in England during World War II in 1941. "

en février 1941


Image: The Listening Room at Wood Norton in February 1941. - BBC Monitoring 26 August 1939 - www.bbc.com



peut-être en décembre 1939
" The inside of Monitoring Hut. Close up view of receivers and recorders in operation. The Edison Telediphone (early sound recording system) can be seen on the right. " :


" The interior of the Transcribing Room. Monitors listen to telediphone recordings of foreign broadcasts and translate them into English. "

en 1940, peut-être en décembre 1939 (?)

.
visibles, entre autres, dans ce film d’actualités BRITISH PARAMOUNT NEWSREEL (REUTERS) de 1941, les appareils d’enregistrement sur cylindre Edison Telediphone et Ediphone, et les récepteurs radio américains National " HRO " ( selon des commentaires laissés à la suite de la vidéo ). Une transcription des dialogues est incluse avec ce document ( bouton " afficher plus " ). La personne aperçue entre les instants 0:07 et 1:08, 3:34 et 3:46, est le directeur général de la BBC ( depuis 1938 ), Frederic Wolff Ogilvie :
ENGLAND: Monitoring of BBC radio broadcasts (1941) - British Pathé - 27 oct. 2020 - www.youtube.com


( " Frederick Ogilvie (1893-1949), Directeur General de la BBC à Londres pendant la seconde guerre mondiale, le 5 mars 1941 "
Émission On n’arrête pas l’Histoire… - La radio c’est une voix pour les résistances comme en 1940 - www.francebleu.fr )

Z.A Bukhari with BBC Director General - London - 1941 - www.flickr.com

(https://www.flickr.com/photos/65868243@N05/6002526850/)
Frederick Ogilvie - en.wikipedia.org
d’autres vues des enregistreurs Edison Telediphone et Ediphone ( à partir de l’instant 0:58 ), dans un document présentant le service d’écoute de la BBC, en 1940 ou durant la décennie 1940’ ( peut-être aussi filmé sur le site de Caversham Park à partir de 1943 ? ) :
LISTENING POST (1940) - www.britishpathe.com
Caversham Park - fr.wikipedia.org
Edison Telediphone :


626236. TELEDIPHONE, Thomas A Edison Pro-technic Ediphone. - auctionet.com
les cylindres siglés " Ediphone MASTER WAX ", comparés à la taille ( longueur ) d’un cylindre plus ancien, placés sur un appareil enregistreur Edison " Telediphone " ou " Ediphone " (?) :

1943
Telediphone - en.wikipedia.org
(https://skraning.sarpur.is/Uploads/Images/2417868.jpg)
Byggðasafnið Skógum - Upptökubúnaður - sarpur.is
(https://www.gettyimages.ca/detail/800126620)
(https://www.gettyimages.ca/detail/800126326)
(https://en.wikipedia.org/wiki/Phonograph_cylinder#/media/File:CBS-Listening-Post-Transcription-1941.jpg)
(https://en.wikipedia.org/wiki/Phonograph_cylinder#/media/File:CBS-Listening-Post-Cylinders-1941.jpg)
Cylindre phonographique - fr.wikipedia.org
Phonograph cylinder - en.wikipedia.org
Edison Telediphone double - photographié dans les collections du " Parc national historique Thomas Edison " :

The Dictaphone Telecord and Edison Telediphone - History of Sound Recording Technology - recordinghistory.org
EDIPHONE - Thomas Edison National Historical Park - npgallery.nps.gov
Thomas Edison National Historical Park - www.nps.gov
Thomas Edison National Historical Park - en.wikipedia.org
Thomas Edison - fr.wikipedia.org
Edison, Chapter 1 - American Experience | PBS - 20 janv. 2015 - www.youtube.com
Phonographes Edison - Phonorama - www.phonorama.fr
1877
Meet Edison’s Tinfoil Phonograph from 1877 - National Museum of American History - 17 oct. 2018 - www.youtube.com
Der Edison-Phonograph - UnterbergerMedien - 23 juin 2014 - www.youtube.com
Phonautograph & Phonograph Demonstration [Jerry Fabris, David Giovannoni, Bob Ferrel, Tony Wellman] - Thomas Edison NHP - 17 juil. 2017 - www.youtube.com
FIRST SOUNDS: Let There Be Sound - Part 3 - FirstSounds - 29 juin 2014 - www.youtube.com
Immortal Voices (1936) - British Pathé - 13 avr. 2014 - www.youtube.com
The History of the Edison cylinder recording from Tinfoil to Two Minute Moulded. - The North American Phonograph Company - 19 oct. 2017 - www.youtube.com
1889 Paris
1892
Phonograph Type M with listening devices, c 1898.

( modifié pour une écoute multiple en foires, cafés…
https://www.theparisianguide.com/s/phono-museum/ )
1907
mardi 8 septembre 1914
Thomas Edison’s Telescribe - The machine designed to record telephone conversations was unveiled 100 years ago today - 20 May 2015 - www.independent.co.uk
(
Edison Stenograph Ediphone Commercial Advertisement - Phonoguy - 16 oct. 2016 - www.youtube.com
Edison’s 137 Year old Laboratory Still Exists - Mobile Instinct - 21 mars 2024 - www.youtube.com
Edison Museum Wax Cylinder Recording Session (HD) - phonophan - 6 nov. 2009 - www.youtube.com
Suzanne Vega at the Thomas Edison Historical National Park - Last.fm - 17 juil. 2013 - www.youtube.com
Suzanne Vega - Tom’s Diner (Last.fm Session) - Last.fm - 10 juil. 2013 - www.youtube.com
( https://fr.wikipedia.org/wiki/Suzanne_Vega
Suzanne Vega - Tom’s Diner | Het verhaal achter het nummer - 23 juil. 2020 - 2018
Suzanne Vega - Tom’s Diner ft BBC Concert Orchestra (Radio 2’s Piano Room) - 9 févr. 2023 )
Edison Wax Recording, Guitar & Vocals - County College Of Morris - 11 déc. 2012
The Red Hook Ramblers recording a wax cylinder at The Edison National Historic site. - Phonograph DJ MAC - 10 juil. 2011 - www.youtube.com
Wax cylinder recording session at Bix Beiderbecke’s childhood home in Davenport - lindyhoppers - 23 oct. 2012 - www.youtube.com
une liste d’enregistrements actuels sur cylindre de cire :
« Everybody Stomp! (B) »: Singapore Slingers (Recorded in Dallas, TX - Wax Cylinder) - SemperPhonographCo - 28 juil. 2018 - Live Cylinder Recordings - SemperPhonographCo - 1/44 - www.youtube.com
How To Record A Phonograph Cylinder: Making A Cornet Solo - « Waltz La Serenata » - SemperPhonographCo - 12 août 2012 - www.youtube.com
SemperPhonographCo - www.youtube.com
L’Archéophone, lecteur universel de cylindres de phonographe - archeophone - 8 avr. 2008 - www.youtube.com
L’Archéophone - www.archeophone.org
How Edison Got His Groove Back | KQED QUEST - KQED - 30 juil. 2008 - Take a trip back in time with KQED’s Quest! Researchers at Lawrence Berkeley National Laboratory are pioneering a new way to recover 100-year-old recordings. - www.youtube.com
Wax cylinder recordings: Preservation and discovery through digitization - UITS at Indiana University - 30 juin 2017 - www.youtube.com
A METHODOLOGY FOR DIGITIZING WAX CYLINDERS presented by Melissa Widzinski and Dan Figurelli - Association for Recorded Sound Collections - 6 mars 2019 - www.youtube.com )
Edison Ediphone :
vers 1921 Thomas Alva Edison - Edwin C. Barnes
avec A.A. Bratton

(https://i.ebayimg.com/images/g/GQkAAOSws7dkb3N~/s-l1600.webp)




jeudi 12 août 1926
1928







(https://i.ebayimg.com/images/g/CIYAAOSwpSpny1-e/s-l1600.webp)

1935


1936







1938
1940
1943
Edison Electronic Voicewriter Ediphone :


(https://i.etsystatic.com/25100599/r/il/75c447/3113316259/il_1140xN.3113316259_m22n.jpg)
1944
1944
1945
Thomas Edison House, Butchertown Kentucky

1016677. EDIPHONE, Thomas A Edison Pro-technic. - auctionet.com
Lot # 75 - Vintage Thomas Edison Ediphone, Pro-technic - www.eastsideestateco.com
Pro-technic Ediphone - www.radiomuseum.org
2681894. EDIPHONE, « Pro-Technic » for recording/playback of speech on wax roll. - auctionet.com
As de pique - L’objet de la semaine - 28 Mai 2017 - Édiphone ! - Collection ACHER - fleurdeflocons.wordpress.com
Lets look at the Pro-Technic Ediphone, Part 1 - Doug 2000 - 25 janv. 2023 - www.youtube.com
Lets look at the Pro-Technic Ediphone, Part 2 - Doug 2000 - 1 févr. 2023
How to Use the Edison Pro-Technic Ediphone - Shawn Borri - 12 avr. 2013 - www.youtube.com
Edison Wax Cylinder Dictation Machines - databits - 13 févr. 2017 - www.youtube.com
edison ediphone & transcription machine / original / complete - THEVICTROLAGUY - 1 août 2016 - www.youtube.com
Edison Ediphone Shaving Machine :





(https://www.facebook.com/photo/?fbid=1021120636715138)


How to Use an Edison Utility Ediphone Shaving Machine. - Shawn Borri - 12 avr. 2013 - www.youtube.com
( The Manufacture of Edison brown wax cylinder records - Shawn Borri - 18 mai 2015 - www.youtube.com )
Ediphone shaver in action. - Heinmiller Phonograph Co - 2 nov. 2014 - www.youtube.com
This is how easy it is to make a cylinder blank again. It usually only takes one pass! - Heinmiller Phonograph Co - 6 nov. 2014 - www.youtube.com
Edison wax cylinder shaver - Kent Oviatt: Vintage Tech - 20 déc. 2016 - www.youtube.com
Edison Cylinder Shaver - Carl Romey - 12 févr. 2018 - www.youtube.com
Dictaphone Shaving Machine :
( visible à droite )






Dictaphone shaving machine - forum.retrotechnique.org
FR 653740 A.pdf - forum.retrotechnique.org
EDISON CYLINDER SHAVER 1920s - THEVICTROLAGUY - 29 nov. 2011 - www.youtube.com
DICTAPHONE CYLINDER SHAVER - THEVICTROLAGUY - 16 févr. 2012 - www.youtube.com
dictaphone shaver - @THEVICTROLAGUY - www.youtube.com
CIRCA 1940s - A shaver machine is used to service the cylinders in a transcribing machine and it is oiled in an office. - www.shutterstock.com
Edison Master Shaver :


1939
Edison Mercury Shaver



575782. EDISON MASTER SHAVER, EDIPHONE, early 20th century. - auctionet.com
CIRCA 1944 - A cylinder is inserted into an ediphone shaver and the surface is shaved in an office. - www.shutterstock.com
CIRCA 1944 - A cylinder is removed from an ediphone shaver and replaced with a new cylinder in an office. - www.shutterstock.com
Ediphone : 12 vidéos de stock libres de droits - www.shutterstock.com
Thomas Edison - Ediphone - (Recording Machine & Utility Shaver) - LaJazzAudio - 11 mars 2014 - www.youtube.com
Shaving an Edison cylinder - WyattsSaab - 29 nov. 2018 - www.youtube.com
The ‹ Edison Master Shaver › - Matthew Richards - 14 nov. 2016 - www.youtube.com
Edison Economy Shaver Part 3 - PDX78s - 1 juil. 2016 - www.youtube.com
EDISON MASTER SHAVER WORKS!! - PDX78s - 17 juin 2017 - www.youtube.com
Shaver and Dictaphone Blanks - www.richardslaboratories.com
" Shaving Off the Discs " ( Edison Master Shaver )

en mars 1941
" Original Publication: Picture Post - 678 - The BBC At War - pub. 10th March 1941 "
le 10 mars 1941 : la date de publication dans le magazine hebdomadaire britannique ou la date du cliché ?


" In its issue of March 15th, 1941, the magazine « Picture Post » published an article about the B.B.C. at war "
"How We Know What Our Enemies Are Saying: A Monitor Reports a Vital News Flash to His Editor. Important news, picked up by the monitors on their radio sets, is reported to the editors, who record and precis the material into a daily digest which is circulated to the war leaders. "
Picture Post - 678 - The BBC At War - pub. 10th March 1941 - www.gettyimages.fr
" In the foreground of this photo are Telediphone machines, which recorded on a wax cylinder. " ( Dictaphone " Telecord " )
The War Years: 1939-1945 - Picture Post - issue of March 15th, 1941 - www.orbem.co.uk
1941 Picture Post Ojibway Indian broadcasting - www.alamy.com
Picture Post - en.wikipedia.org
Monitoring BBC War - www.gettyimages.fr
BBC at War – part 3: The Battle Front - 1 April 2022 - The monitor is on to something important. Ears and hands register at top speed. Colleagues tune in to the same station. The story will be rushed through to the editors. - transdiffusion.org
l’enregistreur ( double ) sur cylindre de cire de marque Dictaphone, modèle " Telecord " ( le pendant du " Telediphone " ( double ) chez Edison ) :
Dictaphones - Dictaphones recording all conversations between airliners and the National Airport at Washington, DC. July 1941. - www.gettyimages.in
Edison " Telediphone " ( double ) :
The Dictaphone Telecord and Edison Telediphone - History of Sound Recording Technology - recordinghistory.org 1951 Dublin, Irlande
(Getty Images)
1920 " 7-10-28, championnat d’Europe de dactylographie, épreuve de dictaphone par Mlle Petit - Photo Agence Rol "
Dictaphone shaving machine - forum.retrotechnique.org
FR 564069 A.pdf 1923
FR 653740 A.pdf 1928 - 29
FR 774843 A.pdf 1934
FR 845594 A.pdf 1938 - 39 Mr Gilbert Frankau vendredi 19 février 1932 1932 " Recueil notarial des jurisclasseurs 5 octobre 1933 "
[Dictaphone shaving machine - forum.retrotechnique] Mrs Frere-Reeves formerly Pat Wallace mercredi 22 septembre 1937 1934
Phonographe - Nom du modèle : Dictaphone Model 12 - Année de fabrication : 1933 - www.cinematheque.fr " Revue de procédure 1 janvier 1935 "
[Dictaphone shaving machine - forum.retrotechnique]
en juin 1941
mardi 10 ou mercredi 11 juin 1941 ?
(https://bbcphotosales.co.uk/asset/223865/)
" An Arabic monitor (foreground) listens to what the enemy says to his compatriots. " - bbcphotosales.co.uk
mercredi 11 juin 1941 ( peut-être le matin vers 8h00, après une nuit d’écoute ) ?
(https://bbcphotosales.co.uk/asset/223862/)
en juin 1941
(https://bbcphotosales.co.uk/cdn/bbcphotosales/previews/747/00679c6cfd85f966b6678fe5d2bc2ec3/4/80780709d3170453adaa99b359cdd48a/223864.jpg)
" The recordings are saved to wax cylinders as shown, and are filed for a short period before being ‹ shaved › and used again. BBC Monitoring would use wax cylinders which could be shaved and re-used. Sometimes the shaving was incomplete and the monitor could hear remnants of the previous recording, which could be confusing, especially if it was in the same language. " - bbcphotosales.co.uk
Caversham Park: End of an era for BBC listening station - 7 July 2016 - www.bbc.com
en 1941, peut-être aussi en juin ?
BBC employee listens in and monitors radio broadcasts from various parts of the British Empire at a BBC Monitoring Service establishment in England during World War II in 1941. - www.gettyimages.fr
en 1940
(https://bbcphotosales.co.uk/cdn/bbcphotosales/previews/747/3c76939d318ee493bc8a15cbf17cea82/4/0b114bf8050ec68f25e1794d063526c4/223847.jpg)
BBC Monitoring Service Wood Norton - bbcphotosales.co.uk
BBC Monitoring Service - bbcphotosales.co.uk
bbc monitoring - www.gettyimages.fr
Radio Babeltown - BBC radio station broadcasting in various languages during World War II - March 1941 - Horace Abrahams - www.gettyimages.fr
BBC Monitoring - en.wikipedia.org
Caversham Park - en.wikipedia.org
Caversham Park - Listening to the world, 1943 to 2018 - www.bbc.com
Microsoft Word - Laura Johnson Thesis post-viva %281%29 PB.doc - 1/310 - Establishing Broadcast Monitoring as Open Source Intelligence: The BBC Monitoring Service during the Second World War - King’s College London 2013 - kclpure.kcl.ac.uk
quelques images de Caversham Park, dans un documentaire sur les services extérieurs de la BBC ( le service mondial / international de la BBC ), diffusé le vendredi 21 mai 1982 sur " Thames Television ", la chaîne de télévision britannique du réseau privé ITV ( à partir de l’instant 12:55 ) :
‹ Afternoon Plus › documentary on the BBC World Service (1982) - Roger Wilmut - 16 juin 2020 - www.youtube.com
les doubles tables de lecture " TD/7 ", équipées des unités de localisation du sillon " GLU/2 " et " GLU/3 ", munies de la tête British Thomson-Houston, visibles sur un cliché de l’homme de radio Zulfiqar Ali Bukhari et du comédien britannique Will Hay, semble-t-il pris dans un studio de la BBC à Londres, diffusant ses émissions vers les Indes britanniques pendant la guerre, peut-être en 1944, lorsque le comédien animait son émission de radio " The Will Hay Programme " ( entre le vendredi 18 août 1944 à 21h15 et décembre 1944 ) (?) :
Z.A Bukhari and Will Hay. BBC - www.flickr.com
( " Bukhari training with the BBC Home Guard at Bedford College in 1941. " )
Z. A. Bokhari - www5.open.ac.uk
quelques images du reporter Z.A. Bukhari ( accompagnant Edward Cavendish ( 10e duc de Devonshire ), sous-secrétaire d’État parlementaire pour l’Inde et la Birmanie, et une autre personnalité ), visible dans un film d’actualités Pathé News ( aux instants 6:56, 7:17, 7:19, 7:21, 7:30 ) ( le commentant selon une information laissée sur le site " facebook " ), consacré au périple de quatre compagnies muletières de l’armée des Indes britanniques ( 1723 soldats du " Indian Army Service Corps - I.A.S.C. " ), venues du Pendjab au début de la Seconde Guerre mondiale, arrivées en France par Marseille le mardi 26 décembre 1939, pour participer à la guerre contre l’Allemagne au sein du Corps expéditionnaire britannique ( British Expeditionnary Force - B.E.F. ) ; elles seront en partie évacuées vers la Grande-Bretagne de Saint-Nazaire, et de Dunkerque en mai 1940 ( les derniers 300 soldats " embarquent au môle Est du port de Dunkerque vers Douvres, lors de l’opération Dynamo " ), par la suite cantonnées au Pays de Galles ( semble-t-il encore en 1942 ? ), ensuite incorporées dans les troupes anglaises, puis rapatriées en Inde au début de l’année 1944 :
Indian Army Special Newsreel (1940) - British Pathé - 13 avr. 2014 - www.youtube.com
(https://youtu.be/yq6E1luxLQQ?t=415)
Voice of famous Radio broadcaster Mr Z. A. Bukhari - Vintage Pakistan - 12 juillet 2022 - www.facebook.com idem ( un enregistrement écourté sur la fin )
( " Installés dans des fermes au nord de Lille, les soldats vivent avec la population cette drôle de guerre, qui commence, Marquette lez Lille, 1940 • © Imperial War Museum " )
( " Les photographies racontent aussi les fêtes, les chants, la musique et les démonstrations d’entraînement de gymnastique des soldats indiens, Bourghelles, 1940 • © Imperial War Museum " )
Les soldats de l’armée des Indes durant la Seconde Guerre mondiale, oubliés de l’opération Dynamo à Dunkerque - 23/03/2025 - france3-regions.franceinfo.fr
L’Inde, contributrice majeure oubliée de la deuxième guerre mondiale - 2 septembre 2021 - lepetitjournal.com
World War Two: The forgotten Indian soldiers of Dunkirk - 14 September 2021 - www.bbc.com
https://www.youtube.com/watch?v=kqPHYJZBYQM
Zulfiqar Ali Bukhari - zubair muhammad - 31 oct. 2021 - Broadcasting from London before partition - www.youtube.com
Z. A. Bukhari en 1972 au Pakistan :
Zia Mohiyuddin recites Shakespeare & Z.A.Bukhari recites Imtiaz Ali Taj - 1972 - ZKalyar - 13 déc. 2020 - www.youtube.com
https://www.youtube.com/watch?v=uxVYZj6nvtA&list=PLF9298ACC7CF34CEA&index=7
The Will Hay Programme - S01E05 The Cheque (15/09/1944) - VintageBritishComedy - 31 mai 2012 - Will Hay - 7/8 - www.youtube.com
‹ You make me laugh › says Z.A Bukhari (BBC India Program Organizer) to William Hay who is seen here boadcasting to India - www.flickr.com
Mr Z.A Bukhari interviews officers from the ATS for the program ‹ We speak to India › - www.flickr.com
https://fr.wikipedia.org/wiki/Auxiliary_Territorial_Service
en arrière-plan, les doubles tables de lecture " TD/7 ", équipées des unités de localisation du sillon " GLU/3 ", munies de la tête British Thomson-Houston :
(https://www.flickr.com/photos/65868243@N05/6008969084)
(https://www.flickr.com/photos/65868243@N05/)
Table Microphone - collection.sciencemuseumgroup.org.uk
(https://collection.sciencemuseumgroup.org.uk/objects/co35180)
2 x BBC designed anti-vibration microphone mounts, circa 1937. - collection.sciencemuseumgroup.org.uk
STC 4017-C Microphone, Ser. No. 805, 1930-1950, manufactured by Standard Telephones and Cables PLC. In original box. The STC 4017 was the first of a series of compact STC moving coil microphones used extensively by the BBC. The early version had a plug and socket arrangement which was not ideal - the plug would sometimes fall out. The 4017-C was then introduced, which had three screw terminals on the back. - collection.sciencemuseumgroup.org.uk
(https://collection.sciencemuseumgroup.org.uk/objects/co8355889)
(https://collection.sciencemuseumgroup.org.uk/objects/co8355888)
(https://collection.sciencemuseumgroup.org.uk/objects/co34422)
The STC Type 4017C moving coil microphone -
" Dicky Howett writes: This is my BBC outside broadcast microphone type STC 4017C, complete and very rare with its detachable oak handle (the cable went up the centre). The mic type was first introduced by STC and the BBC in 1938. The design originated from the Western Electric type 618A (circa 1931), which used a moving coil as the transducer. These brass STC microphones (very heavy at 1.5 kg) were used by BBC Radio throughout the Second World War and can be seen (hand-held interviewing) in many BBC photographs of the period. The microphone’s overall performance was excellent, with coil resonances damped by acoustic filtering, which was incorporated in the mechanical construction. The 4017C remained in widespread BBC use up to about 1953. The letters “LO OB” are stamped below the mic on the metal stem. They referred to “LOndon OB” (outside broadcasts). The “BBC” badge pictured is an exact reproduction. " - www.coutant.org
" Pendant la Seconde Guerre mondiale, Elizabeth et sa sœur Margaret ont été évacuées à Windsor. Cette photo les montre en train de diffuser à la nation l’émission Children’s Hour sur la BBC. " ( le dimanche 13 octobre 1940 ) :
(https://www.bbc.com/afrique/monde-62840463)
( " Princess Elizabeth and her sister Princess Margaret at the microphone for Elizabeth’s first broadcast. She is the future Queen Elizabeth II of England. 1940 " )
(https://www.kpbs.org/news/arts-culture/2020/04/30/queen-war)
Children’s Hour Broadcast - The Royal Family - 20 janv. 2009 - www.youtube.com
au Cap, en Afrique du Sud le lundi 21 avril 1947, ce type de microphone ( STC 4017C ) est visible sur les photos de la princesse Élisabeth, mais n’est pas celui aperçu sur l’enregistrement filmé de son discours ( à l’occasion de son 21e anniversaire ) ( le microphone filmé est peut-être le modèle STC 4035 ) :
(https://www.dailymail.co.uk/news/royals/article-13571807)
STC 4035 Microphone c.1950. Second of a series of STC moving coil microphones used extensively by the BBC. This version has a « thistle » plug on the back. - collection.sciencemuseumgroup.org.uk
.
.
quelques vues de la double table de lecture " TD/7 " en fonctionnement ( à partir de l’instant 2:45 ), équipée de l’unité de localisation du sillon " GLU/2 " et de la tête British Thomson-Houston, dans un documentaire présentant les appareils d’enregistrement utilisés par la BBC en 1943, notamment les appareils Marconi-Stille ’ Blattnerphone ’ ( à partir de l’instant 1:54 ), Philips-Miller ( 2:09 ), les tables de gravure américaines à large plateau " Presto " ( 2:02 ) et britanniques ( 2:34 ) :
https://youtu.be/zI773hNpMxI?t=161
Museum Of Sound (1943) - British Pathé - 13 avr. 2014 - www.youtube.com
un document du service de recherche de la BBC, daté du mercredi 10 mars 1943, relatif à des tests effectués sur la tête de lecture " British Thomson-Houston " et sur l’unité " G.2 " ( " GLU/2 ", le système du bras à déplacement tangentiel équipant la double table de lecture " TD/7 " ), concernant la lecture " d’enregistrements directs ", ainsi que la façon d’obtenir un haut niveau d’uniformité dans la reproduction de ce type d’enregistrements :
R&D Report 1943-07 - RESEARCH DEPARTMENT - REPORT No. C. 038 - Serial No. 1943/7 - l0th March 1943 - BTH PICK-UP AND G-UNIT - Investigation by - J. Wardley Smith - P. R. Terry - Figs. 1-6 - downloads.bbc.co.uk
la tête de lecture " British Thomson-Houston / B.T.H. " montée sur bras radial classique, visible ici, munie d’un levier facilitant la manipulation ( peut-être s’adaptant ou reposant sur, ou expliquant, les deux attaches / excroissances latérales disposées sur le boitier de la tête B.T.H. (?), ne figurant d’ailleurs pas sur la tête française Thomson-Houston ), en arrière-plan de Kay Cavendish, dans un studio de la BBC pendant la guerre ( en décembre 1940 ) :
(https://ia803402.us.archive.org/32/items/freedom-at-the-end-of-the-airwaves-radio-london-1940-1944/Freedom%20at%20the%20end%20of%20the%20airwaves%2C%20Radio%20London%2C%201940-1944.jpg)
Kay Cavendish - British radio personality Kay Cavendish (1908 - 2000) of the BBC, during World War II, December 1940. (Photo by Horace Abrahams/Keystone Features/Hulton Archive/Getty Images) - www.gettyimages.fr
https://en.wikipedia.org/wiki/Kay_Cavendish
Kay Cavendish - en.wikipedia.org
https://www.youtube.com/watch?v=IAP2fL_RqtY
Personality Meet Kay Cavendish (1945) - British Pathé - 13 avr. 2014 - www.youtube.com
PERSONALITY MEET KAY CAVENDISH (1945) - www.britishpathe.com
( Radio London, 1940 1944 - French - by La Fabrique de l’Histoire - February 4 2002 -
La liberté au bout des ondes, Radio Londres, 1940-1944 - 53:19 -
Radio Londres - Les Français parlent aux Français Honneur Patrie c1943 - 05:59 - archive.org
La liberté au bout des ondes, Radio Londres, 1940-1944 - Publié le jeudi 8 mai 2014 - www.radiofrance.fr
Radio Londres, une arme de guerre - Chemins de MEMOIRE - www.cheminsdememoire.gouv.fr )
BTH 10 « Senior De Luxe » - www.grammofoon.com
BTH index - www.grammofoon.com
une vidéo présentant un pick-up restauré Thomson-Houston à haute impédance, dans sa version britannique ( B.T.H. / British Thomson-Houston ), jouant " WOODMAN SPARE THAT TREE " ( 7247 DNC - Phil Harris & His Orchestra - H.M.V. Records - CAT. No. B.D.1176 ) :
https://www.youtube.com/watch?v=uLo80Q6wHVI
B T H Senior, Needle Armature pickup - Martin h - 27 juil. 2022 - " WOODMAN SPARE THAT TREE-7247-DNC " - Phil Harris - www.youtube.com )
quelques vues brèves de la restauration d’un pick-up français Thomson-Houston plus ancien, à faible impédance ( à partir de l’instant 2:43 ), équipant l’électrophone " Thomson-Houston type 55 modèle Vivaldi "
( semble-t-il un électrophone déjà présent dans les catalogues en 1932 et encore en 1939, mais muni chronologiquement d’au moins quatre amplificateurs différents,
Philips A409/2x Mazda DW601/Mazda D5 125B/Ballast…-
Philips A425/Mazda DW802/Mazda D5 125B/Ballast 1-3 (1 25 A 25 - 75v K3) -
76/6A3/5Z3 -
76/2A3/5Z3 ),
dans une vidéo où l’on peut entendre les aboiements d’un chien, présents sur un enregistrement 78 tours ( non spécifié ) ( à partir de l’instant 3:17 ) :
https://www.youtube.com/watch?v=UawZfF7Ksm0
Thomson électrophone from ±1935 type 55 modèle « Vivaldi » restored to life - Ernie’s Tips and Tricks about Technology - 11 mai 2018 - Vera Lynn - WAAUWW ! - " the needle suspension totally deteriorated. I fixed that with 0,075mm teflon tape. " - www.youtube.com
la tête de lecture restaurée, https://youtu.be/UawZfF7Ksm0?t=162
les aboiements, https://youtu.be/UawZfF7Ksm0?t=196
https://fr.wikipedia.org/wiki/Vera_Lynn
Vera Lynn - fr.wikipedia.org
PERSONALITY - MEET VERA LYNN (1946) - www.britishpathe.com
( la jeune fille, illustrant cette page du catalogue 1936-1937, est peut-être Mlle Louisette Duvauchelle, photographiée plus âgée dans un livret des conférences Charles Cros en 1932, également citée comme pianiste lors du gala des conférences Charles Cros, tenu le jeudi 22 mars 1934 au Théâtre des Champs-Elysées,
1932
1934 )
l’électrophone " Thomson-Houston type 55 modèle Vivaldi ", dans une présentation différente et plus ancienne, peut-être commercialisé en 1932 et équipé des tubes Philips A425 / Mazda DW802 / Mazda D5 125B / Ballast 1-3 (1 25 A 25 - 75v K3) :
https://www.youtube.com/watch?v=u-qFdbOBywA
DUCRETET ELECTROPHON 1932 - phonogalerie - 4 août 2009 - www.youtube.com
le pick-up à faible impédance Type G, 35 ou 65 ohms (?), à tête rotative pour le changement aisé de l’aiguille ou enfichable / clipsable / démontable, présenté dans quelques documentations françaises Thomson-Houston :
le document commercial " DUCRETET THOMSON équipements sonores de toutes puissances - retransmissions microphoniques ", peut-être de 1939 (?) :
" MACHINES PARLANTES THOMSON-HOUSTON " de mai 1929 :
" MACHINES PARLANTES THOMSON ", probablement une documentation de 1932 (?) :
(https://gallica.bnf.fr/ark:/12148/btv1b55009426t)
les brevets ( américain, britannique, allemand, néerlandais ) correspondant à ce type de pick-up à basse impédance
( Demande / Publication / Titre / Demandeur / Inventeur ) :
US7254125A·1925-12-01 / US1783044A·1930-11-25 / Reproducer / GENERAL ELECTRIC / KELLOGG EDWARD W. ( WASHBURN )
(https://worldwide.espacenet.com/patent/search/publication/DE515378C)
Edward W. Kellogg - en.wikipedia.org
GB446126A·1926-02-16 / GB260148A·1926-10-28 / Improvements in and relating to electromagnetic apparatus for the interconversion of electrical and mechanical oscillations / BRITISH THOMSON HOUSTON CO. LTD.
(https://worldwide.espacenet.com/patent/search/publication/GB260148A)
DEA0049358D·1926-12-01 / DE515378C·1930-12-31 / Elektromagnetische Schalldose / AEG - Allgemeine Elektricitäts-Gesellschaft
(https://worldwide.espacenet.com/patent/search/publication/DE515378C)
. / NL24797C 1931 / Electrische klankdoos, in het bijzonder voor gramofoons / AEG - Allgemeine Elektricitäts-Gesellschaft
(https://worldwide.espacenet.com/patent/search/publication/NL24797C)
.
un brevet complétant et améliorant ce type de pick-up, à basse impédance et en première version, enfichable, démontable :
US27181328A·1928-04-21 / US1906615A·1933-05-02 / Electric pick-up / GENERAL ELECTRIC / KENDALL JAMES M.
(https://worldwide.espacenet.com/patent/search/publication/US1906615A)
GB1243729A·1929-04-22 / GB310284A·1930-09-22 / Improvements in and relating to apparatus for the electrical reproduction of sound / BRITISH THOMSON HOUSTON CO. LTD.
(https://worldwide.espacenet.com/patent/search/publication/GB310284A)
DEA0057470D·1929-04-16 / DE613236C·1935-05-16 / Elektrische Schalldose fuer Sprechmaschinen / AEG - Allgemeine Elektricitäts-Gesellschaft
(https://worldwide.espacenet.com/patent/search/publication/DE613236C)
ce type de connecteur enfichable, sous d’autres noms de marques :
Brunswick Panatrope
(https://www.facebook.com/groups/phonograph/posts/8529694783748223/)
(Etsy)
(https://forum.antiquephono.org/topic/1422-brunswick-panatrope-p-3/)
Siemens Halske
(Ebay.de)
encore un brevet relatif au pick-up Thomson-Houston :
GB502031A·1931-02-17 / GB373158A·1932-05-17 / Improvements relating to apparatus for the electrical reproduction of sound / THE BRITISH THOMSON-HOUSTON COMPANY, LIMITED; LEONARD BERTRAM AULT; THOMAS FREDERICK ROBINSON
(https://worldwide.espacenet.com/patent/search/publication/GB373158A)
US54994931A·1931-07-10 / US1914191A·1933-06-13 / Electric sound reproducing apparatus / GENERAL ELECTRIC COMPANY / AULT LEONARD B.; ROBINSON THOMAS F.
(https://worldwide.espacenet.com/patent/search/publication/US1914191A)
DEA0065093D·1932-02-18 / DE617320C·1935-08-16 / Elektromagnetische Schalldose / AEG - ALLGEMEINE ELEKTRICITAETS-GESELLSCHAFT
(https://worldwide.espacenet.com/patent/search/publication/DE617320C)
BE386486DA·1932-02-16 / BE386486A·1932-03-31 /
(https://worldwide.espacenet.com/patent/search/publication/BE386486A)
FR731491DA·1932-02-17 / FR731491A·1932-09-03 / Perfectionnements aux appareils de reproduction des sons / COMPAGNIE FRANCAISE POUR L’EXPLOITATION DES PROCEDES THOMSON-HOUSTON
(https://worldwide.espacenet.com/patent/search/publication/FR731491A)
.
le pick-up Type G à faible impédance ( 65 ohms ), dont " l’aimant est en acier au cobalt ", ici en version démontable / enfichable sur " bras spécial équilibré ", monté sur l’électrophone restauré Thomson-Houston " François Couperin " ( 1930-1932 ) :
https://www.youtube.com/watch?v=XOgURsOvF4s
Électrophone Thomson Houston - Thomas Thienpont - 21 oct. 2020 - www.youtube.com
https://www.youtube.com/shorts/m_s-8VW4YW8
Thomson Houston electrophone - @thomasthienpont1325 - Time on My Hands · Ray Noble & His Orchestra - www.youtube.com
1930 :
1932 :
( 1930 )
Bonsoir @Phil1,
Je ne comprends pas bien votre « gymnastique » entre les parenthèses et les crochets que vous ajoutez dans vos messages, cela les rends complètement incompréhensible.
Si vous voulez utiliser cela pour vos liens il faut le faire correctement :
- Entre les crochets [ ] vous mettez premièrement le titre du lien à afficher, sans espace ni au début ni à la fin.
- Entre les parenthèses ( ) vous mettez ensuite l’adresse Internet du lien, sans espace ni au début ni à la fin
- Il faut ensuite acoller sans espace le crochet final du titre et la parenthèses de début du lien.
Ainsi rédigé vous aurez dans le message affiché, des titres cliquables, correspondant aux liens, sans aucun affichage de crochets et de parenthèses.
Exemple avec votre dernier message :
-
Affichage selon votre rédaction :
-
La rédaction de votre dernier message, avec des espaces vers les crochets (entourés de rouge) à supprimer :
-
La correction de votre rédaction que j’ai faite, en mettant le titre entre crochets en dessus et le lien internet entre parenthèses à la suite, en ne mettant aucun espace avant et après les parenthèses (entouré de rouge).
-
L’affichage final de votre message corrigé :
Platine Bourdereau peut-être .
Ou Tolana …
Bonsoir,
Le nom du fabricant est peut-être indiqué dans les différentes revues spécialisées de l’époque ? Il y avait aussi la SACM ( Société alsacienne de constructions mécaniques ) qui fabriquait du matériel lourd pour les services de la radio, comme ses magnétophones…
( suite )
.
.
1932 (?) :
ce même pick-up était installé sur un autre électrophone du catalogue, le modèle " Rameau ", semble-t-il disponible en différentes présentations, dont un exemplaire est visible dans la Maison-Musée Maurice Ravel, à Montfort l’Amaury dans les Yvelines :
(Inspired Homes / 10 – Maurice Ravel’s – Pierre & Alexandra Boulat)
(https://redux2.wg.picturemaxx.com/)
MAISON-MUSEE RAVEL - Ville de Montfort l’Amaury - 26 sept. 2018 - www.youtube.com ( visible à 4:28 )
(https://youtu.be/EhrfNrdMRJY?t=266) ( idem, en anglais )
(https://youtu.be/oFxySK-GePM?t=169) ( à 3:00 )
A tour of Ravel’s house near Paris - BBC Radio 3 - 10 mars 2014 - www.youtube.com ( à 2:22 )
(https://youtu.be/rZ8osF8rTQE?t=89) ( à 1:29 )
(https://youtu.be/9kQp4pzjA-w?t=321) ( à 5:27 )
(https://youtu.be/9kQp4pzjA-w?t=348) ( à 5:50 )
l’électrophone " Rameau " est aperçu sur ce cliché du stand de la Compagnie Française Thomson-Houston, lors de la Foire de Paris du samedi 17 mai au dimanche 1er juin 1930 ( journal " Excelsior " du 1er juin 1930 ) :
le modèle " Rameau " illustrant la publicité " LES MACHINES PARLANTES THOMSON DEVANT LA CRITIQUE MUSICALE ", parue dans l’hebdomadaire " L’Illustration " du 5 novembre 1932, n° 4679 et du 19 novembre 1932, n° 4681 :
dans ce même catalogue " MACHINES PARLANTES THOMSON " de 1932, le pick-up Type G à faible impédance, installé sur un autre bras et sur un autre électrophone, le phonographe électrique " LA VOIX DU MONDE ", proposé par la " SOCIETE DES ETABLISSEMENTS DUCRETET " :
illustrant une publicité parue le samedi 21 janvier 1933 :
(1932)
( ROBERT FALCUCCI (1900-1989) )
(https://www.bonhams.com/auction/29792/lot/82)
le pendant britannique " B.T.H. " de ce pick-up français Thomson-Houston à basse impédance, restauré, monté sur son bras télescopique ( ajustable en longueur, contrairement au modèle français ) :
une double table de lecture équipée du pick-up B.T.H., en 1929 :
(https://www.roger-viollet.fr/image-photo/-1002020)
YG 90723 - BTH (B.T.H.), British Thomson-Houston Co, Ltd. - www.radiomuseum.org
( " B.T.H. (British Thompson Houston). From the very early 1930s, the BTH arm & head combination was justly popular. The armature was commendably small, reducing both resonances and undue record wear. The arm length was adjustable, to suit 10″ or 12″ turntables. It was also available as an ‘add-on’ fitting for a spring-driven gramophone. One criticism is that the head does not turn on the arm, and the arm cannot be lifted very high – needle changing is rather fiddly. Otherwise it’s very good! "
Electric 4 | My Website )
le pick-up B.T.H. basse impédance adaptable sur gramophone acoustique :
BTH D2979 Pick-Up - www.hupse.eu
BTH Magnetisch - www.hupse.eu/radio/reproducers
le pick-up B.T.H. basse impédance, d’aspect légèrement différent, dans une livrée dorée :
BTH Pick-up - www.grammofoon.com
BTH index - www.grammofoon.com
Pick-Up - BTH (B.T.H.), British Thomson-Houston Co, Ltd. - Wireless World Mar 6, 1929, Page 260. worldradiohistory com - www.radiomuseum.org
Automatic Tracking Tone Arm - Cliftophone & Records, Ltd.; London - Wireless Magazine Nov 1928, Page 313. worldradiohistory com - www.radiomuseum.org
un brevet relatif à un bras tangentiel portant ce type de pick-up :
(https://worldwide.espacenet.com/patent/search/publication/GB317305A)
(https://worldwide.espacenet.com/patent/search/publication/FR36875E)
sur cette photo de l’acteur britannique et animateur de radio Desmond Carrington, prise à Ceylan, deux tables de lecture sont aperçues, équipées de l’unité de localisation du sillon " GLU/3 ", initialement prévue pour fonctionner avec la tête British Thomson-Houston, ici modifiée et munie de la nouvelle tête légère H.M.V. " Hyper-Sensitive " et d’un fin bras tangentiel
( plus fin que ceux guidant l’ancienne tête B.T.H., ou la tête légère E.M.I. " Type 12 " sur l’unité de localisation du sillon " GLU/9B " ),
visibles dans un studio de la station locale du " Service de radiodiffusion des forces " ( " Forces Broadcasting Service (FBS) " ), " Radio S.E.A.C. " ( Radio South East Asia Command ), anciennement dénommée " Columbo Radio ", par la suite rebaptisée " Radio Ceylon " :
(https://en.wikipedia.org/wiki/Desmond_Carrington#/media/File:Desmond_Carrington_2.jpg)
Desmond Carrington celebrates 30 years of weekly broadcasts on Radio 2 - 22.09.2011 - Press Office - www.bbc.co.uk
Desmond Carrington obituary - 2017/feb/02 - www.theguardian.com
Desmond Carrington - en.wikipedia.org
Radio SEAC - en.wikipedia.org
British Forces Broadcasting Service - en.wikipedia.org
South East Asia Command - en.wikipedia.org
Titre de l’édition de Ceylan - Sain et sauf (1940) - British Pathé - 13 avr. 2014 - www.youtube.com
Rare Old Ceylon Video Footage Unseen Life British Ruling Period In Sri Lanka Colombo Kandy 1944 1945 - Rasika prabhashan De Silva - 13 oct. 2024 - www.youtube.com
( A Soldier’s Film Journal of Ceylon (Sri Lanka) 1944-1945 - 4 février 2019 - Historic Images of Kandy
A Soldier’s Film Journal of Ceylon (Sri Lanka) 1944-1945 - 15 juillet 2019 - Historic Images of Kandy )
Wartime Radio in Sri Lanka - January 10, 2004 - www.radioheritage.com
Radio Broadcasting in Sri Lanka: After the War - Wednesday, January 09, 2013 - mt-shortwave.blogspot.com
Sri Lanka Broadcasting Corporation - en.wikipedia.org
Radio Ceylon - fr.wikipedia.org
Radio Ceylon — the Sri Lankan channel India turned to when AIR banned film music in 1952 - 29 May, 2022 - theprint.in
Radio SEAC Broadcast from Colombo, Ceylon to UK - 1948 - goonewj - 3 sept. 2012 - www.youtube.com
Tag Archives: Radio SEAC - September 21, 2013 - vernoncorea.wordpress.com
.
deux tables de lecture présentes dans un studio de la BBC, probablement munies de l’unité de localisation du sillon GLU/3, également équipée tardivement de la tête de lecture légère H.MV. " Hyper-Sensitive ", en lieu et place de la tête British Thomson-Houston :
Old BBC Radio Broadcasting Equipment and Memories - Continuity Suites - Introduction by Barry Taylor - The studio of a 1940s Continuity Suite at 200, Oxford Street. - www.orbem.co.uk
une modification similaire effectuée sur une unité de localisation du sillon " GLU/3 ", placée ici sur une double table de lecture " TD/7 ", visible dans un studio provisoire de la BBC pendant les Jeux olympiques de 1948 :
Marconi - BBC Ribbon Microphone - collection.sciencemuseumgroup.org.uk
(https://collection.sciencemuseumgroup.org.uk/objects/co8067248)
(https://collection.sciencemuseumgroup.org.uk/objects/co8405055)
( " Le général de Gaulle au micro de la BBC à Londres, 30 octobre 1941. - © SHD " )
( " Talks producer, author, and journalist Nina Consuela Epton, BBC North American Service, with a BBC-Marconi microphone in a photograph dated September 21, 1951. "
Nina Epton - fr.wikipedia.org )
The British Broadcasting Corporation - Type AX Marconi Ribbon Microphone - www.coutant.org
une double table de lecture " TD/7 " ( non plus de couleur noire, mais visiblement de couleur claire ), apparemment munie de l’unité de localisation du sillon " GLU/3 ", modifiée pour recevoir la tête H.M.V. " Hyper-Sensitive ", est visible en fonctionnement à l’instant 6:37, dans un court documentaire de 1953 :
How BBC News was made: 1950s - Sara Hutchinson - 27 févr. 2017 - 50 BBC NEWS (TV) - Moira Stuart - The BBC Television Newsreel - Edward Halliday - www.youtube.com
sur le cliché ci-dessous, des tables ou doubles tables de lecture de la BBC ( peut-être dans ses studios de Newcastle upon Tyne ), équipées semble-t-il de l’unité de localisation " GLU/3 ", visiblement repeinte de couleur claire et modifiée pour recevoir un autre type de tête de lecture, en remplacement de la tête British Thomson-Houston ou de la tête légère ( à aiguille miniature ) H.M.V. " Hyper-Sensitive " ( similaire à la tête E.M.I " Type 12 " ) ( au premier plan, la journaliste britannique Yvonne Adamson ) :
l’unité " GLU/3 " portant le tête British Thomson-Houston, similaire à la tête française Thomson-Houston " Type T " :
Yvonne Adamson - Voices of the BBC - History of the BBC - www.bbc.com
With Thanks to the Adamson Family - issuu.com
sur l’avant-dernière photo proposée par l’article ci-après, sont visibles une table et deux doubles tables de lecture anciennes de la BBC, peut-être munies du premier pick-up adopté par ses services pendant les années 1930’, semble-t-il de marque britannique " Burndept " ( Birmingham ) :
Beyond London: The North - History of the BBC - www.bbc.com
une double table de lecture, équipée de ce pick-up et de moteurs mécaniques, siglée " His Master’s Voice " dans le couvercle ( le sigle est présent sur la troisième photo ) :
Record Store Day 2016: 9 BBC broadcasts celebrating vinyl and turntables - Wednesday 13th April 2016 - www.bbc.co.uk
90 by 90 The Full Set - 1927: Put the Needle on the Record - Christopher Stone, one of the BBC’s first DJs, introduces gramophone discs with his Time for a Tune programme. - 12 November 2012 - www.bbc.co.uk
Christopher Stone dans le studio 4B de la maison de la radiodiffusion britannique ( Broadcasting House ), à Londres :
https://en.wikipedia.org/wiki/Broadcasting_House
The shot above shows Christopher Stone in 4B in 1933. Stone was the BBC’s first ‹ disc-jockey ›, first broadcasting in July 1927. He had an informal style, contrasting with the more formal BBC presentation of the time. - www.orbem.co.uk
Marconi-Reisz ‹ Marble › Microphone - collection.sciencemuseumgroup.org.uk
(https://collection.sciencemuseumgroup.org.uk/objects/co34709)
(https://collection.sciencemuseumgroup.org.uk/objects/co34997)
(https://coimages.sciencemuseumgroup.org.uk/471/758/large_smg00293081.jpg)
Christopher Stone à l’hôtel The Dorchester de Londres, le jeudi 2 novembre 1933, aux commandes de l’ensemble " The Virtuoso ", une double table de lecture équipée semble-t-il du pick-up Marconi, et peut-être du moteur Garrard 201 (?) :
( un pick-up Marconi restauré de 1932-1933 :
https://www.youtube.com/watch?v=DCHyBbm9Pbc
Marconiphone 1930’s Electromagnetic pickup / tone arm - Martin h - 1 nov. 2021 - " Chatanoogie Shoe-Shine Boy " Donald Peers ( H.M.V records Cat. B.9899 ) - www.youtube.com
https://www.youtube.com/watch?v=W-U33BzAkgo
Marconiphone pickup for Gramophone Circa 1932 33 - Martin h - 12 mars 2023 - " Muskrat Ramble " Yorkshire Jazz Band ( TEMPO records Cat. No. A17 ) - www.youtube.com
un autre type de pick-up Marconi, remarquable et apparu en 1930 selon le commentaire :
https://www.youtube.com/watch?v=ihR82kgM_Q0
Marconi « V » magnet pickup for Gramophone - Martin h - 2 févr. 2022 - " I Ain’t Got Nobody " Lew Stone & His Band ( Regal Zonophone Records Cat. No. MR1561 ) - www.youtube.com )
https://en.wikipedia.org/wiki/Christopher_Stone_(broadcaster)
Christopher Stone (broadcaster) - en.wikipedia.org
.
.
BBC condenser microphone - collection.sciencemuseumgroup.org.uk
( le roi Edward VIII le vendredi 11 décembre 1936 )
.
quelques vues de ce pick-up " Burndept ", dans un document filmé de 1939 :
https://www.youtube.com/watch?v=1S_5gA-wIZk
Londres, alias les professeurs d’une école française, visitent la BBC (1939) - British Pathé - 13 avr. 2014 - www.youtube.com
LONDON (aka FRENCH SCHOOL TEACHERS VISIT BBC) (1939) - www.britishpathe.com
https://www.youtube.com/watch?v=C2RLME0Wy6Y
River Thames Aka French Teachers’ Visit To The Thames Issue Title Is So This Is London (1939) - British Pathé - 13 avr. 2014 - www.youtube.com
Glorious Photos and Films from the Golden Age of BBC Radio - Rob Baker - September 15, 2021 - flashbak.com
Seventh and Sixth Floors - Broadcasting House in the 1930s - www.orbem.co.uk
Burndept needle-armature gramophone pick-up, c. 1930 - collection.sciencemuseumgroup.org.uk
( " BURDEPT / TELSEN. This very advanced ‘needle armature’ pick-up appeared ca. 1930, and was adopted by the BBC. "
Electric 4 | My Website)
ce type élégant de pick-up " Burndept ", restauré :
(https://i.ebayimg.com/images/g/3U0AAOSw4GdnzI7v/s-l1600.webp) ( martinsretrostuff )
https://www.youtube.com/watch?v=qjoBg_1FZow
Burndept Needle armature Pickup Circa 1930 - Martin h - 5 avr. 2025 - " Basin Street Blues " - Bing Crosby, Connee Boswell - www.youtube.com
une version différente de ce pick-up :
( " Burndept Electro-Magnetic Gramophone pickup from 1929, featuring a very high output of 5.8 K Ohms D.C " )
Origins of the Electro-Magnetic Pickup - www.herrickpickups.com ( Martin h / Martin Herrick / HERRICK PICKUPS / martinsretrostuff ) )
.
.
Le tourne-disques La Voix de son maître Type 253 B, dont le plateau est entraîné par galet, avec un troisième type de moteur :
(https://forum.retrotechnique.org/uploads/default/original/3X/0/1/0121d9c01b2b853d7c843742d50c6b5799f4f4e9.jpeg)
(https://forum.retrotechnique.org/uploads/default/original/3X/d/1/d10e6b5fc1ad920673cfc448d83bd2e57eab87ca.jpeg)
Platine 78 tours Voix de son Maitre déc. 2020 - forum.retrotechnique.org
(https://www.doctsf.com/la-voix-de-son-maitre-253b_i17470M1)
https://www.doctsf.com/la-voix-de-son-maitre-253b/f17470/
Le tourne-disques La Voix de son maître Type 259 U :
https://www.doctsf.com/la-voix-de-son-maitre-259-u/f17471/
L’appareil enregistreur et reproducteur sur fil La Voix de son maître Type E.R. 51 :
Modèle FR : 41959-008 - Enregistreur sur fil - Date de dépôt 22/09/1950 - Date de publication 20/10/1950 - data.inpi.fr
(https://img.leboncoin.fr/api/v1/lbcpb1/images/56/fc/b6/56fcb6a580bef5a857d37e3ed07b67bdc68f011c.jpg?rule=ad-large)
LA VOIX DE SON MAITRE ER51 - Lot 164 08 juillet 2021 - L’huillier & Associés - www.lhuillierparis.com
Le bras de pick-up léger " La Voix de son maître " enfichable / démontable :
(https://forum.retrotechnique.org/uploads/default/original/3X/4/6/461cd3e2023412ed13da8fdd6567d8db2fb72602.jpeg)
(https://forum.retrotechnique.org/uploads/default/original/3X/b/8/b805f0cfb259a57f4bef0e64c9f937d29af70545.jpeg)
(https://forum.retrotechnique.org/uploads/default/original/4X/1/0/1/101a088c3248a4ba814f354f1c72e0b95cbc3b8d.jpeg)
Modèles/marques Magnétophone à fil ER 51 La Voix de son Maître 09 sept. 2022 - forum.retrotechnique.org
(https://forum.retrotechnique.org/uploads/default/original/3X/2/5/252b7385ef6bbb80a096393f945302aa18343e9b.jpeg)
LA VOIX DE SON MAITRE Appareil Enregistreur Dealer Folder (France ca. 1950)_3 - www.flickr.com
LA VOIX DE SON MAITRE Appareil Enregistreur Dealer Folder (France ca. 1950)_1 - www.flickr.com
Modèle La Voix de Son Maître - E.R. 51 - www.doctsf.com
Un dépliant La Voix de son maître saison 1950 :
https://archives.doctsf.com/documents/feuilleter_document.php?num_doc=42#lg=1&slide=0
https://archives.doctsf.com/documents/feuilleter_document.php?num_doc=42
Un catalogue La Voix de son maître saison 1951 :
Catalogue La Voix de son Maître 1951 - archives.doctsf.com
Le changeur de disques C.D. 12 ( 1949 ), fonctionnant également avec les aiguilles miniatures :
Modèle FR : 40086-001 - Changeur de disque - Date de dépôt 05/10/1949 - data.inpi.fr
(ebay)
Un article du mardi 1er avril 1958, sur l’usine Pathé-Marconi de Chatou :
https://archives.doctsf.com/documents/feuilleter_document.php?num_doc=37906
Les aiguilles très fines et courtes, miniatures, destinées à ce type de tête de lecture " La Voix de son maître " ( E.M.I. Type 12 ), équipaient peut-être également les petites têtes de lecture à aiguille " Pierre Clément ", notamment utilisées après-guerre par les services de la Radiodiffusion-télévision française ( R.T.F. 1949 - 1964 ),
ou présentes sur certaines tables de gravure ( de disque ) de marque " Carobronze / DUAL / Poltz frères ", ainsi que sur la platine tourne-disques à trois vitesses Pierre Clément H3, munie du pick-up L4b ( à aiguille, et permettant de lire les nouveaux microsillons à l’aide d’une aiguille saphir adaptée ).
Parmi les fabricants d’aiguilles miniatures, le suisse " Laubscher " en proposait dans sa gamme, sous forme de sachets de 50 pièces ( " Laubscher 50 Aiguilles Pick-up léger 0,9 x 10 mm FLEXIBLE " ) :
D’autres marques, du groupe britannique E.M.I. ( Marconiphone - His Master’s Voice - Columbia ), proposaient des aiguilles fines et courtes, miniatures, de longue durée :
MARCONIPHONE MINIATURE NEEDLES DESIGNED FOR USE WITH LIGHWEIGHT PICK-UPS - PACKET OF TEN
(https://www.vintage-radio.net/forum/attachment.php?attachmentid=249111&d=1641464853)
(https://www.vintage-radio.net/forum/attachment.php?attachmentid=249112&d=1641464853)
(https://www.vintage-radio.net/forum/attachment.php?attachmentid=249113&d=1641464853)
" His Master’s Voice " SILENT STYLUS for use with " His Master’s Voice " Hyper-Sensitive Pick-up - PACKET OF TEN
(https://www.vintage-radio.net/forum/attachment.php?attachmentid=249109&d=1641464102)
His Master’s Voice Silent Stylus Needles are for use solely with Hyper-Sensitive Pick-ups, incorporated in certain of His Master’s Voice instruments. Each needle will play approximately 100 sides of Records without deterioration. MADE IN GREAT BRITAIN.
(https://www.vintage-radio.net/forum/attachment.php?attachmentid=249110&d=1641464102)
(https://forum.talkingmachine.info/download/file.php?id=160707&sid=9b14ac644f0936f8f7da2ceaeb69df64&mode=view)
(https://media.karousell.com/media/photos/products/2024/6/10/hmv__his_masters_voice_silent__1718015999_b80a8e19_progressive)
Columbia NEEDLES " 99 " NEEDLES - PACKET OF TEN
(https://www.vintage-radio.net/forum/attachment.php?attachmentid=249103&d=1641462059)
Columbia 99 Needles are for use solely with light-weight pick-ups. Each needle will play approximately 100 sides of Records without deterioration.
(https://www.vintage-radio.net/forum/showpost.php?p=281650&postcount=13)
(https://forum.talkingmachine.info/download/file.php?id=168376&sid=9b14ac644f0936f8f7da2ceaeb69df64&mode=view)
.
Les aiguilles miniatures fabriquées à partir d’épines, vendues par 10, " His Master’s Voice MINIATURE THORN NEEDLES PACKET OF TEN " ( visibles en haut de la photo ) :
(https://thumbs.worthpoint.com/zoom/images1/360/0912/11/x-hmv-needle-packets-miniture-thorn_360_45b7d07c90aa3be222bf4d4fac6e79ee.jpg)
3 x HMV Needle Packets (Miniture.Thorn-Sample Loud Tone -HMV Silent Stylus - www.worthpoint.com
Thorn Miniature Needles are designed for use with Lightweight Pickups. They should be re-sharpened after approximately tem playings with the " His Master’s Voice " Thorn Needle Sharpener. MINIATURE THORN NEEDLES PACKET OF TEN
HMV unused thorn needles gramophone phonograph - www.worthpoint.com
What are these needles used for please, new to gramophones icône - r/Gramophones - chazzanator5000 - www.reddit.com
L’aiguisoir ( l’appointeur, l’affûtoir ) proposé par la marque H.M.V., pour retailler ( tailler en pointe, appointer, appointir, affûter, aiguiser ( la pointe ?, en pointe ? ), ( repointer ? ) ) ses aiguilles d’épine miniatures :
VINTAGE HIS MASTER’S VOICE HMV THORN NEEDLE SHARPENER- BOXED+THORN NEEDLES - www.worthpoint.com
Le modèle commercialisé par la marque britannique " Columbia " :
BOXED COLUMBIA THORN GRAMOPHONE NEEDLE SHARPENER WITH INSTRUCTIONS - www.worthpoint.com
Juste une précision en ce qui concerne la marque SUPER-VOXIA d’Horace HURM.
Dans les années 1930 avec l’arrivée du courant sur le secteur, Horace HURM, dépassé, avait jeté l’éponge comme beaucoup de petits constructeurs TSF de cette époque et avait laissé, à son ingénieur DUPRAT la « Maison » HURM pour la construction des récepteurs de Radio.
De ce fait, Horace HURM s’est consacré totalement à la fabrication des aiguilles en bambou sur son tour Loch et consacré à la recherche sur le graveur « VOXIA ».
Horace Hurm considérait que les aiguilles, en acier, martyrisaient les disques, et que le son était mieux restitué au travers d’une aiguille en bambou.
Concertiste et Professeur de Hautbois il était (peut-être) mieux placé pour apprécier ce genre de chose.
Horace Hurm avait un autre atout, son fils Albert qui était Ingénieur Chimiste à Saïgon.
De ce fait c’est son fils qui lui expédiait, depuis Saïgon, la matière première du bambou traité chimiquement en étuve.
Pour ma part je ne sais pas si vraiment ces aiguilles en bambou étaient mieux que les autres !!!
Doctsf (Modèles & Marques)
Annonces 




















































































































































































































































































































































































































































































































































































